GM Service Manual Online
For 1990-2009 cars only
Makes
🢒
Chevrolet
🢒
2001
🢒
Blazer - 4WD - RHD
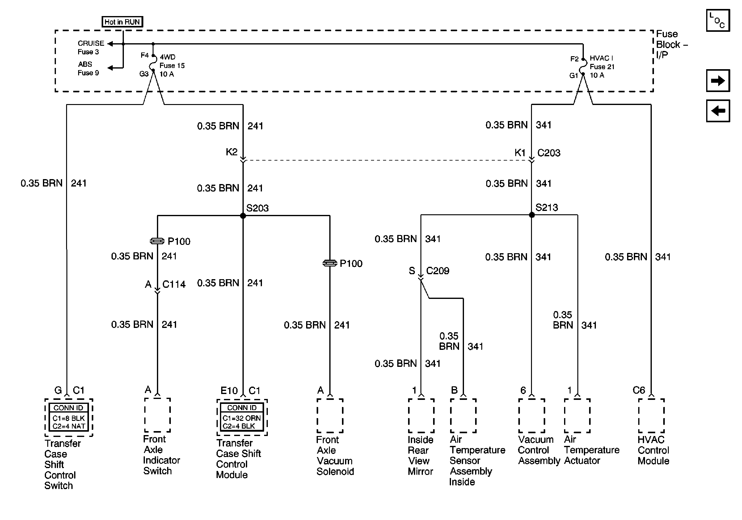
🢒 4WD and HVAC I Fuses
4WD and HVAC I Fuses
4WD and HVAC I Fuses
Master Electrical Component List
RDO IGN, FRT WPR, RR WIPER, ABS and CRUISE Fuses
Power Seats and Power Window Circuit Breakers
RDO IGN, FRT WPR, RR WIPER, ABS and CRUISE Fuses