GM Service Manual Online
For 1990-2009 cars only
Makes
🢒
Chevrolet
🢒
2001
🢒
Blazer - 4WD - RHD
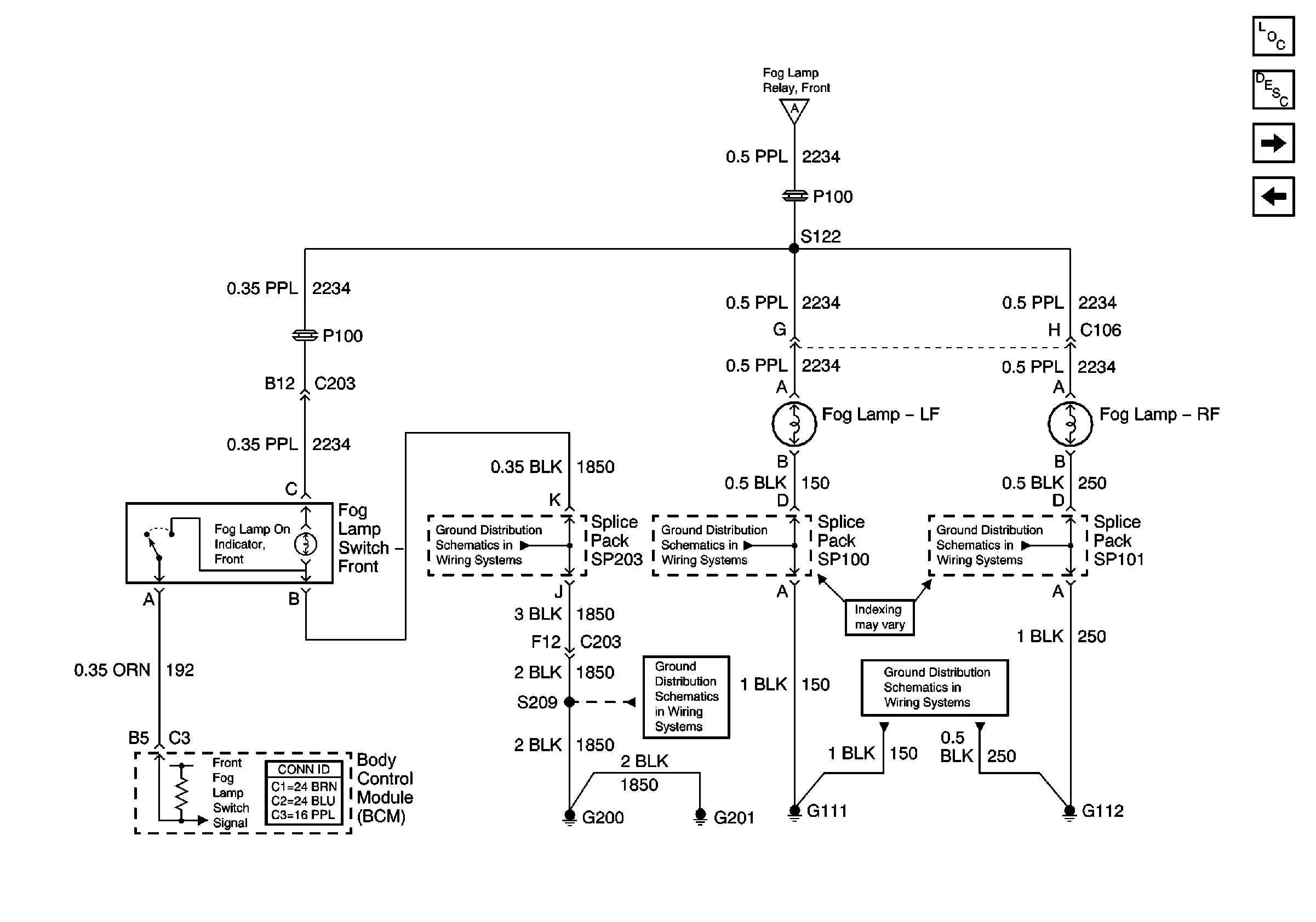
🢒 Fog Lamps - LF/RF, and Fog Lamp Switch - Front
Fog Lamps - LF/RF, and Fog Lamp Switch - Front
Fog Lamps -- LF/RF, and Fog Lamp Switch -- Front
Master Electrical Component List
Exterior Lighting Systems Description and Operation
Fog Lamp Relay, Rear
Fog Lamp Relay, Front
Fog Lamp Relay, Front
SP203
G111 and G112
G111 and G112
G200 and G201
G111 and G112