GM Service Manual Online
For 1990-2009 cars only

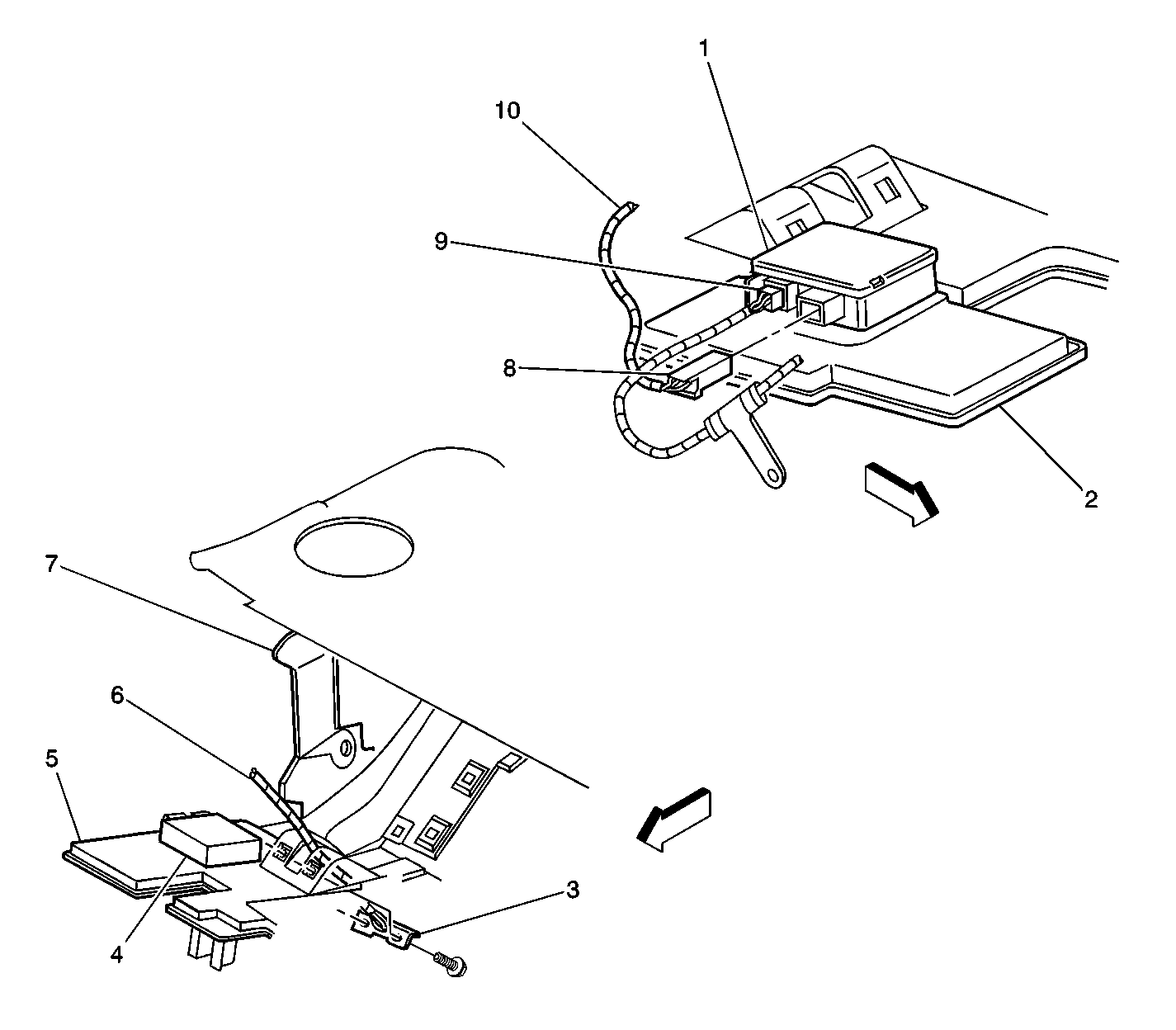
Remote Control Door Lock Receiver (RCDLR)


Object Number: 612088  Size: LF
(1)Remote Control Door Lock Receiver (RCDLR) - Japan
(2)Instrument Panel (I/P) Sound Insulator - RH
(3)Data Link Connector (DLC)
(4)Remote Control Door Lock Receiver (RCDLR) - UK/S. Africa
(5)I/P Sound Insulator - LH
(6)Body Harness
(7)I/P Retainer
(8)Remote Control Door Lock Receiver (RCDLR) Connector
(9)Antenna Connector - Japan Only
(10)Body Harness