GM Service Manual Online
For 1990-2009 cars only
Makes
🢒
Chevrolet
🢒
2003
🢒
Blazer - 4WD - RHD
🢒
Steering
🢒
Steering Wheel and Column
🢒 Column/Ignition Lock Schematics
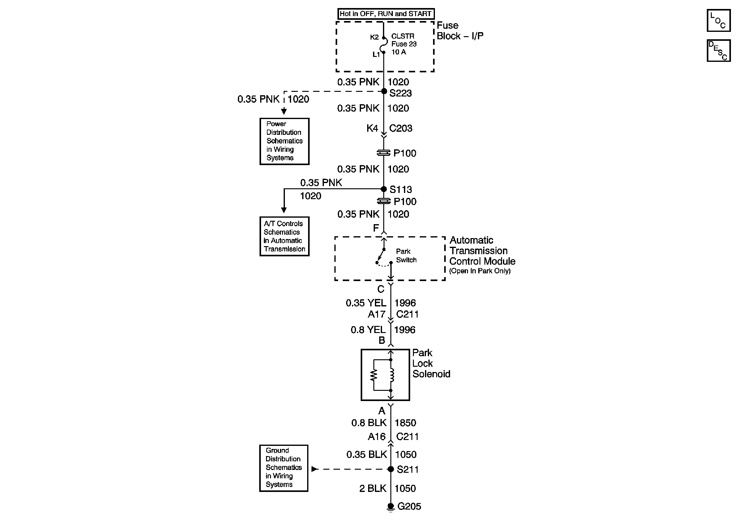
Master Electrical Component List
G202, G203 and G301
G201
TCC SOL, TCC PWM SOL, 3-2 SS, 2-3 SS and 1-2 SS Valves
G203 and G205