GM Service Manual Online
For 1990-2009 cars only
Makes
🢒
Chevrolet
🢒
2003
🢒
Blazer - 4WD - RHD
🢒
Body and Accessories
🢒
Wiring Systems
🢒 Antilock Brake System Schematics
Figure
1:
EBCM Power and Ground
Master Electrical Component List
ABS Description and Operation
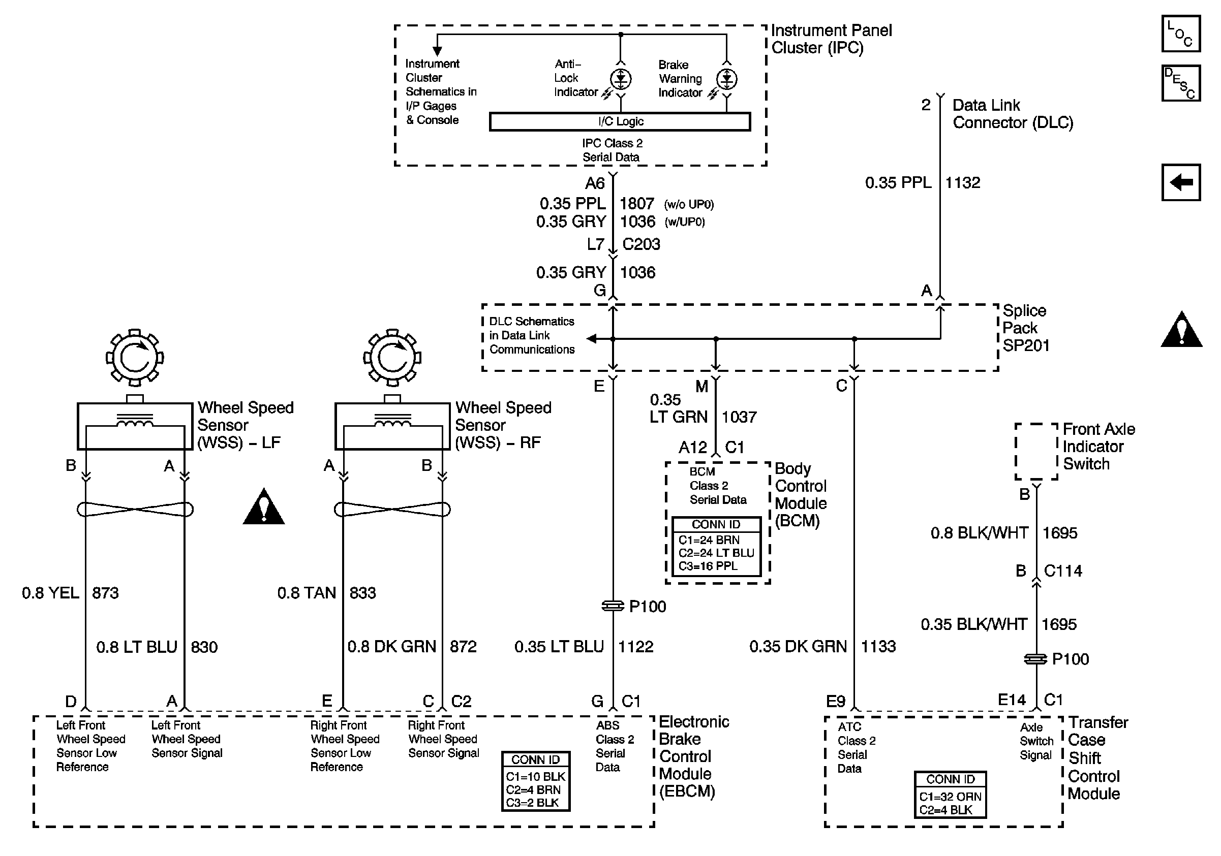
DLC and Wheel Speed Sensors
Ign RUN and START Bus Bar
S/T RHD Manual Transmission Schematics
Cruise Control Schematics
TCC SOL, TCC PWM SOL, 3-2 SS, 2-3 SS and 1-2 SS Valves
Cruise Control Schematics
G103 and G105
Ign RUN and START Bus Bar
Figure
2:
DLC and Wheel Speed Sensors
Master Electrical Component List
ABS Description and Operation
EBCM Power and Ground
Antilock Brake System Schematic Icons
Antilock Brake System Schematic Icons
Data Link Connector (DLC), PCM and Engine Oil Pressure Gauge Sensor
Splice Pack SP201 and Modules