GM Service Manual Online
For 1990-2009 cars only
Figure 1:

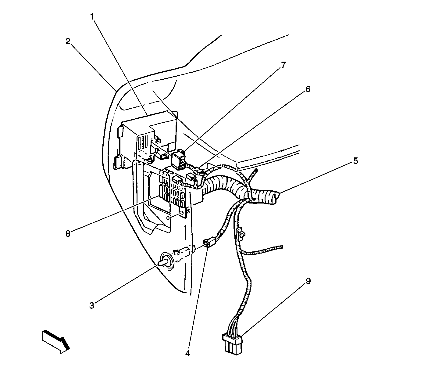
Instrument Panel, RH


Object Number: 406300  Size: LF
(1)I/P Dimmer Switch
(2)Instrument Panel
(3)Door Jamb Switch - Driver
(4)Door Jamb Switch - Driver Connector
(5)S230
(6)Fuse Block - I/P
(7)I/P Dimmer Switch Connector
(8)Fuse Block - I/P Access Panel
(9)C217
Figure 2:

Body Control Module Locator View


Object Number: 608789  Size: LF
(1)Heater
(2)Body Control Module (BCM) Connector C1
(3)Body Harness
(4)Body Control Module (BCM) Connector C2
(5)IP Harness
(6)Body Control Module (BCM) Connector C3
(7)Body Control Module (BCM)
Figure 3:

Door Harness - RF Shown, LF Opposite


Object Number: 608788  Size: LF
(1)Outside Rearview Power Folding Mirror Switch Connector
(2)S603 - RH, S502 - LH
(3)S604 - RH
(4)Door Lock Cylinder Switch - Driver Connector
(5)Door Handle Switch - Right Connector
(6)Door Lock Actuator - Driver Connector
(7)Window Motor - Driver Connector C1
(8)Window Motor - Driver Connector C2
(9)Speaker - RF Door Connector
(10)S600 - RH
(11)S602 - RH
(12)P600 - RH, P500 - LH
(13)C610 - RH
(14)C601 - RH, C501 - LH
(15)Outside Rearview Mirror Connector - RH
(16)S601 - RH, S501- LH
Figure 4:

Rear Door Wiring Harness (RH Shown, LH Opposite) - Door Jamb Switch


Object Number: 357306  Size: LF
(1)Door Jamb Switch - RR, LR Opposite
(2)Door
Figure 5:

Relay Block - Body


Object Number: 612384  Size: LF
(1)Park Lamp Relay
(2)Courtesy Lamp Relay
(3)Retained Accessory Power (RAP) Relay
(4)Power Seats Circuit Breaker
(5)Power Windows Circuit Breaker
(6)Inadvertent Power Relay
(7)Door Lock Relay
(8)Fog Lamp Relay - Front
(9)Door Unlock Relay - Driver
(10)Door Unlock Relay
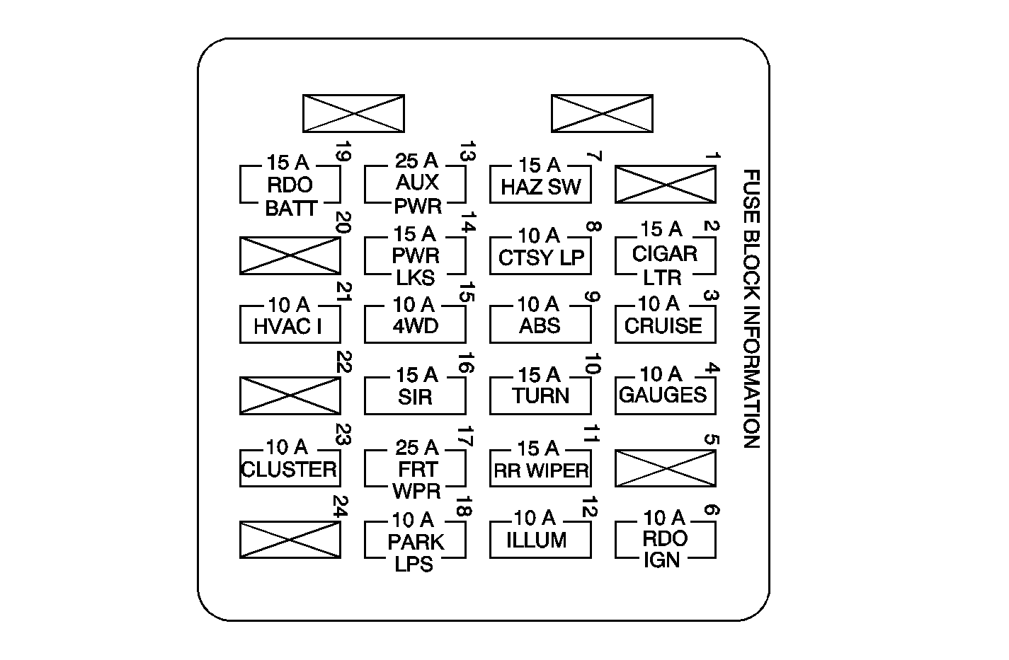
Figure 6:

Fuse Block -- I/P, Label


Object Number: 794560  Size: MF
Figure 7:

Fuse Block - Underhood (Label)


Object Number: 669174  Size: MF
Figure 8:

REAR FOG LP Relay


Object Number: 397098  Size: LF
Figure 9:

HORN Relay


Object Number: 397094  Size: LF
Figure 10:

HDLP PWR Relay


Object Number: 397100  Size: LF
Figure 11:

LIFT GLASS Relay


Object Number: 397101  Size: LF