GM Service Manual Online
For 1990-2009 cars only
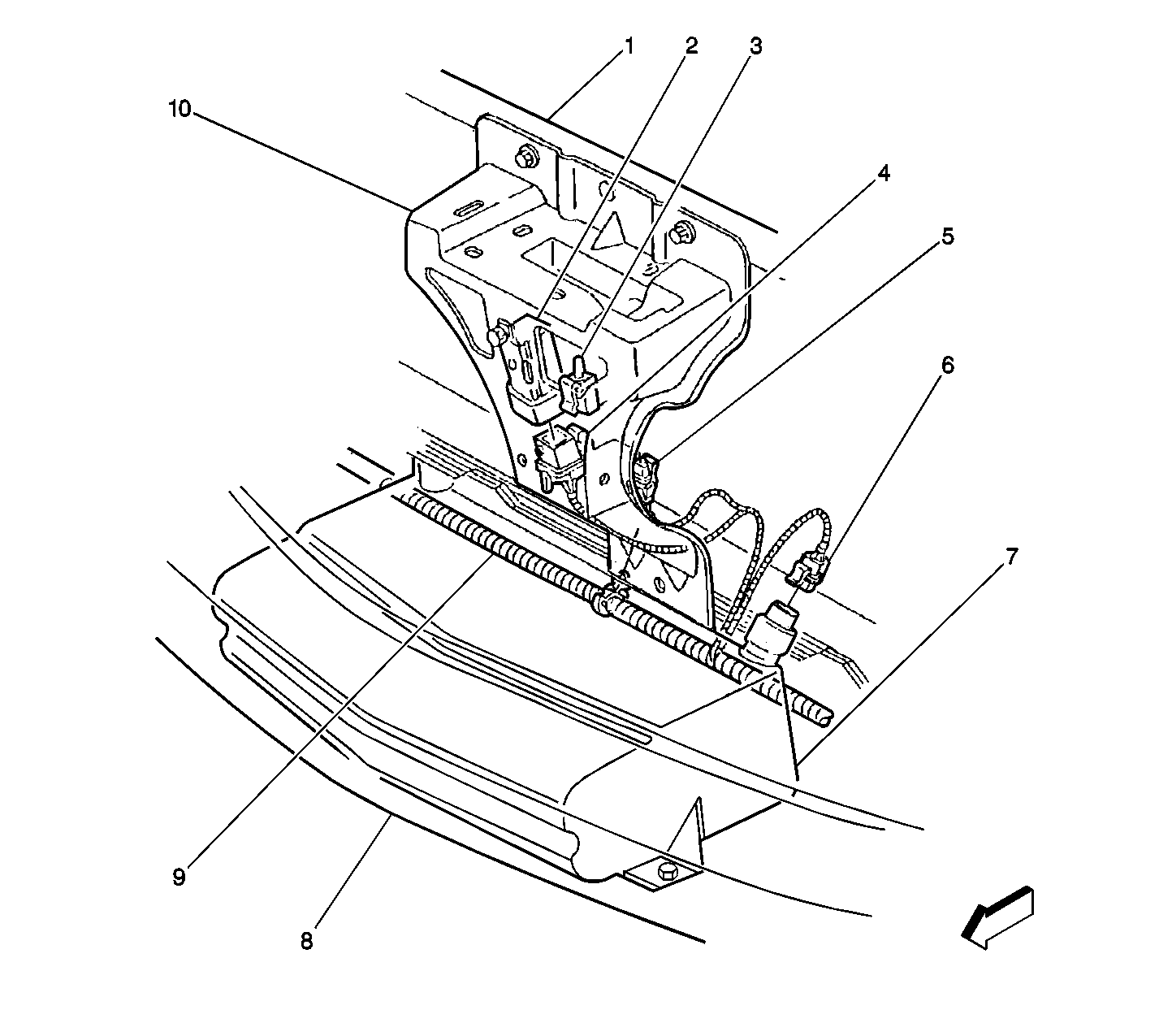
Figure 1:

Ambient Air Temperature Sensor (DIC)


Object Number: 406305  Size: LF
(1)Radiator Support
(2)Headlamp Washer Fluid Pump Relay
(3)Ambient Air Temperature Sensor (DIC)
(4)Headlamp Washer Fluid Pump Relay Connector
(5)Air Temperature Sensor (DIC) Connector
(6) Headlamp Washer Fluid Pump Connector
(7)Headlamp Washer Fluid Reservoir
(8)Front Bumper
(9)Forward Lamps Wiring Harness
(10)Hood Latch Support
Figure 2:

I/P Wiring Harness Composite View


Object Number: 785376  Size: LF
(1)Remote Control Door Lock Receiver (RCDLR) Connector
(2)Hazard Switch Connector
(3)Transfer Case Shift Control Switch Connectors  C2 and  C1
(4)Air Temperature Sensor - Upper
(5)Radio Connector
(6)HVAC Control Module Connector
(7)Speaker - LF Connector
(8)Ambient Light Sensor Connector
(9)I/P Compartment Lamp
(10)Inflatable Restraint I/P Module
(11)Instrument Panel
(12)S227
(13)C203
(14)C200
(15)Courtesy Lamp - Left Console
(16)C223
(17)S208, S272, S273, S274, S275, S287, S288
(18)SP203
(19)C224
(20)S283
(21)S205, S224, S225, S226
(22)Body Control Module Connector  C3
(23)Sunload Sensor Connector
(24)Courtesy Lamp - Right Console
(25)C217
(26)S230
(27)Door Jamb Switch - Driver
(28)Fuse Block - I/P
(29)Speaker - RF Connector
(30)I/P Dimmer Switch Connector
(31)Fog Lamp Switch - Rear
(32)Instrument Panel Cluster (IPC) Connector
(33)S223
Figure 3:

Camshaft Position (CMP) Sensor, Knock Sensor (KS), and Engine Oil Pressure (EOP) Switch


Object Number: 212680  Size: MF
(1)Camshaft Position (CMP) Sensor
(2)Engine Oil Pressure (EOP) Sensor
(3)Knock Sensor (KS)