GM Service Manual Online
For 1990-2009 cars only
Makes
🢒
Chevrolet
🢒
2003
🢒
Blazer - 4WD - RHD
🢒
Body and Accessories
🢒
Doors
🢒 Power Door Systems Component Views
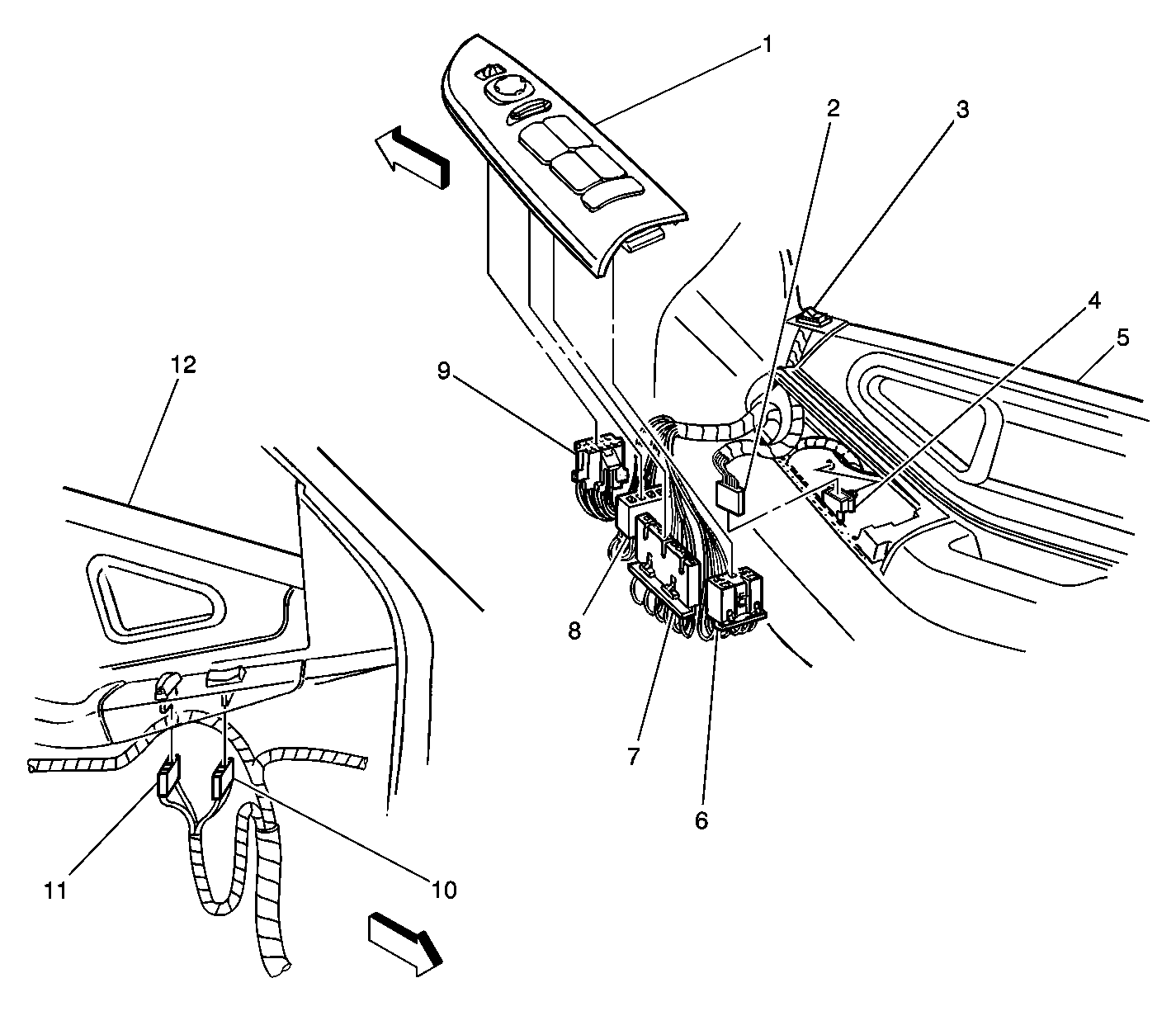
Figure
1:
Door Switches-Front
(1)
Switch Plate
(2)
Outside Rearview Power Folding Mirror Switch Connector
(3)
Outside Rearview Power Folding Mirror Switch
(4)
Outside Rearview Power Folding Mirror Switch Connector
(5)
Door, RH
(6)
Door Lock and Window Switch - Driver Connector C2
(7)
Door Lock and Window Switch - Driver Connector C1
(8)
Window Lockout Switch Connector
(9)
Outside Rearview Mirror Switch Connector
(10)
Door Lock and Window Switch - Front Passenger Connector C1
(11)
Door Lock and Window Switch - Front Passenger Connector C2
(12)
Door, LH
Figure
2:
Door Harness - RF Shown, LF Opposite
(1)
Outside Rearview Power Folding Mirror Switch Connector
(2)
S603 - RH, S502 - LH
(3)
S604 - RH
(4)
Door Lock Cylinder Switch - Driver Connector
(5)
Door Handle Switch - Right Connector
(6)
Door Lock Actuator - Driver Connector
(7)
Window Motor - Driver Connector C1
(8)
Window Motor - Driver Connector C2
(9)
Speaker - RF Door Connector
(10)
S600 - RH
(11)
S602 - RH
(12)
P600 - RH, P500 - LH
(13)
C610 - RH
(14)
C601 - RH, C501 - LH
(15)
Outside Rearview Mirror Connector - Driver
(16)
S601 - RH, S501 - LH
Figure
3:
Outside Rearview Mirror
(1)
P501 - LH, P601 - RH
(2)
Outside Rearview Mirror - Passenger, Driver Similar
(3)
Outside Rearview Mirror Connector - Passenger, Driver Similar
Figure
4:
Rear Door Wiring Harness - RH Shown, LH Opposite
(1)
Door
(2)
Door Lock Actuator - RR
(3)
Window Switch - RR
(4)
Speaker - RR Door, LR Similar
(5)
Window Motor - RR, LR Similar
(6)
C306 - RH or C304 - LH
(7)
C307 - RH or C305 - LH
(8)
P800 - RH or P700 - LH
(9)
Window Switch Connector - RR, LR Similar