GM Service Manual Online
For 1990-2009 cars only

CONVERTIBLE TOP WATERLEAKAT LOWER SIDE OF REAR BACKGLASS

SUBJECT: CONVERTIBLE TOP WATERLEAK AT LOWER SIDE OF REAR BACKGLASS (REPOSITION AND STAPLE VALANCE MATERIAL)

MODELS: 1994-96 CHEVROLET CAMARO 1994-96 PONTIAC FIREBIRD CONVERTIBLES ONLY

CONDITION:

SOME OWNERS MAY COMMENT THAT WATER IS ENTERING THE VEHICLE AT THE LOWER SIDES OF THE CONVERTIBLE TOP REAR BACKGLASS AND DRIPPING ONTO THE REAR CARPET. THIS CONDITION MOST OFTEN OCCURS DURING HEAVY RAIN OR IN CAR WASHES.

CAUSE:

THIS CONDITION MAY BE DUE TO THE CONVERTIBLE TOP COVER MATERIAL BEING PULLED TOO TIGHTLY BETWEEN THE #4 BOW AND THE #5 BOW. WHEN PULLED TOO TIGHTLY, THE VALANCE MATERIAL DIRECTLY BELOW AND TO THE SIDES OF THE REAR BACKGLASS WILL SAG IN THE AREAS SHOWN IN FIGURE 1. THIS SAG CONDITION ALLOWS EXCESS WATER TO ACCUMULATE AND EVENTUALLY LEAK INTO THE VEHICLE.

CORRECTION:

TO CORRECT THIS CONDITION, IT IS NECESSARY TO UNFASTEN THE CONVERTIBLE TOP #5 BOW FROM THE BODY, REMOVE THE STAPLES ATTACHING THE TOP COVER AND VALANCE MATERIAL TO THE #5 BOW AND REPOSITION THE VALANCE MATERIAL AS REQUIRED USING THE FOLLOWING PROCEDURE. SEE FIGURE 2 FOR CONVERTIBLE TOP "BOW" IDENTIFICATION.

IMPORTANT: THIS PROCEDURE REQUIRES THE USE OF AN UPHOLSTERY TYPE OR AUTOMOTIVE TRIM STAPLER BY A TECHNICIAN KNOWLEDGEABLE IN REPLACEMENT OF CONVERTIBLE TOP COVER MATERIAL. IF YOU INTEND TO SUBLET VEHICLES REQUIRING THIS REPAIR TO AN INDEPENDENT AUTOMOTIVE TRIM SHOP, PLEASE SUPPLY THEM WITH A COPY OF THIS SERVICE BULLETIN.

PROCEDURE:

1. RECORD RADIO STATION PRESETS.

2. DISCONNECT NEGATIVE BATTERY CABLE.

3. RELEASE BOTH LEFT AND RIGHT FRONT LATCHES AT THE TOP OF THE WINDSHIELD.

4. MANUALLY OPEN (LOWER) THE TOP TO ABOUT SIX INCHES ABOVE THE WINDSHIELD FRAME TO RELIEVE TENSION ON THE FOLDING TOP MATERIAL. IF NECESSARY, SUPPORT THE TOP WITH A BLOCK OF WOOD.

5. RAISE THE REAR COMPARTMENT DECK LID.

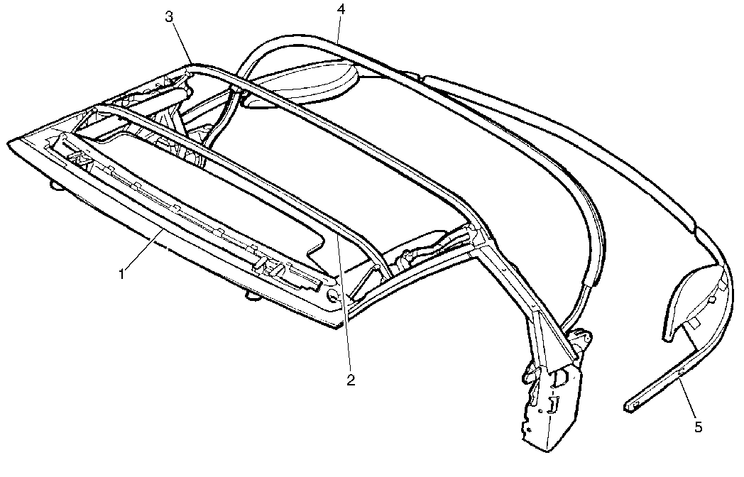
6. REMOVE THE REAR WINDOW DRAIN PANEL GARNISH MOLDING RETAINERS AND REMOVE BOTH THE LEFT AND RIGHT MOLDINGS AS SHOWN IN FIGURE 3.

7. FROM INSIDE THE VEHICLE, REMOVE THE ELASTIC TENSION STRAP RETAINING SCREW FROM THE #5 BOW ON BOTH THE LEFT AND RIGHT SIDE OF THE VEHICLE AS SHOWN IN FIGURE 4.

8. REMOVE THE RETAINING NUTS FROM THE NUMBER FIVE BOW MOUNTING STUDS. FOR ACCESS TO THE CENTER RETAINING NUTS, SLIGHTLY PULL DOWN THE REAR WINDOW DRAIN PANEL CENTER GARNISH MOLDING.

9. CAREFULLY APPLY SEVERAL LAYERS OF MASKING TAPE, TWO INCHES WIDE, ALONG THE TOPS OF BOTH 1/4 PANELS.

10. LOWER THE REAR COMPARTMENT DECK LID.

11. PLACE PROTECTIVE COVERING (FENDER COVERS) OVER THE REAR COMPARTMENT LID AND 1/4 PANELS.

12. FOLD (RAISE) THE LOWER SECTION OF THE TOP UP AND ABOVE THE BODY.

13. PLACE A PIECE OF MASKING TAPE ON THE VALANCE MATERIAL AS SHOWN IN FIGURE 5 TO REFERENCE THE CURRENT POSITIONING OF THE VALANCE MATERIAL ON THE #5 BOW. ONCE THE STAPLES HAVE BEEN REMOVED FROM THE MATERIAL, THIS REFERENCE MARK WILL ASSIST IN PROPERLY POSITIONING THE MATERIAL PRIOR TO RESTAPLING.

14. PLACE A PIECE OF MASKING TAPE ON THE SAIL PANEL TOP COVER AS SHOWN IN FIGURE 5 TO REFERENCE THE CURRENT POSITIONING OF THE SAIL PANEL TOP COVER TO THE #5 BOW. THIS REFERENCE MARK WILL BE USED LATER FOR LOCATING THE TOP COVER MATERIAL BACK TO ITS ORIGINAL POSITION.

IMPORTANT: WHEN REMOVING THE STAPLES, NOTE THE NUMBER OF STAPLES REMOVED AND THEIR LOCATIONS IN THE #5 BOW. IN ADDITION, YOU SHOULD NOTE THAT THERE ARE TWO DIFFERENT LENGTH STAPLES USED. STAPLES THAT ONLY GO THROUGH ONE LAYER OF MATERIAL ARE 3/8 INCH LONG, AND THOSE GOING THROUGH TWO LAYERS ARE 1/2 INCH LONG. BE SURE TO USE THE CORRECT LENGTH STAPLES AT THE DIFFERENT LOCATIONS WHEN REATTACHING THE MATERIAL TO THE #5 BOW. USING AN INCORRECT LENGTH STAPLE AT A LOCATION MAY CAUSE THE MATERIAL NOT TO REMAIN SECURED.

15. IF REPAIRING THE RIGHT SIDE, REMOVE ALL THE STAPLES BETWEEN THE EDGE OF THE SAIL PANEL TO COVER AND THE NUMBER 10 FASTENER HOLE ON THE #5 BOW. IF REPAIRING THE LEFT SIDE, REMOVE ALL THE STAPLES BETWEEN THE EDGE OF THE SAIL PANEL TOP COVER AND THE NUMBER 11 FASTENER HOLE ON THE #5 BOW. SEE FIGURES 5 AND 7.

16. ON THE SIDE BEING REPAIRED, REMOVE ALL THE STAPLES THAT RETAIN THE REAR WINDOW VALANCE MATERIAL TO THE FIVE BOW FROM THE OUTBOARD EDGE OF THE VALANCE TO THE NUMBER 1 FASTENER HOLE IN THE #5 BOW.

IMPORTANT: IF REPAIRING BOTH SIDES, REMOVE ALL THE STAPLES ATTACHING THE VALANCE MATERIAL TO THE #5 BOW.

17. AFTER THE NECESSARY STAPLES HAVE BEEN REMOVED, REPOSITION THE VALANCE MATERIAL ON THE #5 BOW USING THE MASKING TAPE REFERENCE MARK ON THE VALANCE AS A STARTING POINT. SEE FIGURE 5. PULL THE VALANCE MATERIAL TIGHTER IN THE DIRECTION SHOWN. BEFORE ATTACHING WITH STAPLES, VERIFY THAT THERE ARE NO WRINKLES IN THE VALANCE MATERIAL.

IMPORTANT: THE AMOUNT OF MATERIAL ADJUSTMENT OR MOVEMENT SHOWN IN FIGURE 6 SHOULD ONLY BE USED AS AN EXAMPLE. THE AMOUNT OF ADJUSTMENT REQUIRED TO CORRECT THE CONDITION WILL VARY FROM SIDE TO SIDE AND FROM VEHICLE TO VEHICLE.

18. ATTACH THE VALANCE MATERIAL TO THE #5 BOW WITH NEW 3/8 INCH LONG STAPLES AT ALL LOCATIONS. BEGIN INSTALLING THE STAPLES AT THE CENTER OF THE VALANCE AND WORK YOUR WAY OUTWARD.

19. AFTER THE VALANCE MATERIAL HAS BEEN SECURED, BEGIN ATTACHING THE SAIL PANEL TOP COVER TO THE #5 BOW WITH NEW STAPLES. THE SAIL PANEL TOP COVER SHOULD BE REATTACHED TO THE #5 BOW AT THE SAME LOCATION IN WHICH IT WAS REMOVED. DO NOT PULL THE COVER TIGHTER. BEGIN SECURING THE COVER AT THE MOST OUTBOARD LOCATION FIRST AND WORK YOUR WAY INWARD TOWARDS THE VALANCE MATERIAL. BE SURE TO INSTALL THE STAPLES IN THE SAME LOCATION IN WHICH THEY WERE REMOVED. STAPLES GOING THROUGH ONLY THE SAIL PANEL TOP COVER (ONE LAYER) SHOULD BE 3/8 INCH LONG, WHILE STAPLES GOING THROUGH BOTH THE SAIL PANEL TOP COVER AND THE VALANCE MATERIAL (TWO LAYERS) SHOULD BE 1/2 INCH LONG.

20. LOWER THE FIVE BOW ASSEMBLY INTO THE BODY OPENING AND POSITION ON THE MOUNTING STUDS.

21. INSTALL THE FIVE BOW RETAINING NUTS ON THE STUDS AND TIGHTEN TO 13 N.M (115 LB IN) USING THE SEQUENCE SHOWN IN FIGURE 7.

22. INSTALL SCREWS CONNECTING HEADLINING TRIM FINISH PANEL ELASTIC TENSION STRAPS TO THE NUMBER FIVE BOW AS SHOWN IN FIGURE 4.

23. INSTALL THE REAR WINDOW LEFT AND RIGHT DRAIN PANEL GARNISH MOLDINGS AND SECURE WITH RETAINERS AS SHOWN IN FIGURE 3.

24. MANUALLY CLOSE (RAISE) THE TOP UNTIL IT CAN BE LATCHED AT THE TOP OF THE WINDSHIELD.

25. SECURE BOTH FRONT LATCHES AT WINDSHIELD.

26. VERIFY THAT NO SAG CONDITION EXISTS IN THE MATERIAL AT EITHER SIDE OF THE REAR BACKGLASS AS SHOWN IN FIGURE 8.

27. CONNECT NEGATIVE BATTERY CABLE.

28. REPROGRAM RADIO PRESETS AND SET CLOCK.

29. WATER LEAK TEST.

IMPORTANT: IF THE FOLDING CONVERTIBLE TOP APPEARS SOMEWHAT DIFFICULT TO LATCH AT THE TOP OF THE WINDSHIELD, THE VEHICLE SHOULD BE PARKED OUTSIDE IN THE DIRECT SUNLIGHT FOR SEVERAL HOURS WITH THE TOP LATCHED, THE HEAT ABSORBED BY THE TOP WILL ALLOW FOR SOME STRETCHING OF THE MATERIAL TO TAKE PLACE WHICH SHOULD REDUCE THE LATCHING EFFORT.

WARRANTY INFORMATION:

FOR VEHICLES REPAIRED UNDER WARRANTY, USE:

LABOR OPERATION NUMBER DESCRIPTION LABOR TIME =============== =========== =========

B3350 ONE SIDE 1.0 HR BOTH SIDES 1.2 HR

ADD: POLICY S: IF VEHICLE IS .3 HR DELIVERED TO AND FROM THE REPAIR LOCATION.

FIGURES: 08 ATTACHMENTS: 00

FIGURE 1: 1. FOLDING TOP COVER 2. FOLDING TOP COVER SAIL PANEL 3. AREAS WHERE VALANCE MATERIAL SAG WILL OCCUR 4. TYPICAL LARGE SAG IN VALANCE MATERIAL 5. TYPICAL SMALL SAG IN VALANCE MATERIAL 6. VALANCE MATERIAL

FIGURE 2: 1. NUMBER 1 BOW 2. NUMBER 2 BOW 3. NUMBER 3 BOW 4. NUMBER 4 BOW 5. NUMBER 5 BOW

FIGURE 3: 1. REAR WINDOW DRAIN PANEL GARNISH RETAINER 2. REAR WINDOW RIGHT-HAND DRAIN PANEL GARNISH MOLDING 3. REAR WINDOW LEFT-HAND DRAIN PANEL GARNISH MOLDING 4. REAR WINDOW CENTER DRAIN PANEL GARNISH MOLDING

FIGURE 4: 1. FOLDING TOP NUMBER 5 BOW 2. FOLDING TOP HEADLINING TRIM FINISH PANEL 3. ELASTIC TENSION STRAP SCREW 4. ELASTIC TENSION STRAP

FIGURE 5: 1. REAR BACKGLASS 2. NUMBER 5 BOW UNDERNEATH THE VALANCE AND SAIL PANEL TOP COVER 3. MASKING TAPE LOCATION ON VALANCE MATERIAL ALONG TOP OF NUMBER 5 BOW BEFORE REPOSITIONING 4. MASKING TAPE LOCATION ON SAIL PANEL COVER ALONG TOP OF NUMBER 5 BOW BEFORE REPOSITIONING 5. NUMBER 10 FASTENER HOLE 6. NUMBER 11 FASTENER HOLE 7. NUMBER 1 FASTENER HOLE 8. OUTBOARD EDGE OF VALANCE MATERIAL UNDERNEATH THE SAIL PANEL TOP COVER

FIGURE 6: 1. REAR BACKGLASS 2. NUMBER 5 BOW UNDERNEATH THE VALANCE AND SAIL PANEL TOP COVER 3. MASKING TAPE LOCATION ON VALANCE MATERIAL ALONG TOP OF NUMBER 5 BOW AFTER REPOSITIONING 4. MASKING TAPE LOCATION ON SAIL PANEL COVER ALONG TOP OF NUMBER 5 BOW AFTER REPOSITIONING 5. NUMBER 10 FASTENER HOLE 6. NUMBER 11 FASTENER HOLE 7. NUMBER 1 FASTENER HOLE 8. OUTBOARD EDGE OF VALANCE MATERIAL UNDERNEATH THE SAIL PANEL TOP COVER 9. DIRECTION THAT VALANCE MATERIAL SHOULD BE PULLED

FIGURE 7: 1. NUMBER 5 BOW TIGHTENING SEQUENCE

FIGURE 8: 1. CORRECT APPEARANCE OF TOP AFTER REPOSITIONING VALANCE MATERIAL


Object Number: 95360  Size: LF


Object Number: 95355  Size: MF


Object Number: 95356  Size: MF


Object Number: 95354  Size: MF


Object Number: 95359  Size: MF


Object Number: 95358  Size: MF


Object Number: 95353  Size: SF


Object Number: 95361  Size: LF

GENERAL MOTORS BULLETINS ARE INTENDED FOR USE BY PROFESSIONAL TECHNICIANS, NOT A "DO-IT-YOURSELFER". THEY ARE WRITTEN TO INFORM THOSE TECHNICIANS OF CONDITIONS THAT MAY OCCUR ON SOME VEHICLES, OR TO PROVIDE INFORMATION THAT COULD ASSIST IN THE PROPER SERVICE OF A VEHICLE. PROPERLY TRAINED TECHNICIANS HAVE THE EQUIPMENT, TOOLS, SAFETY INSTRUCTIONS AND KNOW-HOW TO DO A JOB PROPERLY AND SAFELY. IF A CONDITION IS DESCRIBED, DO NOT ASSUME THAT THE BULLETIN APPLIES TO YOUR VEHICLE, OR THAT YOUR VEHICLE WILL HAVE THAT CONDITION. SEE A GENERAL MOTORS DEALER SERVICING YOUR BRAND OF GENERAL MOTORS VEHICLE FOR INFORMATION ON WHETHER YOUR VEHICLE MAY BENEFIT FROM THE INFORMATION.

COPYRIGHT 1996 GENERAL MOTORS CORPORATION. ALL RIGHTS RESERVED.