GM Service Manual Online
For 1990-2009 cars only

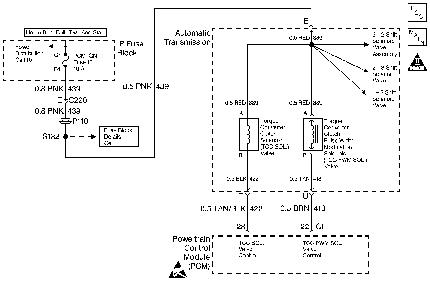
Object Number: 42305  Size: MF

Circuit Description

The TCC PWM Solenoid Valve controls the fluid acting on the converter clutch valve, which then controls the application and release of the TCC. The solenoid attaches to the control valve body within the transmission. Circuit 439 supplies ignition voltage directly to the solenoid. The PCM controls the solenoid by providing a ground path on circuit 418. Current flows through the solenoid coil according to the duty cycle (percentage of ON and OFF time). The TCC PWM Solenoid Valve provides a smooth engagement of the torque converter clutch by operating during a duty cycle percent of ON time.

When the PCM detects a continuous open or a short to ground in the TCC PWM circuit or the TCC PWM Solenoid Valve, then DTC P1860 sets. DTC P1860 is a type A DTC.

Conditions for Setting the DTC

    • No system voltage DTC P0560
    • The ignition is ON.
    • The PCM commands first gear.
    • The PCM commands the solenoid to 0% and the voltage remains high (B+).
    • All conditions met for 5 seconds

Action Taken When the DTC Sets

    • The PCM inhibits TCC engagement
    • The PCM inhibits 4th gear if in hot mode
    • The PCM freezes shift adapts from being updated.
    • The PCM illuminates the Malfunction Indicator Lamp (MIL).

Conditions for Clearing the MIL/DTC

    • The PCM turns OFF the MIL after three consecutive ignition cycles without a failure reported.
    • A scan tool can clear the DTC from the PCM history. The PCM clears the DTC from the PCM history if the vehicle completes 40 warm-up cycles without a failure reported.
    • The PCM cancels the DTC default actions when the fault no longer exists and the ignition is OFF long enough in order to power down the PCM.

Diagnostic Aids

    • Inspect the wiring for any poor electrical connections at the PCM. Inspect the wiring at the transmission 20-way connector. Look for the following conditions:
       - A bent terminal
       - A backed out terminal
       - A damaged terminal
       - Poor terminal tension
       - A chafed wire
       - A broken wire inside the insulation
    • When diagnosing for an intermittent short or an open condition, massage the wiring harness while watching the test equipment for a change.

Test Description

The numbers below refer to the Step numbers on the diagnostic table.

  1. This step verifies that the solenoid receives current.

  2. This step verifies the ability of the PCM and the wiring to control the ground circuit.

  3. This step measures the resistance of the TCC PWM Sol. Valve and the Automatic Transmission wiring harness.

DTC P1860 TCC PWM Solenoid Valve -- Electrical

Step

Action

Value(s)

Yes

No

1

Was the Powertrain On-Board Diagnostic (OBD) System Check performed?

--

Go to Step 2

Go to Powertrain On Board Diagnostic (OBD) System Check , Section 6

2

  1. Install the scan tool.
  2. With the engine OFF, turn the ignition switch to the RUN position.
  3. Important: Before clearing the DTCs, use the scan tool in order to record the Freeze Frame and the Failure Records for reference. The Clear Info function will erase the data.

  4. Record the DTC Freeze Frame and the DTC Failure Records.

Are DTCs P0753, P0758, P1860, P1864, or P1886 set?

--

Go to Step 3

Go to Step 4

3

Inspect circuit 439, the solenoid, the PCM IGN fuse, and the Automatic Transmission Wiring Harness for an open or a short to ground.

Refer to Electrical Diagnosis, Section 8.

Did you find and correct a problem?

--

Go to Step 17

--

4

  1. Turn the ignition switch to the OFF position.
  2. Disconnect the transmission 20-way connector (additional DTCs may set).
  3. Install the J 39775 Jumper Harness on the engine harness connector .
  4. With the engine OFF, turn the ignition switch to the RUN position.
  5. Connect a lest lamp from the J 39775 Jumper Harness connector cavity E to ground.

Does the test lamp illuminate?

--

Go to Step 6

Go to Step 5

5

Repair the open in the ignition feed circuit 439 to the TCC PWM Solenoid Valve. Refer to Electrical Diagnosis, Section 8.

Is the repair complete?

--

Go to Step 17

--

6

  1. Install the test lamp from cavities E to U of the J 39775 Jumper Harness connector .
  2. Using the scan tool, command the TCC PWM Solenoid Valve ON and OFF 3 times.

Does the test lamp illuminate when you command the TCC PWM Solenoid Valve ON, and turn OFF when you command the valve OFF?

--

Go to Step 8

Go to Step 7

7

  1. Inspect circuit 418 for an open.
  2. Inspect circuit 418 for a short to ground.
  3. Repair the circuit if necessary.

Refer to Electrical Diagnosis, Section 8.

Did you find and correct a problem?

--

Go to Step 17

Go to Step 9

8

  1. Install the J 39775 Jumper Harness on the Connector End View 20-way connector.
  2. Using the J 39200 DVOM and the J 35616-A Connector Test Adapter Kit, measure the resistance between terminals E and U.

Is the resistance within the specified range?

10-15ohms

Go to Step 11

Go to Step 10

9

Inspect the PCM connector terminals for the following conditions:

  1. Damaged connector pins
  2. Backed out connector pins
  3. Weak terminal tension
  4. Repair the connectors if necessary.

Did you find and correct a problem?

--

Go to Step 17

Go to Step 16

10

  1. Disconnect the Automatic Transmission Wiring Harness at the TCC PWM Solenoid Valve.
  2. Measure the resistance of the TCC PWM Solenoid Valve.

Is the resistance within the specified range?

10-15ohms

Go to Step 12

Go to Step 15

11

Using the J 39200 DVOM and the J 35616-A Connector Test Adapter kit, measure the resistance between terminal E of the J 39775 Jumper Harness and the transmission case (ground). Measure the resistance between terminal U of the J 39775 Jumper Harness and the transmission case (ground).

Are both readings greater than the specified value?

250ohms

Go to Diagnostic Aids

Go to Step 13

12

  1. Inspect the Automatic Transmission Wiring Harness for an open or short to ground.
  2. Repair the harness if necessary.

Refer to Electrical Diagnosis, Section 8.

Did you find and repair a problem?

--

Go to Step 17

--

13

  1. Disconnect the Automatic Transmission Wiring Harness at the TCC PWM Solenoid Valve.
  2. Measure the resistance between each of the component terminals and the transmission case (ground).

Are both readings greater than the specified value?

250ohms

Go to Step 14

Go to Step 15

14

  1. Inspect the Automatic Transmission Wiring Harness for a short to ground.
  2. Repair the harness if necessary.

Refer to Electrical Diagnosis, Section 8.

Was a problem found and corrected?

--

Go to Step 17

--

15

Replace the TCC PWM Solenoid Valve.

Refer to Torque Converter Clutch Pulse Width Modulation Solenoid Replacement , in On-Vehicle Service.

Is the replacement complete?

--

Go to Step 17

--

16

Replace the PCM.

Refer to Powertrain Control Module Replacement/Programming , Section 6.

Is the replacement complete?

--

Go to Step 17

--

17

  1. After the repair is complete, select DTC.
  2. Select Clear Info.
  3. Ensure the following conditions:
  4. • When you command the TCC PWM Solenoid Valve ON, the voltage drops to zero.
    • When you command the TCC PWM Solenoid Valve OFF, the voltage increases to B+.
    • All conditions met for 5 seconds.
  5. Select Specific DTC and enter DTC P1860.

Has the test run and passed?

--

System OK

Begin diagnosis the again. Go to Step 1