GM Service Manual Online
For 1990-2009 cars only

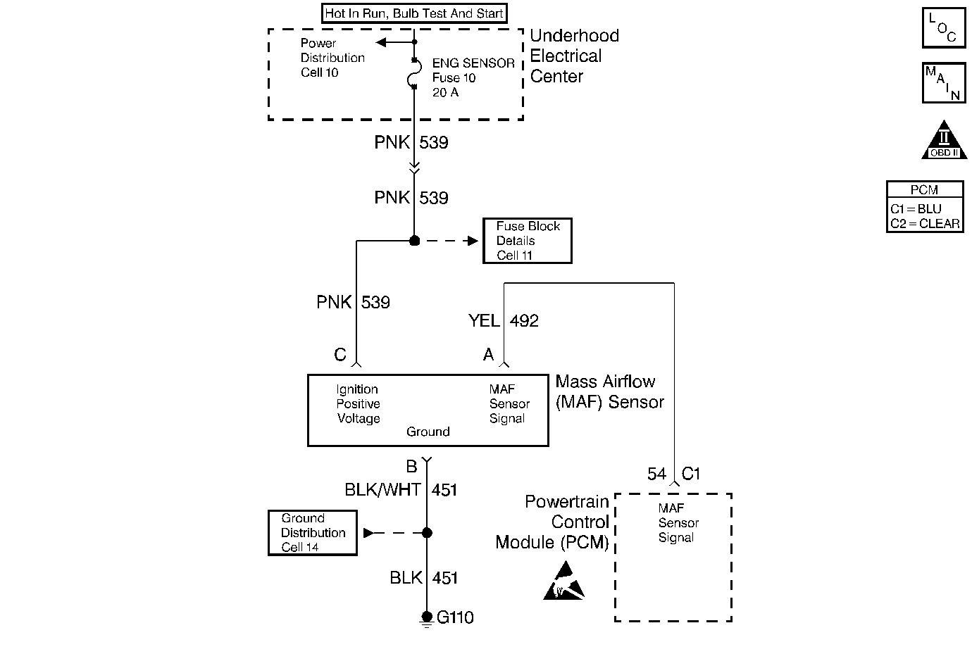
Object Number: 31591  Size: MF
MAF Sensor, EVAP System, EGR Valve
Engine Controls Components
OBD II Symbol Description Notice
Handling ESD Sensitive Parts Notice

Circuit Description

The Mass Air Flow (MAF) sensor measures the amount of air which passes through it into the engine during a given time. The PCM uses the mass air flow information to monitor engine operating conditions for fuel delivery calculations. A large quantity of air entering the engine indicates an acceleration or high load situation, while a small quantity of air indicates deceleration or idle. The MAF sensor produces a frequency signal which can be monitored using a scan tool. The frequency will vary within a range of around 2000 Hertz at idle to about 10,000 Hertz at maximum engine load. DTC P0101 will be set if the signal from the MAF sensor does not match a predicted value based on barometric pressure (calculated from MAP at key ON), throttle position, and engine RPM.

Conditions for Setting the DTC

    • DTCs P0106, P0107, P0122, P0123, P1106, P1107, P1121, or P1122 not set
    • The engine is running.
    • System voltage is between 9V and 16V.
    • The throttle is steady and TP angle is below 50%.
    • EGR duty cycle is below 50%.
    • EGR pintle position is below 50%.
    • MAF signal frequency indicates an airflow significantly higher or lower than a predicted value based on barometric pressure, throttle position and engine RPM.
    • The above conditions are present for at least 12 seconds.

Action Taken When the DTC Sets

    • The PCM will illuminate the malfunction indicator lamp (MIL) the first time the malfunction is detected.
    • The PCM calculates an airflow value based on idle air control valve position, throttle position, RPM and barometric pressure.
    • The PCM will store conditions which were present when the DTC set as Freeze Frame and Failure Records data.

Conditions for Clearing the MIL/DTC

    • The PCM will turn OFF the MIL during the third consecutive trip in which the diagnostic has been run and passed.
    • The History DTC will clear after 40 consecutive warm-up cycles have occurred without a malfunction.
    • The DTC can be cleared by using the scan tool.

Diagnostic Aids

Check for the following conditions:

    • Skewed or stuck TP sensor - A faulty TP sensor or TP sensor circuit can cause the PCM to incorrectly calculate the predicted mass air flow value. Observe the Throttle Angle displayed on the scan tool with the throttle closed. If the Throttle Angle reading is not 0%, check for the following conditions and repair as necessary:
       - Throttle plate sticking or excessive deposits on the throttle plate or in the throttle bore
       - TP sensor signal circuit shorted to voltage
       - Poor connection or high resistance in the TP sensor ground circuit
       - If none of the above conditions are noted and the Throttle Angle reading at closed throttle is not 0%, replace the TP sensor. Refer to Throttle Position Sensor Replacement
    • Poor connection at the PCM - Inspect harness connectors for backed out terminals, improper mating, broken locks, improperly formed or damaged terminals, and poor terminal to wire connection.
    • Misrouted harness - Inspect the MAF sensor harness to ensure that it is not routed too close to high voltage wires such as spark plug leads.
    • Damaged harness - Inspect the wiring harness for damage. If the harness appears to be OK, observe the scan tool while moving connectors and wiring harnesses related to the MAF sensor. A change in the display will indicate the location of the fault.
    • Plugged intake air duct or dirty air filter element - A wide-open throttle acceleration from a stop should cause the Mass Air Flow displayed on a scan tool to increase from about 4-7 gm/s at idle to 100 gm/s or greater at the time of the 1-2 shift. If not, check for a restriction.
    • Skewed or unresponsive MAP sensor - The barometric pressure used to calculate the default Mass Air Flow value is based on the MAP sensor reading. A skewed MAP sensor at key ON will cause the BARO reading to be incorrectly calculated. Also, with the engine running, an unresponsive MAP sensor (due to poor vacuum connections, damaged vacuum source, or defective vacuum hose(s), unmetered air into the manifold) will cause inaccurate BARO reading updates during wide-open throttle conditions. Both of these conditions result in a difference between the actual MAF sensor signal and the predicted MAF value (PCM calculated). If a large difference between these two values occurs DTC P0101 will set. This condition may also cause abnormal IAC counts. With the IAC at an incorrect count value, a hard start / no start condition may occur.

If DTC P0101 cannot be duplicated, the information included in the Fail Records data can be useful in determining vehicle mileage since the DTC was last set. This may assist in determining how often the DTC sets.

Test Description

Number(s) below refer to the Step number(s) on the Diagnostic Chart:

  1. This step verifies that the problem is present.

  2. This step verifies a proper MAP/BARO value at initial key ON. If the MAP sensor is stuck the barometric pressure value will be incorrectly calculated. This will cause the predicted Mass Air Flow calculations to be inaccurate. DTC P0101 will set if the MAF sensor signal does not match the predicted MAF value.

  3. This step verifies a proper MAP sensor signal with engine running. With a closed throttle and proper engine vacuum, the MAP sensor signal should be between 29 kPa and 48 kPa.

  4. This step verifies a proper MAP sensor response as the throttle is opened. As the throttle is steadily opened, pressure in the intake manifold increases. The MAP sensor signal should increase steady as the pressure increases.

  5. Checks for conditions which can cause a good MAF sensor to appear faulty.

  6. A voltage reading of less than 4 or over 6 volts at the MAF sensor signal circuit indicates a fault in the wiring or a poor connection.

  7. Verifies that ignition feed voltage and a good ground are available at the MAF sensor.

  8. This vehicle is equipped with a PCM which utilizes an Electrically Erasable Programmable Read Only Memory (EEPROM). When the PCM is being replaced, the new PCM must be programmed.

Step

Action

Value(s)

Yes

No

1

Was the Powertrain On-Board Diagnostic (OBD) System Check performed?

--

Go to Step 2

Go to the Powertrain On Board Diagnostic (OBD) System Check

2

Is DTC P1635 also set?

--

Go to DTC P1635 5 Volt Reference Circuit

Go to Step 3

3

  1. Review and record scan tool Fail Records data.
  2. Operate vehicle within Fail Records conditions as noted.
  3. Using a scan tool, monitor Specific DTC info for DTC P0101.

Does the scan tool indicate DTC P0101 failed this ignittion?

--

Go to Step 4

Refer to Diagnostic Aids

4

  1. Turn ON the ignition switch.
  2. Observe MAP and BARO values displayed on the scan tool.

Does the scan tool indicate a value within the specified range?

65-105 kPa

Go to Step 5

Go to Step 8

5

  1. Start the engine.
  2. Observe the MAP sensor display on the scan tool with the engine idling.

Does the scan tool display a value within the within the specified range?

29-48 kPa

Go to Step 6

Go to Step 7

6

Monitor the MAP sensor display on the scan tool while slowly increasing engine speed to 3000 RPM.

Does the MAP sensor value increase as engine speed increases?

--

Go to Step 9

Go to Step 8

7

  1. Check for the following conditions:
  2. • Objects blocking the throttle body inlet screen.
    • Intake manifold vacuum leaks.
    • Vacuum leaks at throttle body.
    • Vacuum leaks at EGR valve
    • PCV valve faulty, missing, or incorrectly installed.
    • Skewed or unresponsive MAP Sensor. Refer to DTC P0101 Diagnostic Aids.
  3. If a problem is found, repair as necessary.

Was a problem found?

--

Go to Step 22

Go to Step 9

8

Replace the MAP sensor. Refer to Manifold Absolute Pressure Sensor Replacement .

Is action complete?

--

Go to Step 22

--

9

  1. Turn ON the ignition switch.
  2. With the throttle closed, observe the Throttle at Idle display on the scan tool.

Does the scan tool display Yes?

--

Go to Step 10

Go to DTC P0121 Throttle Position (TP) Sensor Performance

10

  1. Turn OFF the ignition switch.
  2. Disconnect the MAF sensor connector.
  3. Turn ON the ignition switch.
  4. Using a digital multimeter, measure voltage between the MAF signal circuit and chassis ground.

Is the voltage near the specified value?

5V

Go to Step 11

Go to Step 12

11

Connect a J 35616-200 Unpowered Test Light between the MAF sensor ignition feed and ground circuits at the MAF sensor harness connector.

Is the test light ON?

--

Go to Step 15

Go to Step 14

12

Is the voltage less than the specified value?

4.5V

Go to Step 16

Go to Step 13

13

  1. Turn OFF the ignition switch.
  2. Disconnect the PCM.
  3. Turn ON the ignition switch.
  4. Measure voltage between the MAF signal circuit and ground.

Does the voltage measure near the specified value?

0V

Go to Step 21

Go to Step 19

14

Connect the test light between the MAF sensor ignition feed circuit and chassis ground.

Is the test light ON?

--

Go to Step 17

Go to Step 18

15

  1. Check for a poor connection at the MAF sensor.
  2. If a poor connection is found, replace faulty terminal(s). Refer to Wiring Repairs in Electrical Diagnosis.

Was a problem found?

--

Go to Step 22

Go to Step 20

16

  1. Check the MAF signal circuit for the following conditions:
  2. • Open between the PCM and the MAF sensor.
    • Shorted to ground.
    • Poor connection at the PCM.
    • Shorted to the MAF sensor ground circuit.
  3. If a problem is found, repair as necessary. Refer to Wiring Repairs in Electrical Diagnosis.

Was a problem found?

--

Go to Step 22

Go to Step 21

17

Locate and repair the open in the ground circuit to the MAF sensor. Refer to Wiring Repairs in Electrical Diagnosis.

Is action complete?

--

Go to Step 22

--

18

Locate and repair the open in the ignition feed circuit to the MAF sensor. Refer to Wiring Repairs in Electrical Diagnosis.

Is action complete?

--

Go to Step 22

--

19

Locate and repair the short to voltage in the MAF signal circuit. Refer to Wiring Repairs in Electrical Diagnosis.

Is action complete?

--

Go to Step 22

--

20

Replace the MAF sensor. Go to Mass Airflow Sensor Replacement .

Is action complete?

--

Go to Step 22

--

21

Replace the PCM.

Important:: The replacement PCM must be programmed. Refer to Powertrain Control Module Replacement/Programming .

Is action complete?

--

Go to Step 22

--

22

  1. Turn ON the ignition switch.
  2. Review and record scan tool Fail Records data.
  3. Clear DTCs.
  4. Operate vehicle within Fail Records conditions as noted.
  5. Using a scan tool, monitor Specific DTC info for DTC P0101.

Does the scan tool indicate DTC P0101 failed this ignition?

--

Go to Step 2

System OK