GM Service Manual Online
For 1990-2009 cars only

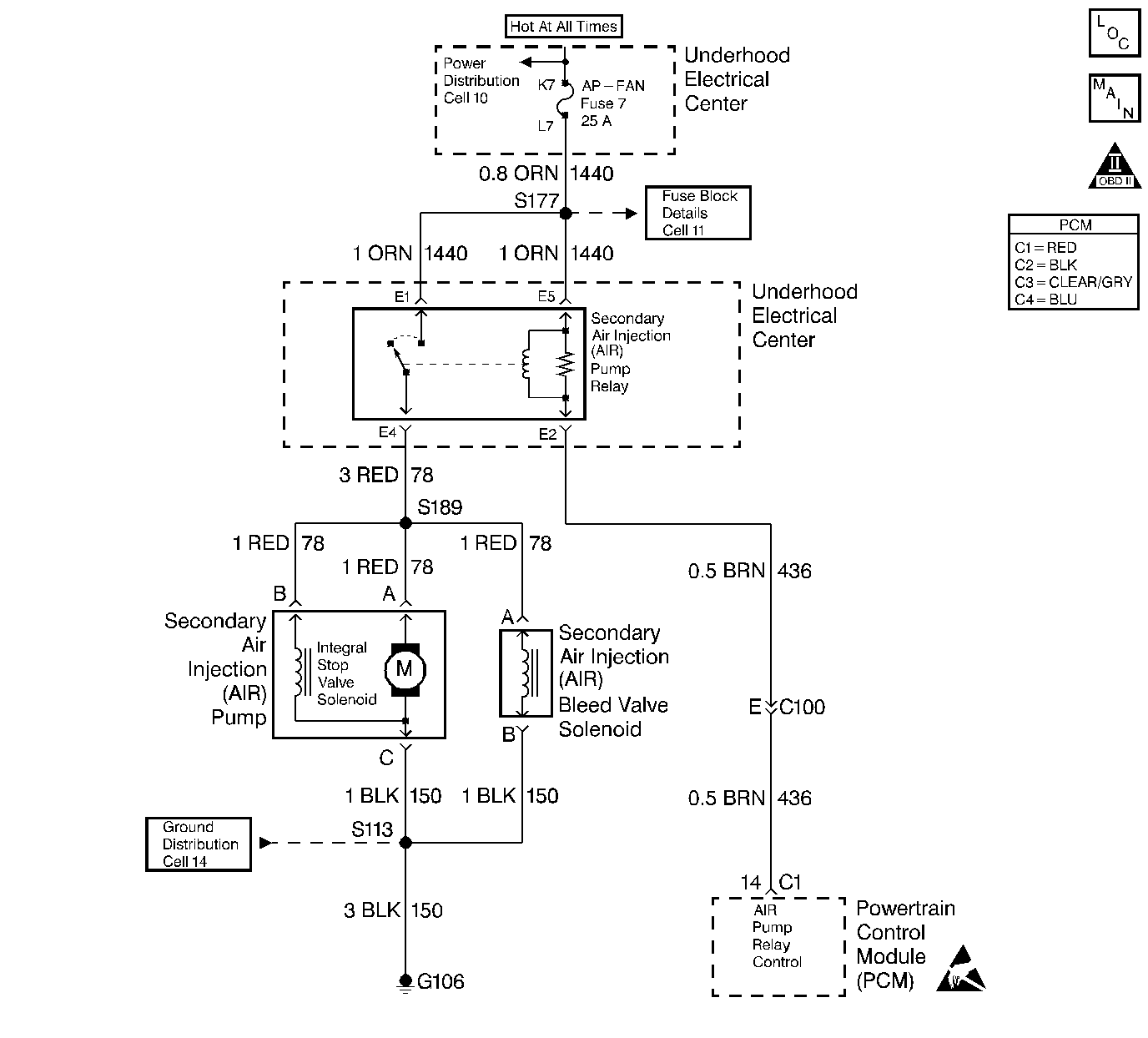
Object Number: 21648  Size: LF
Engine Controls Components
AIR and IAC
OBD II Symbol Description Notice
Handling ESD Sensitive Parts Notice

Circuit Description

An AIR pump is used on this vehicle to lower tail pipe emissions on start-up. The PCM supplies a ground to the AIR pump relay, which energizes the AIR pump.

The PCM will run two tests using the HO2S voltages to diagnose the AIR system. Both tests have two parts.

Test one consists of the following:

Part 1

When the AIR pump is enabled, the PCM monitors the HO2S voltage. If the HO2S voltages go below a threshold, the PCM interprets this as an indication that the AIR system is operational.

Part 2

When the AIR pump is disabled, the PCM monitors the HO2S voltages. The HO2S voltages should increase above a threshold and switch normally.

If the PCM did not sense more then a predetermined amount of HO2S rich switches, a malfunction will be reported. If both of these test indicate a pass, no further action is taken. If one of the above tests failed or is inconclusive, the diagnostic will proceed to test two.

Test two consist of the following:

Part 1

During this test the PCM will activate the AIR pump during closed loop operation. When the AIR is activated, the PCM will monitor the HO2S voltages and short term fuel trim values for both banks of the engine. If the AIR system is operating properly, the HO2S voltages should go low and the short term fuel trim should go high.

Part 2

The PCM checks that the HO2S voltages return to above a rich threshold when the air pump is disabled.

If the PCM determines that the HO2S voltages for both banks did not respond as expected during the tests, DTC P0410 will set. If only one sensor responded, the PCM will set either a DTC P1415 or P1416 to indicate on which bank the AIR system is inoperative.

Conditions for Setting the DTC

    • DTCs P0107, P0108, P0116, P0117, P0118, P0133, P0135, P0153, P0155, P0171, P0172, P0174, P0175, not set.
    • Engine operating about 2 seconds.

Test 1

    • TP angle not moving more than 1%.
    • Engine load less than 6.6%.
    • Engine air flow less than 26 grams per second.
    • Air fuel ratio greater than 13:1.
    • ECT less than 115°C (239°F).
    • HO2S bias voltage between 365 mV and 513 mV.
    • HO2S voltage does not go below 400 mV for 19 seconds (Engine coolant temperature less than 75°C (167°F) when the engine is started.) or HO2S voltage does not go below 417 mV for 7 seconds (Engine coolant temperature greater than 75°C (167°F) when the engine is started.)
    • HO2S voltage does not go above 722 mV for 19 seconds (Engine coolant temperature less than 75°C (167°F) when the engine is started.) or HO2S voltage does not go above 700 mV for 7 seconds (Engine coolant temperature greater than 75°C (167°F) when the engine is started.)

Test 2

    • Engine operating longer than 200 seconds.
    • Engine speed greater than 600 RPM.
    • Maximum air flow 17 gm/s.
    • Engine coolant temperature between 60°C (140°F) and 115°C (239°F.)
    • IAT greater than 10°C (50°C).
    • Ignition voltage greater than 11.0 volts.
    • Engine load less than 5.5%.
    • HO2S voltage does not go below 222 mV within 1.5 seconds.
    • Short term fuel trim does not go above a predetermined amount.

Action Taken When the DTC Sets

    • The PCM will illuminate the Malfunction Indicator Lamp (MIL) on the second consecutive drive trip that the diagnostic runs and fails.
    • The PCM will record operating conditions at the time the diagnostic fails. The first time the diagnostic fails, this information will be stored in Failure Records. If the diagnostic reports a failure on the second consecutive drive trip, the operating conditions at the time of failure will be written to Freeze Frame and the Failure record will be updated.

Conditions for Clearing the MIL/DTC

    • The PCM will turn the MIL OFF after three consecutive drive trips that the diagnostic runs and does not fail.
    • A last test failed (Current DTC) will clear when the diagnostic runs and does not fail.
    • A History DTC will clear after forty consecutive warm-up cycles, if no failures are reported by this or any other emission related diagnostic.
    • PCM battery voltage is interrupted.
    • Using a Scan tool.

Diagnostic Aids

    • If the #7 underhood fuse is open, inspect AIR system for water intrusion. Inspect the AIR pump for water. Check the AIR check valves for proper operation. Refer to Secondary Air Injection Check Valve and Pipe Replacement for procedure.
    • The AIR vacuum bleed system contains a one way check valve. If the system checks out OK, make sure this valve is not stuck closed, restricted or blocked. The check valve is in-line in the hose that goes to the vacuum bleed valve.
    • Using Freeze Frame and/or Failure Records data may aid in locating an intermittent condition. If the DTC cannot be duplicated, the information included in the Freeze Frame and/or Failure Records data can be useful in determining how many miles since the DTC set. The Fail Counter and Pass Counter can also be used to determine how many ignition cycles the diagnostic reported a pass and/or a fail. Operate vehicle within the same freeze frame conditions (RPM, load, vehicle speed, temperature etc.) that were noted. This will isolate when the DTC failed.
    • For intermittents, refer to Symptoms .

Test Description

Number(s) below refer to step numbers on the diagnostic table.

  1. For any test that requires probing the PCM or a component harness connector, must use the Connector Test Adapter Kit J 35616-A. Using this kit will prevent damage to the harness connector terminals.

  2. This checks whether B+ supply is available at the integral stop valve at the AIR pump.

  3. This step begins a test of the vacuum bleed portion of the system. Normal engine operation can cause vacuum to build up within the AIR pipes and hoses. If there is vacuum present in the system when the PCM commands the AIR pump ON, the integral stop valve within the AIR pump may not be able to overcome this vacuum and no air will enter the system. The AIR vacuum bleed solenoid valve is designed to open whenever the AIR pump is commanded ON, to eliminate this problem.

Step

Action

Value(s)

Yes

No

1

Was the Powertrain On-Board Diagnostic (OBD) System Check performed?

--

Go to Step 2

Go to Powertrain On Board Diagnostic (OBD) System Check

2

  1. Install the scan tool.
  2. Turn the engine OFF, Ignition ON.
  3. Using a scan tool, enable the AIR pump.

Does the AIR pump turn ON?

--

Go to Step 6

Go to Step 3

3

  1. Turn the ignition OFF.
  2. Disconnect AIR pump relay.
  3. Turn the ignition ON, engine OFF.
  4. Using a test light (J 34142-B) to ground, probe B+ (switch side of relay) supply circuit to relay.

Does the test light illuminate?

--

Go to Step 4

Go to Step 14

4

  1. Turn the ignition OFF.
  2. Reconnect AIR pump relay.
  3. Disconnect electrical connector from AIR pump.
  4. Using a test light (J 34142-B), probe terminal A of AIR pump electrical connector to battery ground.
  5. Turn the ignition ON, engine OFF.
  6. Using a scan tool, enable the AIR pump.

Does the test light illuminate?

--

Go to Step 5

Go to Step 22

5

  1. Using a test light (J 34142-B), probe terminal A of the AIR pump electrical connector to terminal C of the AIR pump electrical connector.
  2. Using a scan tool, enable the AIR pump.

Does the test light illuminate?

--

Go to Step 31

Go to Step 23

6

  1. Turn the ignition OFF.
  2. Disconnect the AIR pump electrical connector.
  3. Using a test light (J 34142-B), probe terminal B of the AIR pump electrical connector to battery ground.
  4. Turn the ignition ON, engine OFF.
  5. Using a scan tool, enable the AIR pump.

Does the test light illuminate?

--

Go to Step 7

Go to Step 24

7

  1. Turn the ignition OFF.
  2. Reconnect the AIR pump electrical connector.
  3. Disconnect the AIR pump outlet hose.
  4. Turn the ignition ON.
  5. Using a scan tool, enable the AIR pump.

Is air present at the AIR pump outlet?

--

Go to Step 8

Go to Step 31

8

Check for a restriction or blockage in AIR hoses/pipes between the AIR pump and the point where the system branches to both sides of the engine.

Was a problem found and corrected?

--

Go to Step 35

Go to Step 9

9

  1. Remove the vacuum bleed valve line from the tee in the AIR pump outlet hose.
  2. Connect this vacuum line to a hand held vacuum pump and apply approximately 5 in. Hg vacuum.

Does the vacuum hold?

--

Go to Step 10

Go to Step 13

10

Using a scan tool, enable the AIR pump.

Does the vacuum bleed off?

--

Go to Diagnostic Aids

Go to Step 11

11

  1. Turn the ignition OFF.
  2. Disconnect the vacuum bleed valve electrical connector.
  3. Connect a test light across the terminals in the vacuum bleed valve harness connector.
  4. Turn the ignition ON, engine OFF.
  5. Using a scan tool, command the AIR pump ON and OFF.

Does the test light illuminate?

--

Go to Step 33

Go to Step 12

12

  1. With the test light connected to ground, probe the power feed circuit in the vacuum bleed valve harness connector.
  2. Using a scan tool, command the AIR pump ON and OFF.

Does the test light illuminate?

--

Go to Step 26

Go to Step 25

13

Check the vacuum hose to the valve for cracks, splits or other damage.

Was a problem found and corrected?

--

Go to Step 35

Go to Step 33

14

Repair the B+ supply circuit to relay.

Is the action complete?

--

Go to Step 35

--

15

Check the fuse for the battery feed circuit to the relay.

Is the fuse OK?

--

Go to Step 16

Go to Step 17

16

Using a test light to ground, check for power at the fuse.

Is there power to the fuse?

--

Go to Step 27

Go to Step 28

17

Using a test light to B+, probe the relay battery feed circuit in the relay connector.

Is the test light OFF?

--

Go to Step 18

Go to Step 29

18

  1. Install a new fuse.
  2. Disconnect the AIR pump electrical connector and the vacuum bleed solenoid valve electrical connector.
  3. Using a test light to B+, probe the power feed circuit in the vacuum bleed solenoid valve harness connector.

Is the test light OFF?

--

Go to Step 19

Go to Step 30

19

  1. Using a test light connected to ground probe the power feed circuit in the vacuum bleed solenoid valve harness connector.
  2. Using a scan tool, enable the AIR pump.

Does the test light illuminate?

--

Go to Step 20

Go to Step 32

20

  1. Reconnect the AIR pump.
  2. Using a scan tool, enable the AIR pump.

Did the fuse open?

--

Go to Step 34

Go to Step 21

21

  1. Reconnect the vacuum bleed solenoid valve.
  2. Using a scan tool, enable the AIR pump.

Did the fuse open?

--

Go to Step 33

Refer to Symptoms

22

Repair the open circuit between the AIR pump and the AIR pump relay.

Is the action complete?

--

Go to Step 35

--

23

Repair the faulty ground connection or open AIR pump ground circuit.

Is the action complete?

--

Go to Step 35

--

24

Repair the open circuit from terminal B of AIR pump to splice.

Is the action complete?

--

Go to Step 35

--

25

Repair the open vacuum bleed solenoid valve power circuit between the solenoid electrical connector and the splice.

Is the action complete?

--

Go to Step 35

--

26

Repair the open vacuum bleed solenoid valve ground circuit.

Is the action complete?

--

Go to Step 35

--

27

Repair the open circuit between the fuse and the relay.

Is the action complete?

--

Go to Step 35

--

28

Repair the power feed circuit to the fuse.

Is the action complete?

--

Go to Step 35

--

29

Repair the short to ground between the fuse and the relay.

Is the action complete?

--

Go to Step 35

--

30

Repair the short to ground between the relay and the AIR pump/vacuum bleed solenoid valve.

Is the action complete?

--

Go to Step 35

--

31

Check the AIR pump electrical connections.

Was a problem found and corrected?

--

Go to Step 35

Go to Step 34

32

Replace the AIR pump relay.

Is the action complete?

--

Go to Step 35

--

33

Replace the vacuum bleed solenoid valve.

Is the action complete?

--

Go to Step 35

--

34

Replace the AIR pump.

Is the action complete?

 

Go to Step 35

 

35

  1. Using the scan tool, select DTC, Clear Info.
  2. Start the engine and idle at normal operating temperature.
  3. Select DTC, Specific, then enter the DTC number which was set.
  4. Operate the vehicle within the conditions for setting this DTC as specified in the supporting text, if applicable.

Does the scan tool indicate that this test ran and passed?

--

Go to Step 36

Go to Step 2

36

Using the scan tool, select Capture Info, Review Info.

Are any DTCs displayed that have not been diagnosed?

--

Go to the applicable DTC table

System OK