GM Service Manual Online
For 1990-2009 cars only
Makes
🢒
Chevrolet
🢒
1997
🢒
Camaro
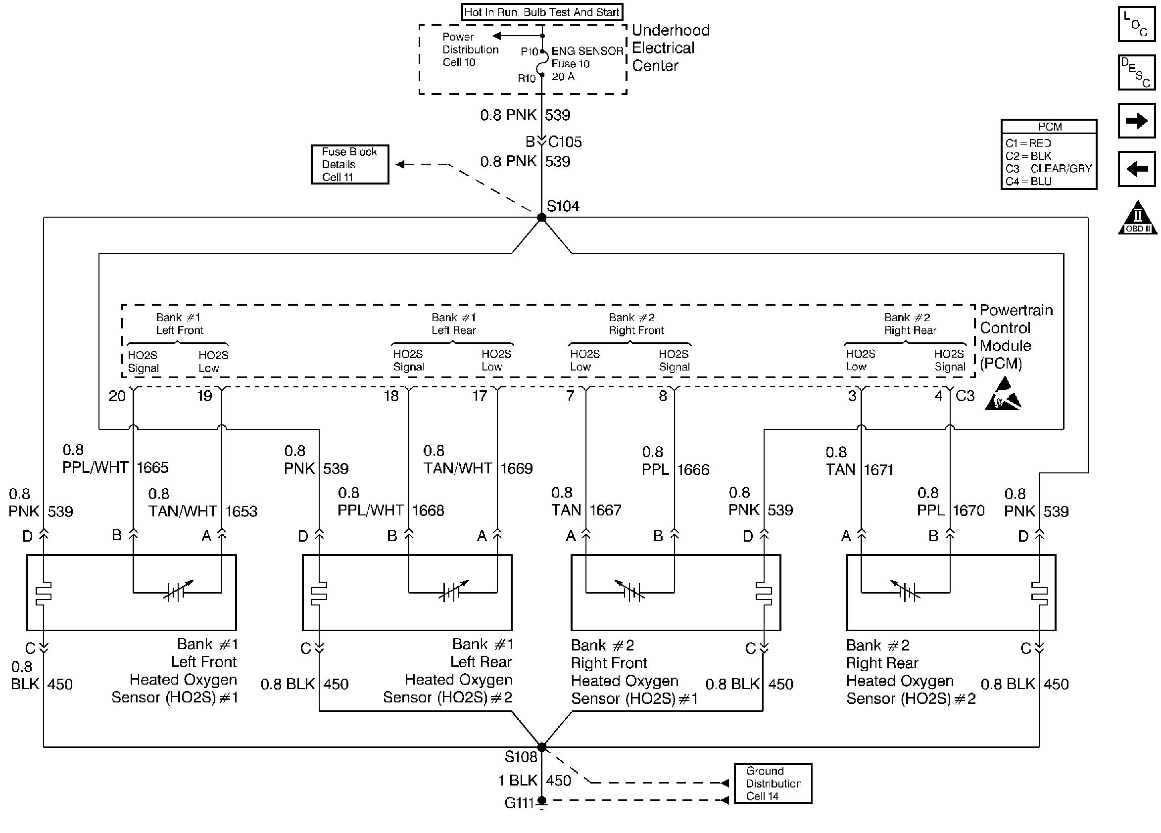
🢒 Heated Oxygen Sensors
Heated Oxygen Sensors
Heated Oxygen Sensors
Engine Controls Components
Information Sensors
Engine Data Sensors, TCS Active Signal, VSS Output
Engine Data Sensors
OBD II Symbol Description Notice
Handling ESD Sensitive Parts Notice