GM Service Manual Online
For 1990-2009 cars only

DTC P0785 3-2 Shift Solenoid Circuit Electrical 3.8L, VIN K


Object Number: 42315  Size: MF
Handling ESD Sensitive Parts Notice
OBD II Symbol Description Notice
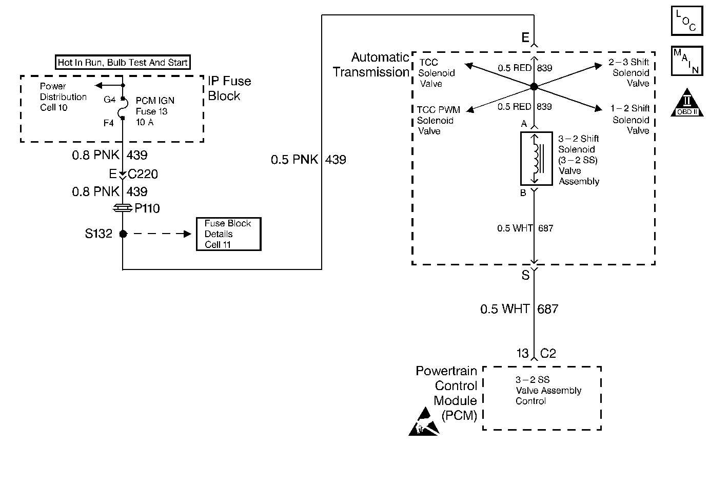
Automatic Transmission Components VIN K

Circuit Description

The 3-2 Shift Solenoid Valve Assembly (3-2 SS Valve Assy) is a normally-closed, 3-port, on/off device. The device controls the 3-2 downshift. The solenoid attaches to the control valve body within the transmission. Circuit 439 supplies ignition voltage directly to the solenoid. The PCM controls the solenoid by providing a ground path on circuit 687. During a 3-2 downshift, the 2-4 band applies as the 3-4 clutch releases. The PCM varies the timing between the 3-4 clutch release and the 2-4 band apply depending on the vehicle speed and the throttle position.

If the PCM detects a continuous open or short to ground in the 3-2 SS Valve Assy circuit or the 3-2 SS Valve Assy., then DTC P0785 sets. DTC P0785 is a type A DTC.

Conditions for Setting the DTC

    • The System Voltage is 10-16 volts.
    • The engine speed is greater than 400 RPM for 5 seconds and not in fuel cut off.
    • The PCM commands the solenoid ON and the voltage remains high (Battery Positive Voltage).
    • The PCM commands the solenoid OFF and the voltage remains low (0 volts).
    • All conditions are met in 5 seconds.

Action Taken When the DTC Sets

    • The PCM commands a soft landing to third gear.
    • The PCM commands maximum line pressure.
    • The PCM freezes shift adapts from being updated.
    • The PCM inhibits the TCC engagement.
    • The PCM inhibits 4th gear if in hot mode.
    • The PCM illuminates the Malfunction Indicator Lamp (MIL).

Conditions for Clearing the MIL/DTC

    • The PCM turns OFF the MIL after three consecutive ignition cycles without a failure reported.
    • A scan tool can clear the DTC from the PCM history. The PCM clears the DTC from the PCM history if the vehicle completes 40 warm-up cycles without a failure reported.
    • The PCM cancels the DTC default actions when the fault no longer exists and the ignition is OFF long enough in order to power down the PCM.

Diagnostic Aids

    • Inspect the wiring for any poor electrical connections at the PCM. Inspect the wiring at the transmission 20-way connector. Look for the following problems:
       - A bent terminal
       - A backed out terminal
       - A damaged terminal
       - Poor terminal tension
       - A chafed wire
       - A broken wire inside the insulation
    • When diagnosing for an intermittent short or an open, massage the wiring harness while watching the test equipment for changes.

Test Description

The item numbers below refer to the step numbers on the diagnostic table.

  1. This step verifies that the PCM can control the 3-2 Shift solenoid Valve Assembly.

  2. This step verifies that the 3-2 Shift Solenoid Valve Assembly receives power from the ignition through the fuse.

  3. This step verifies that the PCM and the wiring properly control the ground circuit.

  4. This step measures the resistance of the Automatic Transmission Wiring Harness Assembly.This step then compares the actual resistance to the expected resistance.

DTC P0785 3-2 Shift Solenoid Valve Assembly Circuit - Electrical

Step

Action

Value(s)

Yes

No

1

Was the Powertrain On-Board Diagnostic (OBD) System Check performed?

--

Go to Step 2

Go to Powertrain On Board Diagnostic (OBD) System Check , Section 6.

2

  1. Install the Scan Tool ®.
  2. With the engine OFF, turn the ignition switch to the RUN position.
  3. Important: Before clearing the DTCs, use the scan tool in order to record the Freeze Frame and Failure Records for reference. The Clear Info function will erase the data.

  4. Record the DTC Freeze Frame and Failure Records.

Have the DTCs P0753, P0758, P1860, P0740, and P0785 set?

--

Go to Step 3

Go to Step 4

3

  1. Inspect the following items for an open or a short to ground:
  2. • Circuit 439 (PNK)
    • The solenoid
    • The PCM IGN fuse
    • The Automatic Transmission Wiring Harness Assembly
  3. Repair the items, if necessary.

Refer to Electrical Diagnosis, Section 8.

Did you find and correct a problem?

--

Go to Step 18

--

4

Command the 3-2 Shift Solenoid Valve Assembly ON and OFF three times, while listening to the bottom of the transmission pan (a stethoscope may be necessary).

Does the solenoid click when commanded?

--

Go to Diagnostic Aids

Go to Step 5

5

  1. Turn the ignition switch to the OFF position.
  2. Disconnect the transmission 20-way connector (additional DTCs will set).
  3. Install the J 39775 Jumper Harness on the engine harness connector .
  4. With the engine OFF, turn the ignition switch to the Run position.
  5. Connect a test lamp, from the J 39775 Jumper Harness cavity E to ground.

Did the test lamp illuminate?

--

Go to Step 7

Go to Step 6

6

Repair the open or short to ground in the ignition feed circuit 439 (PNK) to the 3-2 Shift Solenoid Valve Assembly.

Refer to Electrical Diagnosis, Section 8.

Is the repair complete?

--

Go to Step 18

--

7

  1. Install a test lamp between cavities E and S of the J 39775 Jumper Harness.
  2. Command the 3-2 shift solenoid Valve Assembly ON and OFF three times.

Does the test lamp illuminate when you command the shift solenoid ON, and turn OFF when you command OFF?

--

Go to Step 9

Go to Step 8

8

  1. Inspect circuit 687 (WHT) for an open or short to ground.
  2. Repair the circuit if necessary.

Refer to Electrical Diagnosis, Section 8.

Did you find and correct a problem?

--

Go to Step 18

Go to Step 10

9

  1. Install the J 39775 Jumper Harness on the transmission 20-way connector (Connector End View ).
  2. Using the J 39200 DMM and the J 35616-A Connector Test Adapter Kit, measure the resistance between terminals E and S.

Is the resistance within the specified range?

20-32ohms

Go to Step 13

Go to Step 11

10

  1. Inspect the PCM connector terminals for the following problems:
  2. • Damaged connector pins
    • Backed-out connector pins
    • Weak terminal tension
  3. Repair the connectors if necessary.

Did you find and correct a problem?

--

Go to Step 18

Go to Step 17

11

  1. Disconnect the Automatic Transmission Wiring Harness Assembly from the 3-2 shift solenoid Valve Assembly.
  2. Measure the resistance of the 3-2 shift solenoid valve assembly.

Is the resistance within the specified range?

20-32ohms

Go to Step 12

Go to Step 16

12

  1. Inspect the Automatic Transmission Wiring Harness Assembly for an open circuit.
  2. Repair the circuit if necessary.

Refer to Electrical Diagnosis, Section 8.

Did you find and correct a problem?

--

Go to Step 18

--

13

    • Measure the resistance between terminal S and ground.
    • Measure the resistance between terminal E and ground.

Are both measurements greater than the specified value?

250kohms

Go to Diagnostic Aids

Go to Step 14

14

  1. Disconnect the Automatic Transmission Wiring Harness Assembly from the 3-2 Shift Solenoid Valve Assembly.
  2. Measure the resistance between each of the component's terminals and ground.

Are both readings greater than the specified value?

250kohms

Go to Step 15

Go to Step 16

15

  1. Inspect the Automatic Transmission Wiring Harness Assembly for a short to ground.
  2. Repair the harness if necessary.

Refer to Electrical Diagnosis, Section 8.

Did you find and correct a problem?

--

Go to Step 18

--

16

Replace the 3-2 Shift Solenoid Valve Assembly.

Refer to Control Valve Body and Pressure Switch, in On-Vehicle Service.

Is the replacement complete?

--

Go to Step 18

--

17

Replace the PCM.

Refer to Powertrain Control Module Replacement/Programming , Section 6.

Is the replacement complete?

--

Go to Step 18

--

18

  1. After the repair is complete, select DTC.
  2. Select Clear Info.
  3. Operate the vehicle. Ensure the following conditions:
  4. • When you command the 3-2 shift solenoid valve assembly ON, the voltage decreases to zero.
    • When you command the 3-2 shift solenoid valve assembly OFF, the voltage increases to Battery Positive Voltage.
    • All conditions are satisfied for 5 seconds.
  5. Select Specific DTC. Enter DTC P0785.

Has the test run and passed?

--

System OK

Begin the diagnosis again. Go to Step 1

DTC P0785 3-2 Shift Solenoid Circuit Electrical 5.7L, VIN P


Object Number: 42317  Size: MF
Automatic Transmission Components VIN P
OBD II Symbol Description Notice
Handling ESD Sensitive Parts Notice

Circuit Description

The 3-2 Shift Solenoid Valve Assembly (3-2 SS Valve Assy) is a normally-closed, 3-port, on/off device. The device controls the 3-2 downshift. The solenoid attaches to the control valve body within the transmission. Circuit 439 supplies ignition voltage directly to the solenoid. The PCM controls the solenoid by providing a ground path on circuit 897. During a 3-2 downshift, the 2-4 band applies as the 3-4 clutch releases. The PCM varies the timing between the 3-4 clutch release and the 2-4 band apply depending on the vehicle speed and the throttle position.

If the PCM detects a continuous open or short to ground in the 3-2 SS Valve Assy. circuit or the 3-2 SS Valve Assy., then DTC P0785 sets. DTC P0785 is a type A DTC.

Conditions for Setting the DTC

    • The System Voltage is 10-17 volts.
    • The ignition is ON.
    • The PCM commands the solenoid ON and the voltage remains high (Battery Positive Voltage).
    • The PCM commands the solenoid OFF and the voltage remains low (0 volts).
    • All conditions are met in 5 seconds.

Action Taken When the DTC Sets

    • The PCM commands a soft landing to third gear.
    • The PCM commands maximum line pressure.
    • The PCM freezes shift adapts from being updated.
    • The PCM inhibits the TCC engagement.
    • The PCM illuminates the Malfunction Indicator Lamp (MIL).

Conditions for Clearing the MIL/DTC

    • The PCM turns OFF the MIL after three consecutive ignition cycles without a failure reported.
    • A scan tool can clear the DTC from the PCM history. The PCM clears the DTC from the PCM history if the vehicle completes 40 warm-up cycles without a failure reported.
    • The PCM cancels the DTC default actions when the fault no longer exists and the ignition is OFF long enough in order to power down the PCM.

Diagnostic Aids

    • Inspect the wiring for any poor electrical connections at the PCM. Inspect the wiring at the transmission 20-way connector. Look for the following problems:
       - A bent terminal
       - A backed out terminal
       - A damaged terminal
       - Poor terminal tension
       - A chafed wire
       - A broken wire inside the insulation
    • When diagnosing for an intermittent short or an open, massage the wiring harness while watching the test equipment for a change.

Test Description

The item numbers below refer to the step numbers on the diagnostic table.

  1. This step verifies that the PCM can control the 3-2 Shift solenoid Valve Assembly.

  2. This step verifies that the 3-2 Shift Solenoid Valve Assembly receives power from the ignition through the fuse.

  3. This step verifies that the PCM and the wiring properly control the ground circuit.

  4. This step measures the resistance of the Automatic Transmission Wiring Harness Assembly. This step then compares the actual resistance to the expected resistance.

DTC P0785 3-2 Shift Solenoid Valve Assembly Circuit - Electrical

Step

Action

Value(s)

Yes

No

1

Was the Powertrain On-Board Diagnostic (OBD) System Check performed?

--

Go to Step 2

Go to Powertrain On Board Diagnostic (OBD) System Check , Section 6.

2

  1. Install the Scan Tool ®.
  2. With the engine OFF, turn the ignition switch to the RUN position.
  3. Important: Before clearing the DTCs, use the scan tool in order to record the Freeze Frame and Failure Records for reference. The Clear Info function will erase the data.

  4. Record the DTC Freeze Frame and Failure Records.

Have the DTCs P0753, P0758, P1860, P0740, or P0785 set?

--

Go to Step 3

Go to Step 4

3

  1. Inspect the following components for an open or a short to ground:
  2. • Circuit 439 (PNK)
    • The solenoid
    • The PCM IGN fuse
    • The Automatic Transmission Wiring Harness Assembly
  3. Repair the circuit, the solenoid, and the harness if necessary.

Refer to Electrical Diagnosis, Section 8.

Did you find and correct a problem?

--

Go to Step 18

--

4

Command the 3-2 Shift Solenoid Valve Assembly ON and OFF three times, while listening to the bottom of the transmission pan (a stethoscope may be necessary).

Does the solenoid click when commanded?

--

Go to Diagnostic Aids

Go to Step 5

5

  1. Turn the ignition switch to the OFF position.
  2. Disconnect the transmission 20-way connector (additional DTCs will set).
  3. Install the J 39775 Jumper Harness on the engine harness connector .
  4. With the engine OFF, turn the ignition switch to the Run position.
  5. Connect a test lamp, from the J 39775 Jumper Harness cavity E to ground.

Did the test lamp illuminate?

--

Go to Step 7

Go to Step 6

6

Repair the open or short to ground in the ignition feed circuit 439 (PNK) to the 3-2 Shift Solenoid Valve Assembly.

Refer to Electrical Diagnosis, Section 8.

Is the repair complete?

--

Go to Step 18

--

7

  1. Install a test lamp between cavities E and S of the J 39775 Jumper Harness.
  2. Command the 3-2 shift solenoid Valve Assembly ON and OFF three times.

Does the test lamp illuminate when you command the shift solenoid valve assembly ON, and turn OFF when you command OFF?

--

Go to Step 9

Go to Step 8

8

  1. Inspect circuit 687 (WHT) for an open or short to ground.
  2. Repair the circuit if necessary.

Refer to Electrical Diagnosis, Section 8.

Did you find and correct a problem?

--

Go to Step 18

Go to Step 10

9

  1. Install the J 39775 Jumper Harness on the transmission 20-way connector (Connector End View ).
  2. Using the J 39200 DMM and J 35616-A Connector Test Adapter Kit, measure the resistance between terminals E and S.

Is the resistance within the specified range?

20-32ohms

Go to Step 13

Go to Step 11

10

  1. Inspect the PCM connector terminals for the following problems:
  2. • Damaged connector pins
    • Backed out connector pins
    • Weak terminal tension
  3. Repair the connectors if necessary.

Did you find and correct a problem?

--

Go to Step 18

Go to Step 17

11

  1. Disconnect the Automatic Transmission Wiring Harness Assembly from the 3-2 shift solenoid Valve Assembly.
  2. Measure the resistance of the 3-2 shift solenoid valve assembly.

Is the resistance within the specified range?

20-32ohms

Go to Step 12

Go to Step 16

12

  1. Inspect the Automatic Transmission Wiring Harness Assembly for an open circuit.
  2. Repair the harness if necessary.

Refer to Electrical Diagnosis, Section 8.

Did you find and correct a problem?

--

Go to Step 18

--

13

    • Measure the resistance between terminal S and ground.
    • Measure the resistance between terminal E and ground.

Are both measurements greater than the specified value?

250kohms

Go to Diagnostic Aids

Go to Step 14

14

  1. Disconnect the Automatic Transmission Wiring Harness Assembly form the 3-2 shift solenoid Valve Assembly.
  2. Measure the resistance between the component's terminals and ground.

Are both readings greater than the specified value?

250kohms

Go to Step 15

Go to Step 16

15

  1. Inspect the Automatic Transmission Wiring Harness Assembly for a short to ground.
  2. Repair the harness if necessary.

Refer to Electrical Diagnosis, Section 8.

Did you find and correct a problem?

--

Go to Step 18

--

16

Replace the 3-2 shift solenoid valve assembly.

Refer to Control Valve Body and Pressure Switch, in On-Vehicle Service.

Is the replacement complete?

--

Go to Step 18

--

17

Replace the PCM.

Refer to Powertrain Control Module Replacement/Programming , Section 6.

Is the replacement complete?

--

Go to Step 18

--

18

  1. After the repair is complete, select DTC.
  2. Select Clear Info.
  3. Operate the vehicle. Ensure the following conditions are satisfied:
  4. • When you command the 3-2 shift solenoid valve assembly ON, the voltage decreases to zero.
    • When you command the 3-2 shift solenoid valve assembly OFF, the voltage increases to Battery Positive Voltage.
    • All conditions are satisfied for 5 seconds.
  5. Select Specific DTC. Enter DTC P0785.

Has the test run and passed?

--

System OK

Begin the diagnosis again. Go to Step 1