GM Service Manual Online
For 1990-2009 cars only

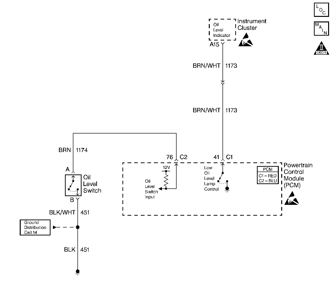
Object Number: 218757  Size: LF
Engine Controls Components
Oil Level
OBD II Symbol Description Notice
Handling ESD Sensitive Parts Notice
Handling ESD Sensitive Parts Notice

Circuit Description

The Oil Level switch is a normally open switch. When the oil level is within an acceptable range the Oil Level switch closes. The switch opens when the engine oil level drops below a predetermined amount. The PCM tests the Engine Oil Level switch circuit with the ignition ON (engine OFF). The PCM monitors the engine coolant temperature to ensure proper engine oil drain back to the oil pan. When the engine is colder the engine oil drain back process takes a greater amount of time.

Test Description

The numbers below refer to the step numbers on the diagnostic table.

  1. This step tests the Oil Level sensor signal circuit between the PCM and the sensor.

  2. This step tests the Oil Level sensor ground circuit between the PCM and the sensor.

  3. This step tests for an open in the Oil Level sensor signal circuit between the PCM and the Oil Level sensor.

  4. This step tests the Oil Level signal circuit for a short to ground.

  5. This step Clears the Low Oil Level message. The engine coolant temperature should decrease by 10°C (18°F).

Oil Level Circuit Diagnosis

Step

Action

Value(s)

Yes

No

1

Did you perform the Powertrain On-Board Diagnostic (OBD) System Check?

--

Go to Step 2

Go to Powertrain On Board Diagnostic (OBD) System Check

2

  1. Ensure the vehicle is on a level surface.
  2. Inspect the engine oil level.

Is the oil level within range?

--

Go to Step 3

Go to Step 17

3

  1. Install a scan tool.
  2. Monitor the Engine Oil Level parameter using a scan tool.

Does the scan tool display Low Oil Level as YES?

--

Go to Step 6

Go to Step 4

4

Is the customers concern that the engine oil level was low and the Low Oil Level indicator never illuminated?

--

Go to Step 6

Go to Step 5

5

Is the customers concern that oil was just added or that an oil change was just done and the Low Oil Level indicator did not clear?

--

Go to Step 18

Go to Diagnostic Aids

6

  1. Turn ON the ignition leaving the engine OFF.
  2. Raise the vehicle. Refer to Lifting and Jacking the Vehicle in General Information.
  3. Disconnect the Oil Level sensor electrical connector.
  4. Measure the voltage at the signal circuit at the Engine Oil Level sensor electrical connector to a known good ground using the DMM J 39200 . Refer to Measuring Voltage in Wiring Systems.

Is the voltage at the specified value?

B+

Go to Step 7

Go to Step 8

7

Measure the voltage from the signal circuit to the ground circuit at the Engine Oil Level sensor electrical connector using the DMM J 39200 . Refer to Measuring Voltage in Wiring Systems.

Is the voltage at the specified value?

B+

Go to Step 10

Go to Step 11

8

  1. Turn OFF the ignition.
  2. Disconnect the PCM connector C1 located on the opposite of the manufacturer's logo. Refer to Powertrain Control Module Replacement/Programming .
  3. Test continuity of the Engine Oil Level sensor signal circuit using the DMM J 39200 . Refer to Testing for Continuity in Wiring Systems.

Does the DMM indicate continuity?

--

Go to Step 9

Go to Step 12

9

Probe the Engine Oil Level sensor signal circuit using the Test Lamp connected to B+. Refer to Probing Electrical Connectors in Wiring Systems.

Does the test lamp illuminate?

--

Go to Step 13

Go to Step 14

10

  1. Test the terminal tension of the Oil Level sensor electrical connector. Refer to Intermittents and Poor Connections Diagnosis in Wiring Systems.
  2. If you find a poor connection, repair the connection as necessary. Refer to Repairing Connector Terminals in Wiring Systems.

Did you find and correct the condition?

--

Go to Step 18

Go to Step 16

11

Repair the open ground circuit. Refer to Wiring Repairs in Wiring Systems.

Is the action complete?

--

Go to Step 18

--

12

Repair the open signal circuit. Refer to Wiring Repairs in Wiring Systems.

Is the action complete?

--

Go to Step 18

--

13

Repair the short to ground in the signal circuit. Refer to Wiring Repairs in Wiring Systems.

Is the action complete?

--

Go to Step 18

--

14

  1. Inspect the PCM for faulty connections. Refer to Intermittents and Poor Connections Diagnosis in Wiring Systems.
  2. If faulty connections are found, repair as necessary. Refer to Repairing Connector Terminals in Wiring Systems.

Did you find and correct the condition?

--

Go to Step 18

Go to Step 15

15

Important:: Program the replacement PCM. Refer to Powertrain Control Module Replacement/Programming .

Replace the PCM.

Is the action complete?

--

Go to Step 18

--

16

Replace the Engine Oil Level sensor.

Is the action complete?

--

Go to Step 18

--

17

Add the appropriate amount of oil.

Is the action complete?

--

Go to Step 18

--

18

  1. Start and idle the engine.
  2. Allow the engine to reach the specified temperature.
  3. Important: The ignition must remain OFF for a minimum of one hour.

  4. Turn OFF the ignition for one hour.

Is the action complete?

90°C (194°F)

System OK

--