GM Service Manual Online
For 1990-2009 cars only

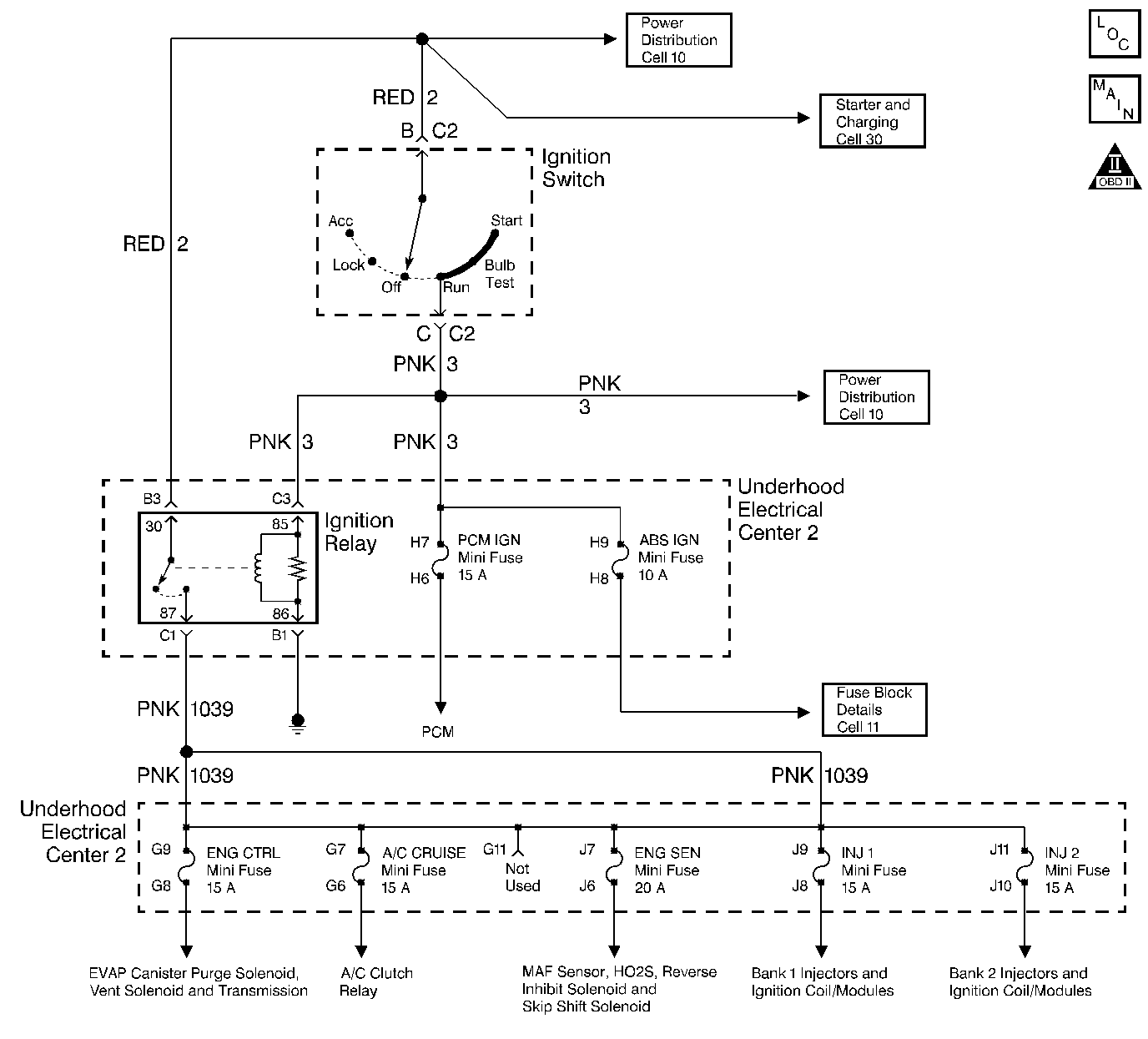
Object Number: 218762  Size: LF
Engine Controls Components
Power, Ground and MIL
OBD II Symbol Description Notice
Handling ESD Sensitive Parts Notice
Handling ESD Sensitive Parts Notice

Circuit Description

The following components are powered by the IGN relay:

    • Injectors/Ignition coils
    • Transmission
    • A/C system
    • EVAP solenoid and EVAP Vent Valve
    • MAF sensor
    • Heated Oxygen Sensors

Diagnostic Aids

Important: For any test that requires probing the PCM or component harness connectors, use the Connector Test Adapter Kit J 35616 . Using this kit prevents damage to the harness connector terminals. Refer to Using Connector Test Adapters in Wiring Systems.

The following may cause an intermittent:

    • Poor connections. Test for adequate terminal tension. Refer to Intermittents and Poor Connections Diagnosis in Wiring Systems.
    • Corrosion
    • Mis-routed harness.
    • Rubbed through wire insulation.
    • Broken wire inside the insulation.

Test Description

The numbers below refer to the step numbers on the diagnostic table.

  1. For any test that requires probing the PCM or a component harness connector, use the Connector Test Adapter Kit J 35616 . Using this kit prevents damage to the harness connector terminals.

  2. This step isolates the circuit from the IGN relay. All of the circuits at the relay are good if the test lamp illuminates.

  3. The open circuit will be between the splice and the IGN relay.

  4. Remove the underhood electrical center and inspect the circuits that are supplied a voltage by the IGN relay.

Step

Action

Value(s)

Yes

No

1

Did you perform the Powertrain On-Board Diagnostic (OBD) System Check?

--

Go to Step 2

Go to Powertrain On Board Diagnostic (OBD) System Check

2

  1. Turn OFF the ignition.
  2. Remove the underhood electrical center cover.
  3. Remove the IGN relay.
  4. Probe the B+ feed circuit to the IGN relay harness terminal with a test lamp J 35616-200 connected to a ground.

Does the test lamp illuminate?

--

Go to Step 3

Go to Step 8

3

  1. Turn ON the ignition leaving the engine OFF.
  2. Probe the ignition feed circuit to the IGN relay harness terminal with a test lamp J 35616-200 connected to a ground.

Does the test lamp illuminate?

--

Go to Step 4

Go to Step 9

4

  1. Turn OFF the ignition.
  2. Check the resistance of the IGN relay harness terminal ground circuit using a DMM J 39200 connected to the battery ground.

Is the resistance less than the specified value?

0-5ohms

Go to Step 5

Go to Step 10

5

  1. Turn OFF the ignition.
  2. Jumper the IGN relay B+ feed circuit and the IGN relay load circuit together using a fused jumper wire.
  3. Probe the fuses for the following components with a test lamp J 35616-200 connected to a ground.
  4. • ENG CTRL
    • A/C CRUISE
    • INJR1
    • INJR2
    • ENG SEN

Does the test lamp illuminate?

--

Go to Step 6

Go to Step 11

6

Check for poor terminal contact at the IGN relay harness connector. Refer to Connector Repairs in Wiring Systems.

Did you find and correct the condition?

--

System OK

Go to Step 7

7

Replace the IGN relay.

Is the action complete?

--

System OK

--

8

Repair the open B+ supply to the IGN relay. Refer to Wiring Repairs in Wiring Systems.

Is the action complete?

--

System OK

--

9

Repair the ignition feed circuit to the IGN relay. Refer to Wiring Repairs in Wiring Systems.

Is the action complete?

--

System OK

--

10

Repair the open ground circuit for the IGN relay Refer to Wiring Repairs in Wiring Systems.

Is the action complete?

--

System OK

--

11

Repair the IGN relay load circuit. Refer to Wiring Repairs in Wiring Systems.

Is the action complete?

--

System OK

--