GM Service Manual Online
For 1990-2009 cars only

Cell 14: G112 (V6 VIN K)


Object Number: 458359  Size: FS
Power and Grounding Components
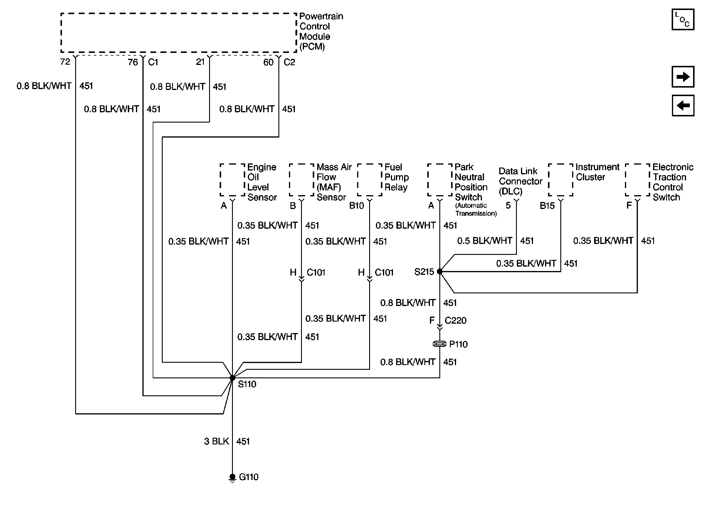
Cell 14: G110 (V6 VIN K)

Cell 14: G110 (V6 VIN K)


Object Number: 458366  Size: FS
Power and Grounding Components
Cell 14: G112 (V8 VIN G)
Cell 14: G112 (V6 VIN K)

Cell 14: G112 (V8 VIN G)


Object Number: 457622  Size: FS
Power and Grounding Components
Cell 14: G110 (V8 VIN G)
Cell 14: G110 (V6 VIN K)

Cell 14: G110 (V8 VIN G)


Object Number: 458369  Size: FS
Power and Grounding Components
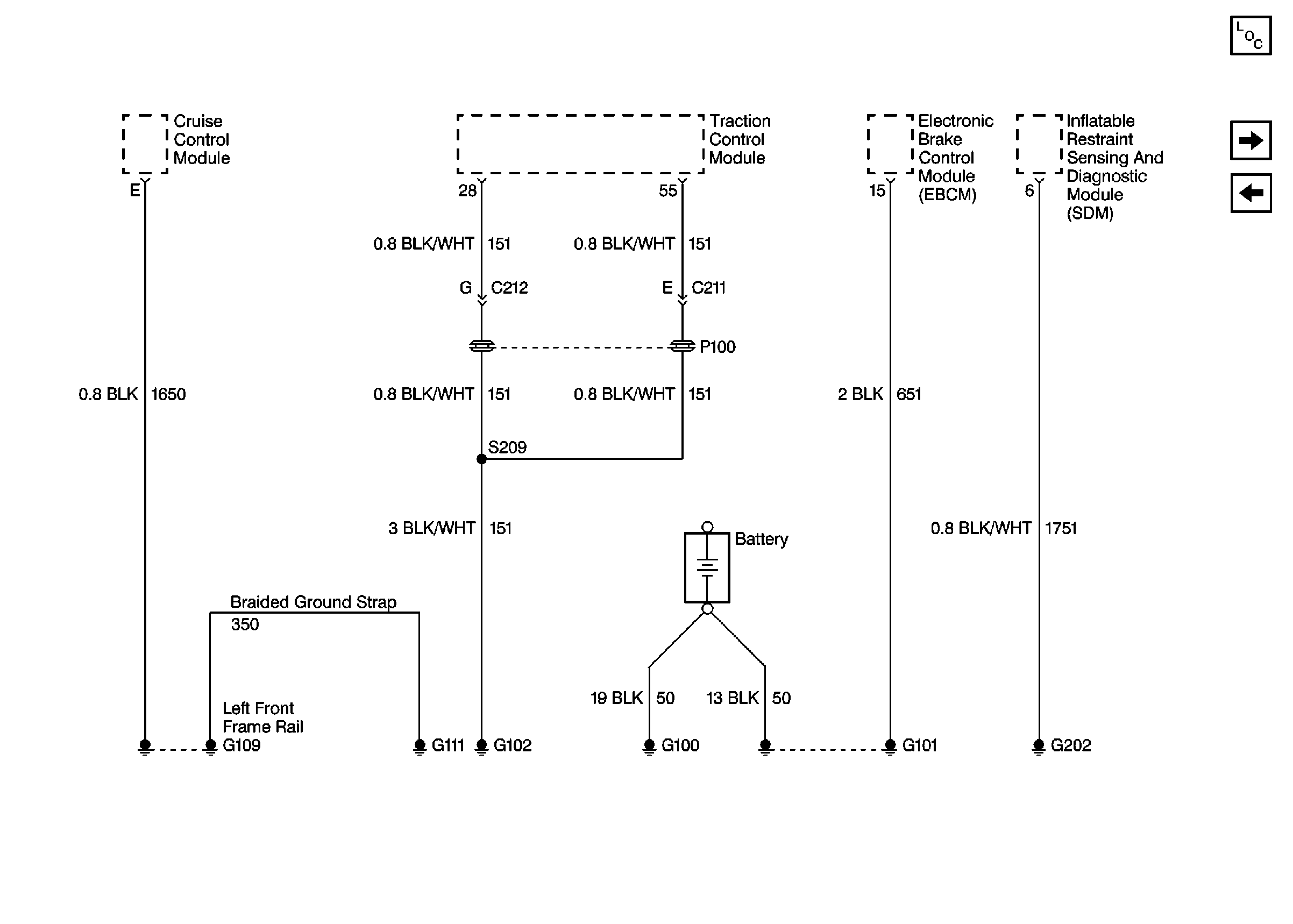
Cell 14: G109, G111, G102, G100, G101 and G202
Cell 14: G112 (V8 VIN G)

Cell 14: G109, G111, G102, G100, G101 and G202


Object Number: 457613  Size: FS
Power and Grounding Components
Cell 14: G105
Cell 14: G110 (V8 VIN G)

Cell 14: G105


Object Number: 457617  Size: FS
Power and Grounding Components
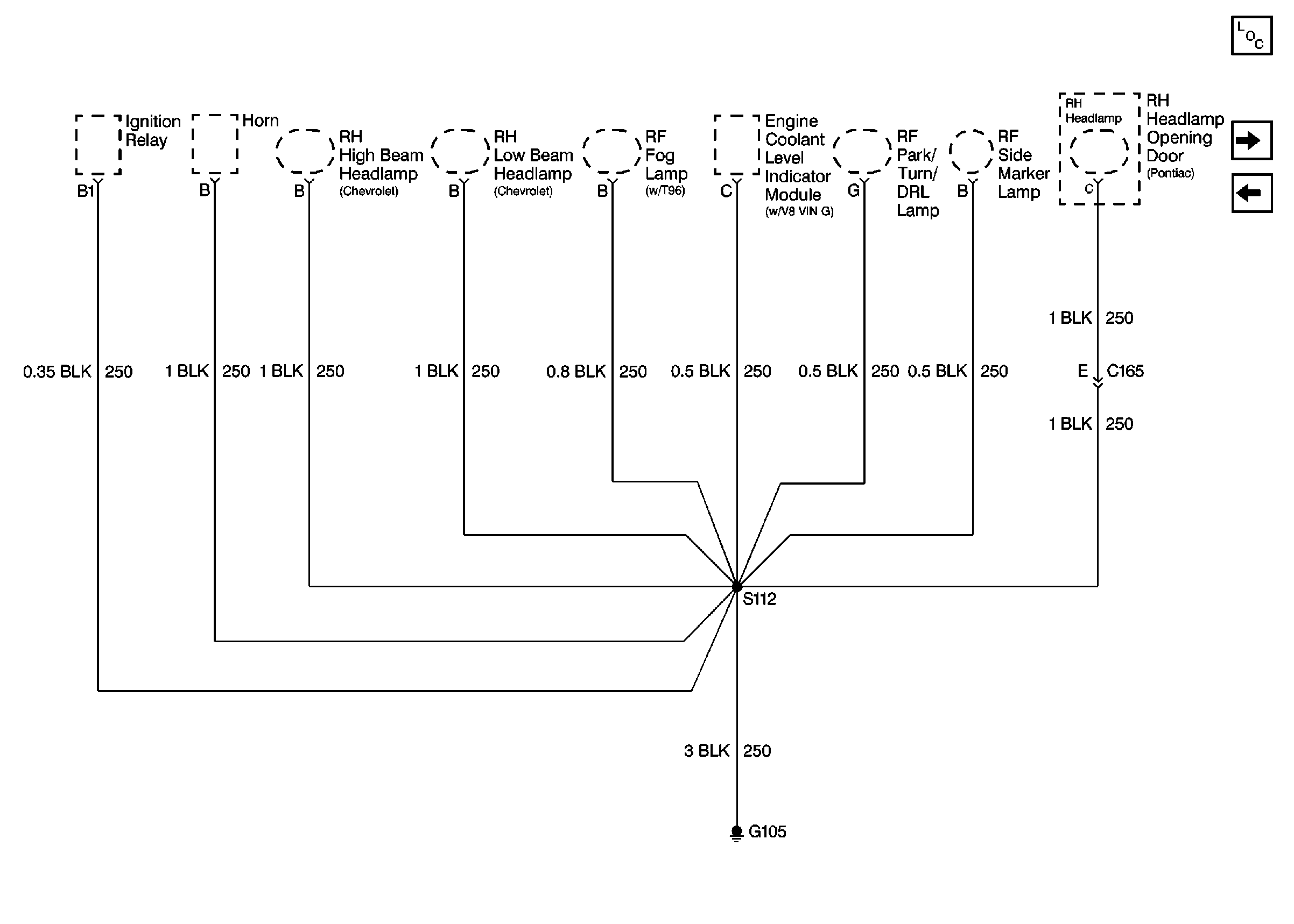
Cell 14: G106
Cell 14: G109, G111, G102, G100, G101 and G202

Cell 14: G106


Object Number: 457628  Size: FS
Power and Grounding Components
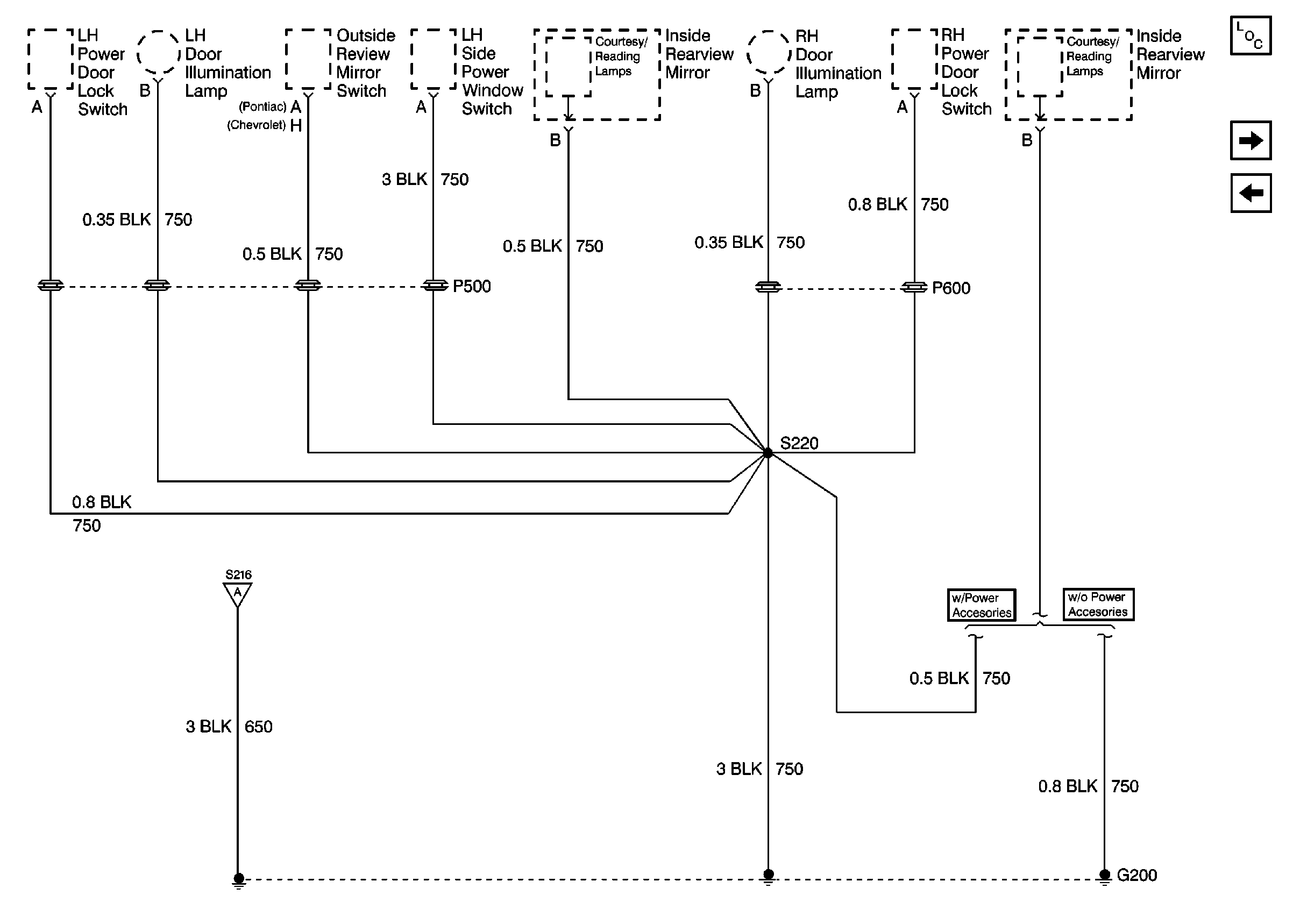
Cell 14: G200
Cell 14: G105

Cell 14: G200


Object Number: 458372  Size: FS
Power and Grounding Components
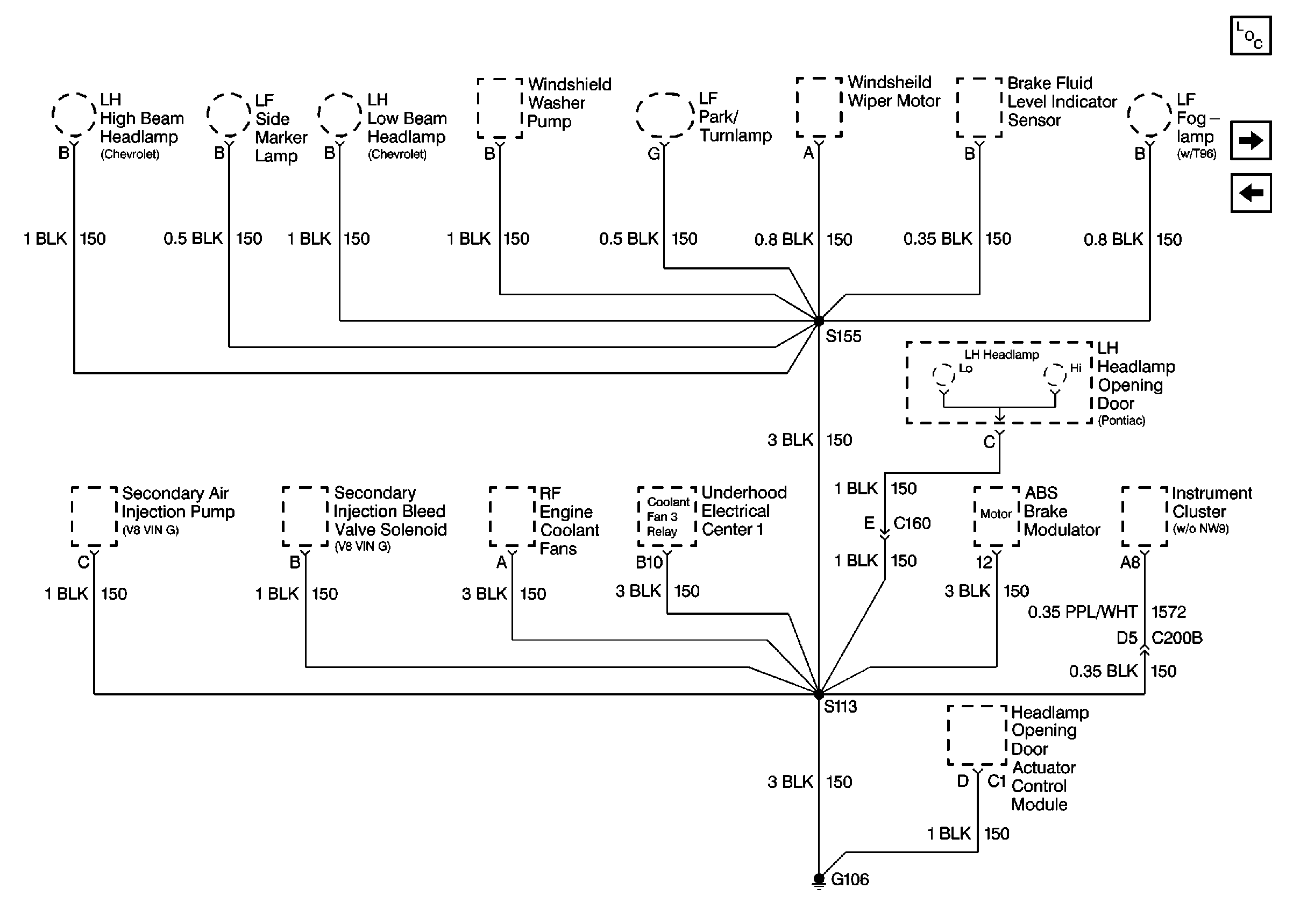
Cell 14: G200
Cell 14: G106
Cell 14: G200

Cell 14: G200


Object Number: 458377  Size: FS
Power and Grounding Components
Cell 14: G200
Cell 14: G200
Cell 14: G200
Cell 14: G200

Cell 14: G200


Object Number: 457631  Size: FS
Power and Grounding Components
Cell 14: G201
Cell 14: G200
Cell 14: G200

Cell 14: G201


Object Number: 458378  Size: FS
Power and Grounding Components
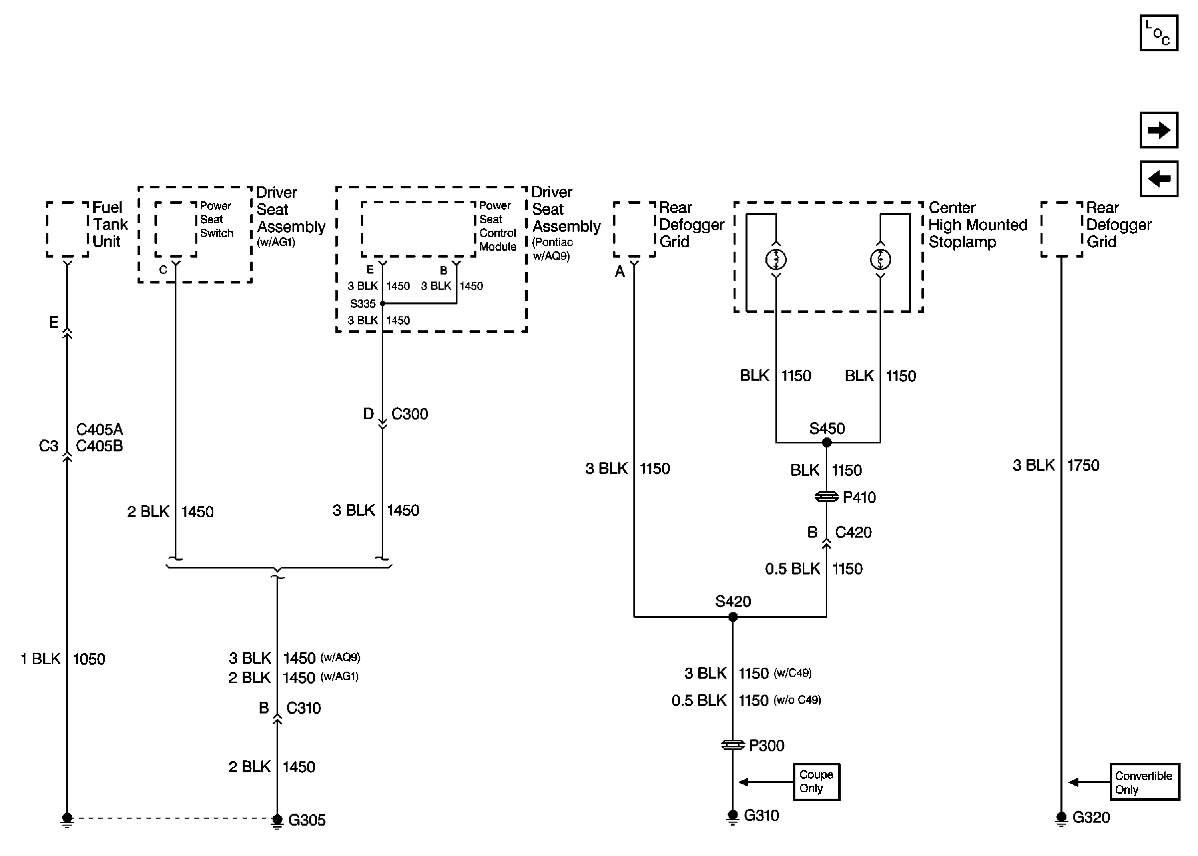
Cell 14: G305, G310 and G320
Cell 14: G200

Cell 14: G305, G310 and G320


Object Number: 458380  Size: FS
Power and Grounding Components
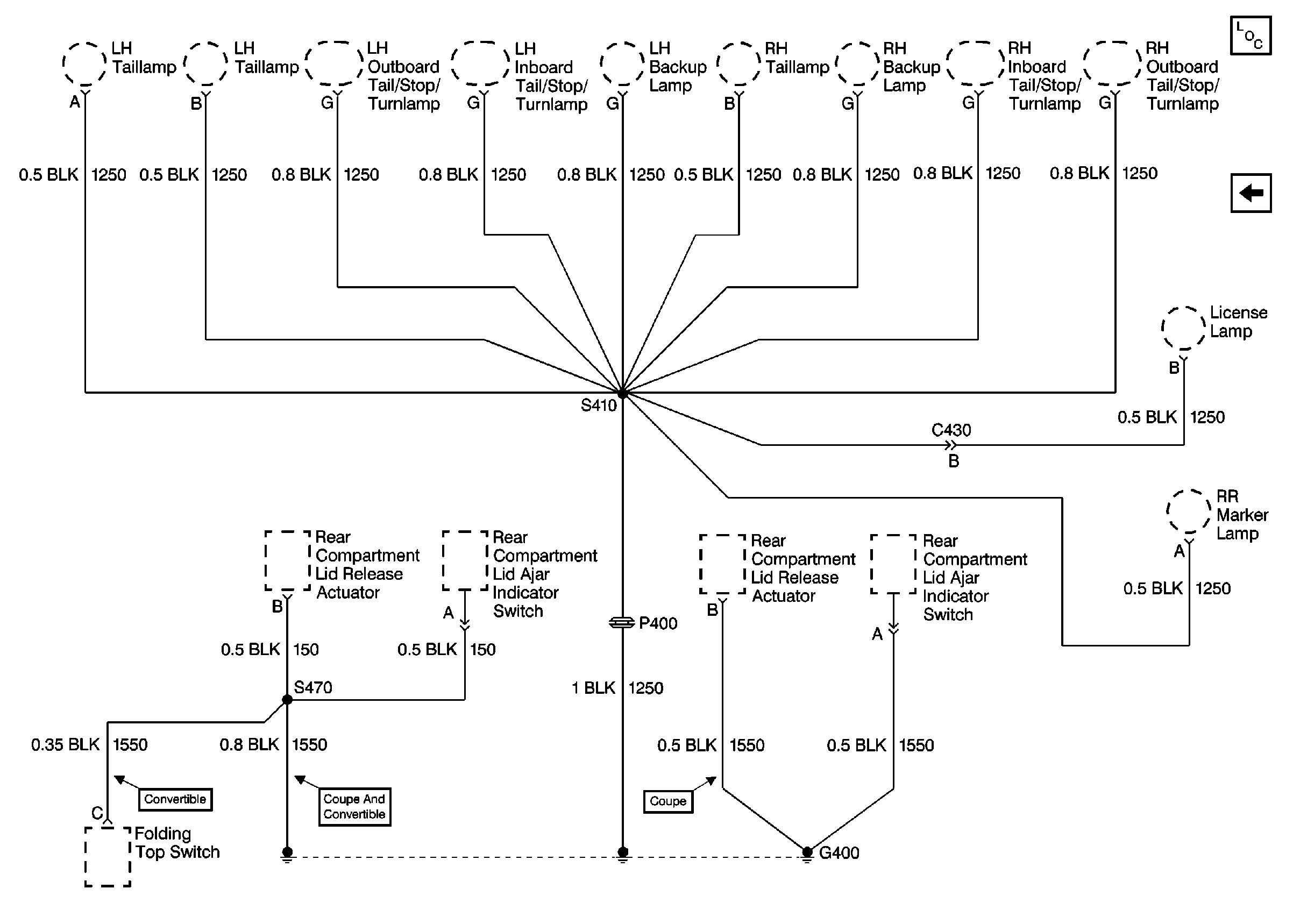
Cell 14: G400 Pontiac
Cell 14: G201

Cell 14: G400 Pontiac


Object Number: 457636  Size: FS
Power and Grounding Components
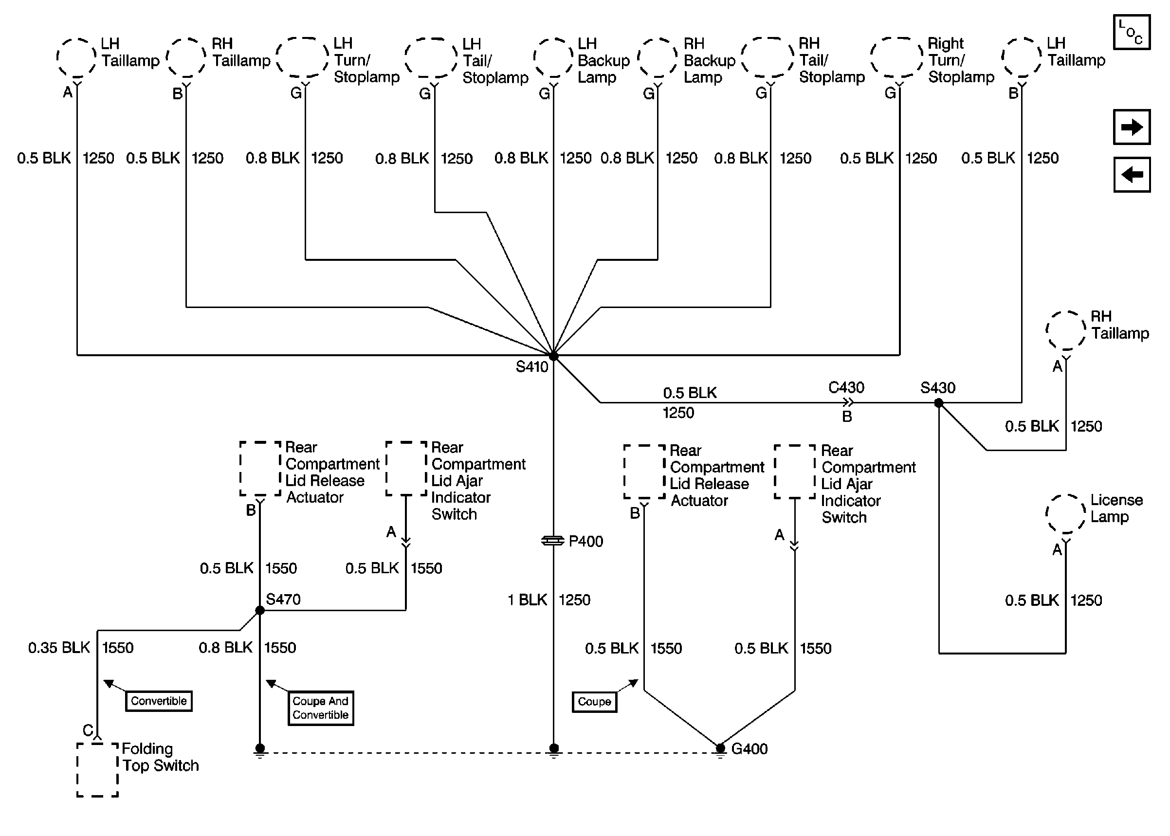
Cell 14: G400 Chevrolet
Cell 14: G305, G310 and G320

Cell 14: G400 Chevrolet


Object Number: 457640  Size: FS
Power and Grounding Components
Cell 14: G400 Pontiac