GM Service Manual Online
For 1990-2009 cars only

Object Number: 82222  Size: SH

Toe is the measurement of how much the front tires and wheels are turned in or out (5) from a straight-ahead position (4). When the tires and the wheels are turned in, toe is positive (+). When the tires and the wheels are turned out, toe is negative (-). the actual amount of toe is normally only a fraction of a degree. The purpose of toe is to ensure that the tires and the wheels roll parallel by compensating for the slight tolerances or play that exist within the suspension components.


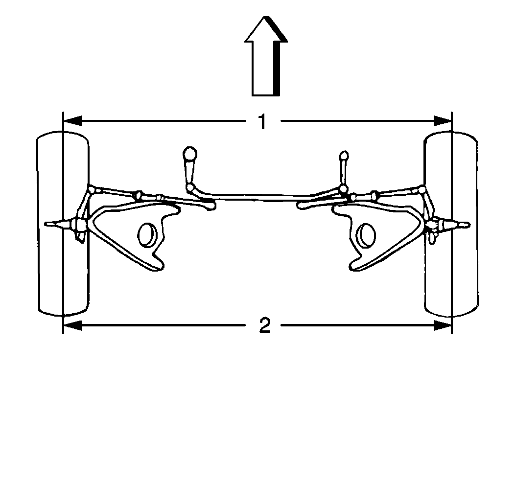
Object Number: 180285  Size: SH

You can also measure total toe, which is the relationship or difference between the front toe dimension (1) and the rear toe dimension (2). Total toe indicates the tire-to-tire relationship , but does not indicate the relationship of a tire to the vehicle centerline. Toe also serves to offset the small deflections of the tire and the wheel support system which occur when the vehicle is rolling forward. In other words, even when the tires and wheels are set to toe in slightly when the vehicle is standing still, the tires tend to roll parallel on the road when the vehicle is moving. Toe affects tire wear.