Standard Rear Axle
The standard rear axle is a semi-floating hyphoid rear axle.
The rear axle housing carries the vehicle weight.
Refer to
Rear Axle With Antilock Brake System (Drum Brakes)
The rear axle is designed for use with the following components:
The rear axle has a hyphoid type differential ring gear.
Refer to
Rear Axle With Antilock Brake System and Differential Assembly
|
| (1) | Differential Bearing Shim |
| (2) | Differential
Bearing Spacer |
| (3) | Differential Bearing |
| (4) | Differential Carrier Bearing Cap |
| (5) | Differential
Carrier Bearing Cap Bolt/Screw |
| (6) | Differential Ring Gear |
| (7) | Differential Pinion Gear Shaft Lock
Bolt/Screw |
| (8) | Differential Pinion Gear Shaft |
| (9) | Differential Case |
| (10) | Front Differential
Side Gear Thrust Washer |
| (11) | Differential Pinion Gear |
| (12) | Differential
Pinion Thrust Washer |
| (13) | Differential Ring Gear Bolt/Screw |
| (14) | Rear Wheel Speed Sensor Reluctor
Wheel |
or
Rear Axle With Antilock Brake and Traction Control Systems Differential
Assembly
|
| (1) | Differential Bearing Shim |
| (2) | Differential
Bearing Spacer |
| (3) | Differential Bearing |
| (4) | Differential Carrier Bearing Cap |
| (5) | Differential
Carrier Bearing Cap Bolt/Screw |
| (6) | Differential Ring Gear |
| (7) | Differential Pinion Gear Shaft Lock
Bolt/Screw |
| (8) | Differential Pinion Gear Shaft |
| (9) | Differential Case |
| (10) | Front Differential
Side Gear Thrust Washer |
| (11) | Differential Pinion Gear |
| (12) | Differential Pinion Thrust Washer |
| (13) | Differential Ring Gear Bolt/Screw |
The centerline of the differential drive pinion gear is located below
the centerline of the hyphoid type differential ring gear.
Refer to
Rear Axle With Antilock Brake System (Drum Brakes)
|
| (1) | Differential Drive Pinion Gear Nut |
| (2) | Differential Drive Pinion Gear Washer |
| (3) | Differential Drive Pinion Gear Yoke |
| (5) | Differential Drive Pinion Gear Dirt Deflector |
| (6) | Differential Drive Pinion Gear Seal |
| (7) | Differential Drive Pinion Gear Outer Bearing |
| (8) | Differential Drive Pinion Gear Bearing
Spacer |
| (9) | Rear Axle Housing Drain Plug |
| (10) | Rear Axle Housing |
| (11) | Rear Axle Vent |
| (12) | Wheel Speed Sensor |
| (13) | Rear Wheel Speed Sensor Bolt/Screw |
| (14) | Differential Drive Pinion Gear Inner
Bearing |
| (15) | Differential Drive Pinion Gear Shim |
| (16) | Differential Drive Pinion Gear |
| (17) | Rear Axle Housing Cover Gasket |
| (18) | Rear Axle Housing Chip Collector Magnet |
| (19) | Rear Axle Housing Cover |
| (20) | Rear Axle Housing Cover Bolt/Screw |
| (21) | Rear Brake Backing Plate Nut |
| (22) | Rear Wheel Bearing |
| (23) | Rear Wheel Bearing Seal |
| (24) | Rear Brake Backing Plate |
| (25) | Rear Brake Backing Plate Bolt/Screw |
| (26) | Rear Axle Shaft Lock |
| (27) | Rear Axle Shaft |
| (28) | Rear Wheel Bolt |
| (29) | Rear Brake |
| (30) | Rear Brake Drum |
or
Rear Axle With Antilock Brake and Traction Control Systems
|
| (1) | Differential Drive Pinion Gear Nut |
| (2) | Differential Drive Pinion Gear Washer |
| (3) | Differential Drive Pinion Gear Yoke |
| (5) | Differential Drive Pinion Gear Dirt Deflector |
| (6) | Differential Drive Pinion Gear Seal |
| (7) | Differential Drive Pinion Gear Outer Bearing |
| (8) | Differential Drive Pinion Gear Bearing
Spacer |
| (9) | Rear Axle Housing Drain Plug |
| (10) | Rear Axle Housing |
| (11) | Rear Axle Vent |
| (12) | Differential Drive Pinion Gear Inner Bearing |
| (13) | Differential Drive Pinion Gear Shim |
| (14) | Differential Drive Pinion Gear |
| (15) | Rear Axle Housing Cover Gasket |
| (16) | Rear Axle Housing Chip Collector Magnet |
| (17) | Rear Axle Housing Cover |
| (18) | Rear Axle Housing Cover Bolt/Screw |
| (19) | Rear Brake Backing Plate Nut |
| (20) | Rear Wheel Bearing |
| (21) | Rear Wheel Bearing Seal |
| (22) | Rear Axle Tube Flange Shim |
| (23) | Rear Brake Caliper Bolt/Screw |
| (24) | Rear Brake Caliper Mounting Plate |
| (25) | Rear Brake Caliper Mounting Plate Bolt/Screw |
| (26) | Wheel Speed Sensor |
| (27) | Rear Brake
Caliper |
| (28) | Rear Axle Shaft Lock |
| (29) | Rear Axle Shaft |
| (30) | Rear Wheel Speed Sensor Reluctor
Wheel |
| (31) | Rear Wheel Bolt |
| (32) | Rear Brake Rotor |
The rear axle housing encloses all of the components that are necessary
for transmitting power from the propeller shaft to the rear wheels and tires.
Bolts attach the rear axle housing cover to the back of the rear axle housing.
Refer to
Rear Axle With Antilock Brake System (Drum Brakes)
|
| (1) | Differential Drive Pinion Gear Nut |
| (2) | Differential Drive Pinion Gear Washer |
| (3) | Differential Drive Pinion Gear Yoke |
| (5) | Differential Drive Pinion Gear Dirt Deflector |
| (6) | Differential Drive Pinion Gear Seal |
| (7) | Differential Drive Pinion Gear Outer Bearing |
| (8) | Differential Drive Pinion Gear Bearing
Spacer |
| (9) | Rear Axle Housing Drain Plug |
| (10) | Rear Axle Housing |
| (11) | Rear Axle Vent |
| (12) | Wheel Speed Sensor |
| (13) | Rear Wheel Speed Sensor Bolt/Screw |
| (14) | Differential Drive Pinion Gear Inner
Bearing |
| (15) | Differential Drive Pinion Gear Shim |
| (16) | Differential Drive Pinion Gear |
| (17) | Rear Axle Housing Cover Gasket |
| (18) | Rear Axle Housing Chip Collector Magnet |
| (19) | Rear Axle Housing Cover |
| (20) | Rear Axle Housing Cover Bolt/Screw |
| (21) | Rear Brake Backing Plate Nut |
| (22) | Rear Wheel Bearing |
| (23) | Rear Wheel Bearing Seal |
| (24) | Rear Brake Backing Plate |
| (25) | Rear Brake Backing Plate Bolt/Screw |
| (26) | Rear Axle Shaft Lock |
| (27) | Rear Axle Shaft |
| (28) | Rear Wheel Bolt |
| (29) | Rear Brake |
| (30) | Rear Brake Drum |
or
Rear Axle With Antilock Brake and Traction Control Systems
|
| (1) | Differential Drive Pinion Gear Nut |
| (2) | Differential Drive Pinion Gear Washer |
| (3) | Differential Drive Pinion Gear Yoke |
| (5) | Differential Drive Pinion Gear Dirt Deflector |
| (6) | Differential Drive Pinion Gear Seal |
| (7) | Differential Drive Pinion Gear Outer Bearing |
| (8) | Differential Drive Pinion Gear Bearing
Spacer |
| (9) | Rear Axle Housing Drain Plug |
| (10) | Rear Axle Housing |
| (11) | Rear Axle Vent |
| (12) | Differential Drive Pinion Gear Inner Bearing |
| (13) | Differential Drive Pinion Gear Shim |
| (14) | Differential Drive Pinion Gear |
| (15) | Rear Axle Housing Cover Gasket |
| (16) | Rear Axle Housing Chip Collector Magnet |
| (17) | Rear Axle Housing Cover |
| (18) | Rear Axle Housing Cover Bolt/Screw |
| (19) | Rear Brake Backing Plate Nut |
| (20) | Rear Wheel Bearing |
| (21) | Rear Wheel Bearing Seal |
| (22) | Rear Axle Tube Flange Shim |
| (23) | Rear Brake Caliper Bolt/Screw |
| (24) | Rear Brake Caliper Mounting Plate |
| (25) | Rear Brake Caliper Mounting Plate Bolt/Screw |
| (26) | Wheel Speed Sensor |
| (27) | Rear Brake
Caliper |
| (28) | Rear Axle Shaft Lock |
| (29) | Rear Axle Shaft |
| (30) | Rear Wheel Speed Sensor Reluctor
Wheel |
| (31) | Rear Wheel Bolt |
| (32) | Rear Brake Rotor |
The rear axle housing cover is removable in order to permit service
of the differential case without removing the entire axle from the vehicle.
Refer to
Rear Axle With Antilock Brake System and Differential Assembly
|
| (1) | Differential Bearing Shim |
| (2) | Differential
Bearing Spacer |
| (3) | Differential Bearing |
| (4) | Differential Carrier Bearing Cap |
| (5) | Differential
Carrier Bearing Cap Bolt/Screw |
| (6) | Differential Ring Gear |
| (7) | Differential Pinion Gear Shaft Lock
Bolt/Screw |
| (8) | Differential Pinion Gear Shaft |
| (9) | Differential Case |
| (10) | Front Differential
Side Gear Thrust Washer |
| (11) | Differential Pinion Gear |
| (12) | Differential
Pinion Thrust Washer |
| (13) | Differential Ring Gear Bolt/Screw |
| (14) | Rear Wheel Speed Sensor Reluctor
Wheel |
or
Rear Axle With Antilock Brake and Traction Control Systems Differential
Assembly
|
| (1) | Differential Bearing Shim |
| (2) | Differential
Bearing Spacer |
| (3) | Differential Bearing |
| (4) | Differential Carrier Bearing Cap |
| (5) | Differential
Carrier Bearing Cap Bolt/Screw |
| (6) | Differential Ring Gear |
| (7) | Differential Pinion Gear Shaft Lock
Bolt/Screw |
| (8) | Differential Pinion Gear Shaft |
| (9) | Differential Case |
| (10) | Front Differential
Side Gear Thrust Washer |
| (11) | Differential Pinion Gear |
| (12) | Differential Pinion Thrust Washer |
| (13) | Differential Ring Gear Bolt/Screw |
A universal joint connects the rear end of the propeller shaft to the
drive pinion gear yoke.
The drive pinion gear yoke has a splined end that fits over the drive
pinion gear.
The splined end of the drive pinion gear yoke also drives the pinion
gear.
Two preloaded tapered drive pinion gear bearings support the drive pinion
gear in the rear axle housing.
Refer to
Rear Axle With Antilock Brake System (Drum Brakes)
|
| (1) | Differential Drive Pinion Gear Nut |
| (2) | Differential Drive Pinion Gear Washer |
| (3) | Differential Drive Pinion Gear Yoke |
| (5) | Differential Drive Pinion Gear Dirt Deflector |
| (6) | Differential Drive Pinion Gear Seal |
| (7) | Differential Drive Pinion Gear Outer Bearing |
| (8) | Differential Drive Pinion Gear Bearing
Spacer |
| (9) | Rear Axle Housing Drain Plug |
| (10) | Rear Axle Housing |
| (11) | Rear Axle Vent |
| (12) | Wheel Speed Sensor |
| (13) | Rear Wheel Speed Sensor Bolt/Screw |
| (14) | Differential Drive Pinion Gear Inner
Bearing |
| (15) | Differential Drive Pinion Gear Shim |
| (16) | Differential Drive Pinion Gear |
| (17) | Rear Axle Housing Cover Gasket |
| (18) | Rear Axle Housing Chip Collector Magnet |
| (19) | Rear Axle Housing Cover |
| (20) | Rear Axle Housing Cover Bolt/Screw |
| (21) | Rear Brake Backing Plate Nut |
| (22) | Rear Wheel Bearing |
| (23) | Rear Wheel Bearing Seal |
| (24) | Rear Brake Backing Plate |
| (25) | Rear Brake Backing Plate Bolt/Screw |
| (26) | Rear Axle Shaft Lock |
| (27) | Rear Axle Shaft |
| (28) | Rear Wheel Bolt |
| (29) | Rear Brake |
| (30) | Rear Brake Drum |
or
Rear Axle With Antilock Brake and Traction Control Systems
|
| (1) | Differential Drive Pinion Gear Nut |
| (2) | Differential Drive Pinion Gear Washer |
| (3) | Differential Drive Pinion Gear Yoke |
| (5) | Differential Drive Pinion Gear Dirt Deflector |
| (6) | Differential Drive Pinion Gear Seal |
| (7) | Differential Drive Pinion Gear Outer Bearing |
| (8) | Differential Drive Pinion Gear Bearing
Spacer |
| (9) | Rear Axle Housing Drain Plug |
| (10) | Rear Axle Housing |
| (11) | Rear Axle Vent |
| (12) | Differential Drive Pinion Gear Inner Bearing |
| (13) | Differential Drive Pinion Gear Shim |
| (14) | Differential Drive Pinion Gear |
| (15) | Rear Axle Housing Cover Gasket |
| (16) | Rear Axle Housing Chip Collector Magnet |
| (17) | Rear Axle Housing Cover |
| (18) | Rear Axle Housing Cover Bolt/Screw |
| (19) | Rear Brake Backing Plate Nut |
| (20) | Rear Wheel Bearing |
| (21) | Rear Wheel Bearing Seal |
| (22) | Rear Axle Tube Flange Shim |
| (23) | Rear Brake Caliper Bolt/Screw |
| (24) | Rear Brake Caliper Mounting Plate |
| (25) | Rear Brake Caliper Mounting Plate Bolt/Screw |
| (26) | Wheel Speed Sensor |
| (27) | Rear Brake
Caliper |
| (28) | Rear Axle Shaft Lock |
| (29) | Rear Axle Shaft |
| (30) | Rear Wheel Speed Sensor Reluctor
Wheel |
| (31) | Rear Wheel Bolt |
| (32) | Rear Brake Rotor |
The races of the following components are press fit into the rear axle
housing:
| • | The inner drive pinion gear bearing |
| | The inner drive pinion gear bearing press fits onto the drive pinion
gear. |
| • | The outer pinion gear bearing |
| | The outer drive pinion gear bearing combines a light press fit to a
close sliding fit on the yoke end of the drive pinion gear). |
| | Refer to
Rear Axle With Antilock Brake System (Drum Brakes)
|
| (1) | Differential Drive Pinion Gear Nut |
| (2) | Differential Drive Pinion Gear Washer |
| (3) | Differential Drive Pinion Gear Yoke |
| (5) | Differential Drive Pinion Gear Dirt Deflector |
| (6) | Differential Drive Pinion Gear Seal |
| (7) | Differential Drive Pinion Gear Outer Bearing |
| (8) | Differential Drive Pinion Gear Bearing
Spacer |
| (9) | Rear Axle Housing Drain Plug |
| (10) | Rear Axle Housing |
| (11) | Rear Axle Vent |
| (12) | Wheel Speed Sensor |
| (13) | Rear Wheel Speed Sensor Bolt/Screw |
| (14) | Differential Drive Pinion Gear Inner
Bearing |
| (15) | Differential Drive Pinion Gear Shim |
| (16) | Differential Drive Pinion Gear |
| (17) | Rear Axle Housing Cover Gasket |
| (18) | Rear Axle Housing Chip Collector Magnet |
| (19) | Rear Axle Housing Cover |
| (20) | Rear Axle Housing Cover Bolt/Screw |
| (21) | Rear Brake Backing Plate Nut |
| (22) | Rear Wheel Bearing |
| (23) | Rear Wheel Bearing Seal |
| (24) | Rear Brake Backing Plate |
| (25) | Rear Brake Backing Plate Bolt/Screw |
| (26) | Rear Axle Shaft Lock |
| (27) | Rear Axle Shaft |
| (28) | Rear Wheel Bolt |
| (29) | Rear Brake |
| (30) | Rear Brake Drum |
or
Rear Axle With Antilock Brake and Traction Control Systems
|
| (1) | Differential Drive Pinion Gear Nut |
| (2) | Differential Drive Pinion Gear Washer |
| (3) | Differential Drive Pinion Gear Yoke |
| (5) | Differential Drive Pinion Gear Dirt Deflector |
| (6) | Differential Drive Pinion Gear Seal |
| (7) | Differential Drive Pinion Gear Outer Bearing |
| (8) | Differential Drive Pinion Gear Bearing
Spacer |
| (9) | Rear Axle Housing Drain Plug |
| (10) | Rear Axle Housing |
| (11) | Rear Axle Vent |
| (12) | Differential Drive Pinion Gear Inner Bearing |
| (13) | Differential Drive Pinion Gear Shim |
| (14) | Differential Drive Pinion Gear |
| (15) | Rear Axle Housing Cover Gasket |
| (16) | Rear Axle Housing Chip Collector Magnet |
| (17) | Rear Axle Housing Cover |
| (18) | Rear Axle Housing Cover Bolt/Screw |
| (19) | Rear Brake Backing Plate Nut |
| (20) | Rear Wheel Bearing |
| (21) | Rear Wheel Bearing Seal |
| (22) | Rear Axle Tube Flange Shim |
| (23) | Rear Brake Caliper Bolt/Screw |
| (24) | Rear Brake Caliper Mounting Plate |
| (25) | Rear Brake Caliper Mounting Plate Bolt/Screw |
| (26) | Wheel Speed Sensor |
| (27) | Rear Brake
Caliper |
| (28) | Rear Axle Shaft Lock |
| (29) | Rear Axle Shaft |
| (30) | Rear Wheel Speed Sensor Reluctor
Wheel |
| (31) | Rear Wheel Bolt |
| (32) | Rear Brake Rotor |
|
The races of the inner drive pinion gear bearing and the outer pinion
gear bearing press against shoulders recessed in the rear axle housing (10).
Refer to
Rear Axle With Antilock Brake System (Drum Brakes)
|
| (1) | Differential Drive Pinion Gear Nut |
| (2) | Differential Drive Pinion Gear Washer |
| (3) | Differential Drive Pinion Gear Yoke |
| (5) | Differential Drive Pinion Gear Dirt Deflector |
| (6) | Differential Drive Pinion Gear Seal |
| (7) | Differential Drive Pinion Gear Outer Bearing |
| (8) | Differential Drive Pinion Gear Bearing
Spacer |
| (9) | Rear Axle Housing Drain Plug |
| (10) | Rear Axle Housing |
| (11) | Rear Axle Vent |
| (12) | Wheel Speed Sensor |
| (13) | Rear Wheel Speed Sensor Bolt/Screw |
| (14) | Differential Drive Pinion Gear Inner
Bearing |
| (15) | Differential Drive Pinion Gear Shim |
| (16) | Differential Drive Pinion Gear |
| (17) | Rear Axle Housing Cover Gasket |
| (18) | Rear Axle Housing Chip Collector Magnet |
| (19) | Rear Axle Housing Cover |
| (20) | Rear Axle Housing Cover Bolt/Screw |
| (21) | Rear Brake Backing Plate Nut |
| (22) | Rear Wheel Bearing |
| (23) | Rear Wheel Bearing Seal |
| (24) | Rear Brake Backing Plate |
| (25) | Rear Brake Backing Plate Bolt/Screw |
| (26) | Rear Axle Shaft Lock |
| (27) | Rear Axle Shaft |
| (28) | Rear Wheel Bolt |
| (29) | Rear Brake |
| (30) | Rear Brake Drum |
or
Rear Axle With Antilock Brake and Traction Control Systems
|
| (1) | Differential Drive Pinion Gear Nut |
| (2) | Differential Drive Pinion Gear Washer |
| (3) | Differential Drive Pinion Gear Yoke |
| (5) | Differential Drive Pinion Gear Dirt Deflector |
| (6) | Differential Drive Pinion Gear Seal |
| (7) | Differential Drive Pinion Gear Outer Bearing |
| (8) | Differential Drive Pinion Gear Bearing
Spacer |
| (9) | Rear Axle Housing Drain Plug |
| (10) | Rear Axle Housing |
| (11) | Rear Axle Vent |
| (12) | Differential Drive Pinion Gear Inner Bearing |
| (13) | Differential Drive Pinion Gear Shim |
| (14) | Differential Drive Pinion Gear |
| (15) | Rear Axle Housing Cover Gasket |
| (16) | Rear Axle Housing Chip Collector Magnet |
| (17) | Rear Axle Housing Cover |
| (18) | Rear Axle Housing Cover Bolt/Screw |
| (19) | Rear Brake Backing Plate Nut |
| (20) | Rear Wheel Bearing |
| (21) | Rear Wheel Bearing Seal |
| (22) | Rear Axle Tube Flange Shim |
| (23) | Rear Brake Caliper Bolt/Screw |
| (24) | Rear Brake Caliper Mounting Plate |
| (25) | Rear Brake Caliper Mounting Plate Bolt/Screw |
| (26) | Wheel Speed Sensor |
| (27) | Rear Brake
Caliper |
| (28) | Rear Axle Shaft Lock |
| (29) | Rear Axle Shaft |
| (30) | Rear Wheel Speed Sensor Reluctor
Wheel |
| (31) | Rear Wheel Bolt |
| (32) | Rear Brake Rotor |
Tightening the drive pinion gear nut compresses a collapsible drive
pinion gear spacer. The collaspsable drive pinion gear spacer bears against
the following components:
| • | The outer drive pinion gear bearing |
| • | A shoulder on the drive pinion gear |
| | Refer to
Rear Axle With Antilock Brake System (Drum Brakes)
|
| (1) | Differential Drive Pinion Gear Nut |
| (2) | Differential Drive Pinion Gear Washer |
| (3) | Differential Drive Pinion Gear Yoke |
| (5) | Differential Drive Pinion Gear Dirt Deflector |
| (6) | Differential Drive Pinion Gear Seal |
| (7) | Differential Drive Pinion Gear Outer Bearing |
| (8) | Differential Drive Pinion Gear Bearing
Spacer |
| (9) | Rear Axle Housing Drain Plug |
| (10) | Rear Axle Housing |
| (11) | Rear Axle Vent |
| (12) | Wheel Speed Sensor |
| (13) | Rear Wheel Speed Sensor Bolt/Screw |
| (14) | Differential Drive Pinion Gear Inner
Bearing |
| (15) | Differential Drive Pinion Gear Shim |
| (16) | Differential Drive Pinion Gear |
| (17) | Rear Axle Housing Cover Gasket |
| (18) | Rear Axle Housing Chip Collector Magnet |
| (19) | Rear Axle Housing Cover |
| (20) | Rear Axle Housing Cover Bolt/Screw |
| (21) | Rear Brake Backing Plate Nut |
| (22) | Rear Wheel Bearing |
| (23) | Rear Wheel Bearing Seal |
| (24) | Rear Brake Backing Plate |
| (25) | Rear Brake Backing Plate Bolt/Screw |
| (26) | Rear Axle Shaft Lock |
| (27) | Rear Axle Shaft |
| (28) | Rear Wheel Bolt |
| (29) | Rear Brake |
| (30) | Rear Brake Drum |
or
Rear Axle With Antilock Brake and Traction Control Systems
|
| (1) | Differential Drive Pinion Gear Nut |
| (2) | Differential Drive Pinion Gear Washer |
| (3) | Differential Drive Pinion Gear Yoke |
| (5) | Differential Drive Pinion Gear Dirt Deflector |
| (6) | Differential Drive Pinion Gear Seal |
| (7) | Differential Drive Pinion Gear Outer Bearing |
| (8) | Differential Drive Pinion Gear Bearing
Spacer |
| (9) | Rear Axle Housing Drain Plug |
| (10) | Rear Axle Housing |
| (11) | Rear Axle Vent |
| (12) | Differential Drive Pinion Gear Inner Bearing |
| (13) | Differential Drive Pinion Gear Shim |
| (14) | Differential Drive Pinion Gear |
| (15) | Rear Axle Housing Cover Gasket |
| (16) | Rear Axle Housing Chip Collector Magnet |
| (17) | Rear Axle Housing Cover |
| (18) | Rear Axle Housing Cover Bolt/Screw |
| (19) | Rear Brake Backing Plate Nut |
| (20) | Rear Wheel Bearing |
| (21) | Rear Wheel Bearing Seal |
| (22) | Rear Axle Tube Flange Shim |
| (23) | Rear Brake Caliper Bolt/Screw |
| (24) | Rear Brake Caliper Mounting Plate |
| (25) | Rear Brake Caliper Mounting Plate Bolt/Screw |
| (26) | Wheel Speed Sensor |
| (27) | Rear Brake
Caliper |
| (28) | Rear Axle Shaft Lock |
| (29) | Rear Axle Shaft |
| (30) | Rear Wheel Speed Sensor Reluctor
Wheel |
| (31) | Rear Wheel Bolt |
| (32) | Rear Brake Rotor |
|
The drive pinion gear spacer (8) performs the following actions:
| • | Enables automatic bearing preload adjustment. |
| • | Maintains a preload on the inner drive pinion gear bearing. |
| • | Maintains a preload on the outer drive pinion gear bearing. |
| | Refer to
Rear Axle With Antilock Brake System (Drum Brakes)
|
| (1) | Differential Drive Pinion Gear Nut |
| (2) | Differential Drive Pinion Gear Washer |
| (3) | Differential Drive Pinion Gear Yoke |
| (5) | Differential Drive Pinion Gear Dirt Deflector |
| (6) | Differential Drive Pinion Gear Seal |
| (7) | Differential Drive Pinion Gear Outer Bearing |
| (8) | Differential Drive Pinion Gear Bearing
Spacer |
| (9) | Rear Axle Housing Drain Plug |
| (10) | Rear Axle Housing |
| (11) | Rear Axle Vent |
| (12) | Wheel Speed Sensor |
| (13) | Rear Wheel Speed Sensor Bolt/Screw |
| (14) | Differential Drive Pinion Gear Inner
Bearing |
| (15) | Differential Drive Pinion Gear Shim |
| (16) | Differential Drive Pinion Gear |
| (17) | Rear Axle Housing Cover Gasket |
| (18) | Rear Axle Housing Chip Collector Magnet |
| (19) | Rear Axle Housing Cover |
| (20) | Rear Axle Housing Cover Bolt/Screw |
| (21) | Rear Brake Backing Plate Nut |
| (22) | Rear Wheel Bearing |
| (23) | Rear Wheel Bearing Seal |
| (24) | Rear Brake Backing Plate |
| (25) | Rear Brake Backing Plate Bolt/Screw |
| (26) | Rear Axle Shaft Lock |
| (27) | Rear Axle Shaft |
| (28) | Rear Wheel Bolt |
| (29) | Rear Brake |
| (30) | Rear Brake Drum |
or
Rear Axle With Antilock Brake and Traction Control Systems
|
| (1) | Differential Drive Pinion Gear Nut |
| (2) | Differential Drive Pinion Gear Washer |
| (3) | Differential Drive Pinion Gear Yoke |
| (5) | Differential Drive Pinion Gear Dirt Deflector |
| (6) | Differential Drive Pinion Gear Seal |
| (7) | Differential Drive Pinion Gear Outer Bearing |
| (8) | Differential Drive Pinion Gear Bearing
Spacer |
| (9) | Rear Axle Housing Drain Plug |
| (10) | Rear Axle Housing |
| (11) | Rear Axle Vent |
| (12) | Differential Drive Pinion Gear Inner Bearing |
| (13) | Differential Drive Pinion Gear Shim |
| (14) | Differential Drive Pinion Gear |
| (15) | Rear Axle Housing Cover Gasket |
| (16) | Rear Axle Housing Chip Collector Magnet |
| (17) | Rear Axle Housing Cover |
| (18) | Rear Axle Housing Cover Bolt/Screw |
| (19) | Rear Brake Backing Plate Nut |
| (20) | Rear Wheel Bearing |
| (21) | Rear Wheel Bearing Seal |
| (22) | Rear Axle Tube Flange Shim |
| (23) | Rear Brake Caliper Bolt/Screw |
| (24) | Rear Brake Caliper Mounting Plate |
| (25) | Rear Brake Caliper Mounting Plate Bolt/Screw |
| (26) | Wheel Speed Sensor |
| (27) | Rear Brake
Caliper |
| (28) | Rear Axle Shaft Lock |
| (29) | Rear Axle Shaft |
| (30) | Rear Wheel Speed Sensor Reluctor
Wheel |
| (31) | Rear Wheel Bolt |
| (32) | Rear Brake Rotor |
|
Placing selective drive pinion gear shims between the following components
enables adjustment of the fore-and-aft position of the drive pinion gear:
| • | The head of the drive pinion gear |
| • | The inner drive pinion gear bearing |
| | Refer to
Rear Axle With Antilock Brake System (Drum Brakes)
|
| (1) | Differential Drive Pinion Gear Nut |
| (2) | Differential Drive Pinion Gear Washer |
| (3) | Differential Drive Pinion Gear Yoke |
| (5) | Differential Drive Pinion Gear Dirt Deflector |
| (6) | Differential Drive Pinion Gear Seal |
| (7) | Differential Drive Pinion Gear Outer Bearing |
| (8) | Differential Drive Pinion Gear Bearing
Spacer |
| (9) | Rear Axle Housing Drain Plug |
| (10) | Rear Axle Housing |
| (11) | Rear Axle Vent |
| (12) | Wheel Speed Sensor |
| (13) | Rear Wheel Speed Sensor Bolt/Screw |
| (14) | Differential Drive Pinion Gear Inner
Bearing |
| (15) | Differential Drive Pinion Gear Shim |
| (16) | Differential Drive Pinion Gear |
| (17) | Rear Axle Housing Cover Gasket |
| (18) | Rear Axle Housing Chip Collector Magnet |
| (19) | Rear Axle Housing Cover |
| (20) | Rear Axle Housing Cover Bolt/Screw |
| (21) | Rear Brake Backing Plate Nut |
| (22) | Rear Wheel Bearing |
| (23) | Rear Wheel Bearing Seal |
| (24) | Rear Brake Backing Plate |
| (25) | Rear Brake Backing Plate Bolt/Screw |
| (26) | Rear Axle Shaft Lock |
| (27) | Rear Axle Shaft |
| (28) | Rear Wheel Bolt |
| (29) | Rear Brake |
| (30) | Rear Brake Drum |
or
Rear Axle With Antilock Brake and Traction Control Systems
|
| (1) | Differential Drive Pinion Gear Nut |
| (2) | Differential Drive Pinion Gear Washer |
| (3) | Differential Drive Pinion Gear Yoke |
| (5) | Differential Drive Pinion Gear Dirt Deflector |
| (6) | Differential Drive Pinion Gear Seal |
| (7) | Differential Drive Pinion Gear Outer Bearing |
| (8) | Differential Drive Pinion Gear Bearing
Spacer |
| (9) | Rear Axle Housing Drain Plug |
| (10) | Rear Axle Housing |
| (11) | Rear Axle Vent |
| (12) | Differential Drive Pinion Gear Inner Bearing |
| (13) | Differential Drive Pinion Gear Shim |
| (14) | Differential Drive Pinion Gear |
| (15) | Rear Axle Housing Cover Gasket |
| (16) | Rear Axle Housing Chip Collector Magnet |
| (17) | Rear Axle Housing Cover |
| (18) | Rear Axle Housing Cover Bolt/Screw |
| (19) | Rear Brake Backing Plate Nut |
| (20) | Rear Wheel Bearing |
| (21) | Rear Wheel Bearing Seal |
| (22) | Rear Axle Tube Flange Shim |
| (23) | Rear Brake Caliper Bolt/Screw |
| (24) | Rear Brake Caliper Mounting Plate |
| (25) | Rear Brake Caliper Mounting Plate Bolt/Screw |
| (26) | Wheel Speed Sensor |
| (27) | Rear Brake
Caliper |
| (28) | Rear Axle Shaft Lock |
| (29) | Rear Axle Shaft |
| (30) | Rear Wheel Speed Sensor Reluctor
Wheel |
| (31) | Rear Wheel Bolt |
| (32) | Rear Brake Rotor |
|
The differential case is one piece.
Two differential side bearings support the differential case in the
rear axle housing.
Refer to
Rear Axle With Antilock Brake System and Differential Assembly
|
| (1) | Differential Bearing Shim |
| (2) | Differential
Bearing Spacer |
| (3) | Differential Bearing |
| (4) | Differential Carrier Bearing Cap |
| (5) | Differential
Carrier Bearing Cap Bolt/Screw |
| (6) | Differential Ring Gear |
| (7) | Differential Pinion Gear Shaft Lock
Bolt/Screw |
| (8) | Differential Pinion Gear Shaft |
| (9) | Differential Case |
| (10) | Front Differential
Side Gear Thrust Washer |
| (11) | Differential Pinion Gear |
| (12) | Differential
Pinion Thrust Washer |
| (13) | Differential Ring Gear Bolt/Screw |
| (14) | Rear Wheel Speed Sensor Reluctor
Wheel |
or
Rear Axle With Antilock Brake and Traction Control Systems Differential
Assembly
|
| (1) | Differential Bearing Shim |
| (2) | Differential
Bearing Spacer |
| (3) | Differential Bearing |
| (4) | Differential Carrier Bearing Cap |
| (5) | Differential
Carrier Bearing Cap Bolt/Screw |
| (6) | Differential Ring Gear |
| (7) | Differential Pinion Gear Shaft Lock
Bolt/Screw |
| (8) | Differential Pinion Gear Shaft |
| (9) | Differential Case |
| (10) | Front Differential
Side Gear Thrust Washer |
| (11) | Differential Pinion Gear |
| (12) | Differential Pinion Thrust Washer |
| (13) | Differential Ring Gear Bolt/Screw |
The differential side bearings are preloaded by the insertion of differential
bearing shims (1) between the following components:
| • | The differential side bearings |
| | Refer to
Rear Axle With Antilock Brake System and Differential Assembly
|
| (1) | Differential Bearing Shim |
| (2) | Differential
Bearing Spacer |
| (3) | Differential Bearing |
| (4) | Differential Carrier Bearing Cap |
| (5) | Differential
Carrier Bearing Cap Bolt/Screw |
| (6) | Differential Ring Gear |
| (7) | Differential Pinion Gear Shaft Lock
Bolt/Screw |
| (8) | Differential Pinion Gear Shaft |
| (9) | Differential Case |
| (10) | Front Differential
Side Gear Thrust Washer |
| (11) | Differential Pinion Gear |
| (12) | Differential
Pinion Thrust Washer |
| (13) | Differential Ring Gear Bolt/Screw |
| (14) | Rear Wheel Speed Sensor Reluctor
Wheel |
or
Rear Axle With Antilock Brake and Traction Control Systems Differential
Assembly
|
| (1) | Differential Bearing Shim |
| (2) | Differential
Bearing Spacer |
| (3) | Differential Bearing |
| (4) | Differential Carrier Bearing Cap |
| (5) | Differential
Carrier Bearing Cap Bolt/Screw |
| (6) | Differential Ring Gear |
| (7) | Differential Pinion Gear Shaft Lock
Bolt/Screw |
| (8) | Differential Pinion Gear Shaft |
| (9) | Differential Case |
| (10) | Front Differential
Side Gear Thrust Washer |
| (11) | Differential Pinion Gear |
| (12) | Differential Pinion Thrust Washer |
| (13) | Differential Ring Gear Bolt/Screw |
|
Vary the shim thickness from side to side positions the differential
case for proper differential ring gear-to-differential drive pinion gear
backlash.
Bolts attach the differential ring gear to the differential case.
Refer to
Rear Axle With Antilock Brake System and Differential Assembly
|
| (1) | Differential Bearing Shim |
| (2) | Differential
Bearing Spacer |
| (3) | Differential Bearing |
| (4) | Differential Carrier Bearing Cap |
| (5) | Differential
Carrier Bearing Cap Bolt/Screw |
| (6) | Differential Ring Gear |
| (7) | Differential Pinion Gear Shaft Lock
Bolt/Screw |
| (8) | Differential Pinion Gear Shaft |
| (9) | Differential Case |
| (10) | Front Differential
Side Gear Thrust Washer |
| (11) | Differential Pinion Gear |
| (12) | Differential
Pinion Thrust Washer |
| (13) | Differential Ring Gear Bolt/Screw |
| (14) | Rear Wheel Speed Sensor Reluctor
Wheel |
or
Rear Axle With Antilock Brake and Traction Control Systems Differential
Assembly
|
| (1) | Differential Bearing Shim |
| (2) | Differential
Bearing Spacer |
| (3) | Differential Bearing |
| (4) | Differential Carrier Bearing Cap |
| (5) | Differential
Carrier Bearing Cap Bolt/Screw |
| (6) | Differential Ring Gear |
| (7) | Differential Pinion Gear Shaft Lock
Bolt/Screw |
| (8) | Differential Pinion Gear Shaft |
| (9) | Differential Case |
| (10) | Front Differential
Side Gear Thrust Washer |
| (11) | Differential Pinion Gear |
| (12) | Differential Pinion Thrust Washer |
| (13) | Differential Ring Gear Bolt/Screw |
The following components have splined bores used for driving the axle
shaft:
| • | The left differential pinion gear |
| • | The right differential pinion gear |
| | Refer to
Rear Axle With Antilock Brake System (Drum Brakes)
|
| (1) | Differential Drive Pinion Gear Nut |
| (2) | Differential Drive Pinion Gear Washer |
| (3) | Differential Drive Pinion Gear Yoke |
| (5) | Differential Drive Pinion Gear Dirt Deflector |
| (6) | Differential Drive Pinion Gear Seal |
| (7) | Differential Drive Pinion Gear Outer Bearing |
| (8) | Differential Drive Pinion Gear Bearing
Spacer |
| (9) | Rear Axle Housing Drain Plug |
| (10) | Rear Axle Housing |
| (11) | Rear Axle Vent |
| (12) | Wheel Speed Sensor |
| (13) | Rear Wheel Speed Sensor Bolt/Screw |
| (14) | Differential Drive Pinion Gear Inner
Bearing |
| (15) | Differential Drive Pinion Gear Shim |
| (16) | Differential Drive Pinion Gear |
| (17) | Rear Axle Housing Cover Gasket |
| (18) | Rear Axle Housing Chip Collector Magnet |
| (19) | Rear Axle Housing Cover |
| (20) | Rear Axle Housing Cover Bolt/Screw |
| (21) | Rear Brake Backing Plate Nut |
| (22) | Rear Wheel Bearing |
| (23) | Rear Wheel Bearing Seal |
| (24) | Rear Brake Backing Plate |
| (25) | Rear Brake Backing Plate Bolt/Screw |
| (26) | Rear Axle Shaft Lock |
| (27) | Rear Axle Shaft |
| (28) | Rear Wheel Bolt |
| (29) | Rear Brake |
| (30) | Rear Brake Drum |
or
Rear Axle With Antilock Brake and Traction Control Systems
|
| (1) | Differential Drive Pinion Gear Nut |
| (2) | Differential Drive Pinion Gear Washer |
| (3) | Differential Drive Pinion Gear Yoke |
| (5) | Differential Drive Pinion Gear Dirt Deflector |
| (6) | Differential Drive Pinion Gear Seal |
| (7) | Differential Drive Pinion Gear Outer Bearing |
| (8) | Differential Drive Pinion Gear Bearing
Spacer |
| (9) | Rear Axle Housing Drain Plug |
| (10) | Rear Axle Housing |
| (11) | Rear Axle Vent |
| (12) | Differential Drive Pinion Gear Inner Bearing |
| (13) | Differential Drive Pinion Gear Shim |
| (14) | Differential Drive Pinion Gear |
| (15) | Rear Axle Housing Cover Gasket |
| (16) | Rear Axle Housing Chip Collector Magnet |
| (17) | Rear Axle Housing Cover |
| (18) | Rear Axle Housing Cover Bolt/Screw |
| (19) | Rear Brake Backing Plate Nut |
| (20) | Rear Wheel Bearing |
| (21) | Rear Wheel Bearing Seal |
| (22) | Rear Axle Tube Flange Shim |
| (23) | Rear Brake Caliper Bolt/Screw |
| (24) | Rear Brake Caliper Mounting Plate |
| (25) | Rear Brake Caliper Mounting Plate Bolt/Screw |
| (26) | Wheel Speed Sensor |
| (27) | Rear Brake
Caliper |
| (28) | Rear Axle Shaft Lock |
| (29) | Rear Axle Shaft |
| (30) | Rear Wheel Speed Sensor Reluctor
Wheel |
| (31) | Rear Wheel Bolt |
| (32) | Rear Brake Rotor |
|
The position of the above components permits them to turn in counterbored
cavities of the differential case (9). The following components have smooth
bores:
| • | The upper differential pinion gear |
| • | The lower differential pinion gear |
| | Refer to
Rear Axle With Antilock Brake System and Differential Assembly
|
| (1) | Differential Bearing Shim |
| (2) | Differential
Bearing Spacer |
| (3) | Differential Bearing |
| (4) | Differential Carrier Bearing Cap |
| (5) | Differential
Carrier Bearing Cap Bolt/Screw |
| (6) | Differential Ring Gear |
| (7) | Differential Pinion Gear Shaft Lock
Bolt/Screw |
| (8) | Differential Pinion Gear Shaft |
| (9) | Differential Case |
| (10) | Front Differential
Side Gear Thrust Washer |
| (11) | Differential Pinion Gear |
| (12) | Differential
Pinion Thrust Washer |
| (13) | Differential Ring Gear Bolt/Screw |
| (14) | Rear Wheel Speed Sensor Reluctor
Wheel |
or
Rear Axle With Antilock Brake and Traction Control Systems Differential
Assembly
|
| (1) | Differential Bearing Shim |
| (2) | Differential
Bearing Spacer |
| (3) | Differential Bearing |
| (4) | Differential Carrier Bearing Cap |
| (5) | Differential
Carrier Bearing Cap Bolt/Screw |
| (6) | Differential Ring Gear |
| (7) | Differential Pinion Gear Shaft Lock
Bolt/Screw |
| (8) | Differential Pinion Gear Shaft |
| (9) | Differential Case |
| (10) | Front Differential
Side Gear Thrust Washer |
| (11) | Differential Pinion Gear |
| (12) | Differential Pinion Thrust Washer |
| (13) | Differential Ring Gear Bolt/Screw |
|
The differential pinion gear shaft holds the above components in position.
The differential pinion gear shaft mounts and locks in the differential case.
All four of the gears mesh with each other.
The following components turn freely on the pinion gear shaft:
| • | The upper differential pinion gear |
| • | The lower differential pinion gear |
| | Refer to
Rear Axle With Antilock Brake System and Differential Assembly
|
| (1) | Differential Bearing Shim |
| (2) | Differential
Bearing Spacer |
| (3) | Differential Bearing |
| (4) | Differential Carrier Bearing Cap |
| (5) | Differential
Carrier Bearing Cap Bolt/Screw |
| (6) | Differential Ring Gear |
| (7) | Differential Pinion Gear Shaft Lock
Bolt/Screw |
| (8) | Differential Pinion Gear Shaft |
| (9) | Differential Case |
| (10) | Front Differential
Side Gear Thrust Washer |
| (11) | Differential Pinion Gear |
| (12) | Differential
Pinion Thrust Washer |
| (13) | Differential Ring Gear Bolt/Screw |
| (14) | Rear Wheel Speed Sensor Reluctor
Wheel |
or
Rear Axle With Antilock Brake and Traction Control Systems Differential
Assembly
|
| (1) | Differential Bearing Shim |
| (2) | Differential
Bearing Spacer |
| (3) | Differential Bearing |
| (4) | Differential Carrier Bearing Cap |
| (5) | Differential
Carrier Bearing Cap Bolt/Screw |
| (6) | Differential Ring Gear |
| (7) | Differential Pinion Gear Shaft Lock
Bolt/Screw |
| (8) | Differential Pinion Gear Shaft |
| (9) | Differential Case |
| (10) | Front Differential
Side Gear Thrust Washer |
| (11) | Differential Pinion Gear |
| (12) | Differential Pinion Thrust Washer |
| (13) | Differential Ring Gear Bolt/Screw |
|
The above components act as idler gears when the rear wheels turn at
different speeds.
The following components back the differential pinion gears:
| • | Differential pinion thrust washers |
| • | Differential side gear thrust washers |
| | Refer to
Rear Axle With Antilock Brake System and Differential Assembly
|
| (1) | Differential Bearing Shim |
| (2) | Differential
Bearing Spacer |
| (3) | Differential Bearing |
| (4) | Differential Carrier Bearing Cap |
| (5) | Differential
Carrier Bearing Cap Bolt/Screw |
| (6) | Differential Ring Gear |
| (7) | Differential Pinion Gear Shaft Lock
Bolt/Screw |
| (8) | Differential Pinion Gear Shaft |
| (9) | Differential Case |
| (10) | Front Differential
Side Gear Thrust Washer |
| (11) | Differential Pinion Gear |
| (12) | Differential
Pinion Thrust Washer |
| (13) | Differential Ring Gear Bolt/Screw |
| (14) | Rear Wheel Speed Sensor Reluctor
Wheel |
or
Rear Axle With Antilock Brake and Traction Control Systems Differential
Assembly
|
| (1) | Differential Bearing Shim |
| (2) | Differential
Bearing Spacer |
| (3) | Differential Bearing |
| (4) | Differential Carrier Bearing Cap |
| (5) | Differential
Carrier Bearing Cap Bolt/Screw |
| (6) | Differential Ring Gear |
| (7) | Differential Pinion Gear Shaft Lock
Bolt/Screw |
| (8) | Differential Pinion Gear Shaft |
| (9) | Differential Case |
| (10) | Front Differential
Side Gear Thrust Washer |
| (11) | Differential Pinion Gear |
| (12) | Differential Pinion Thrust Washer |
| (13) | Differential Ring Gear Bolt/Screw |
|
Vehicles that are equipped with the standard rear axle with the antilock
brake system (ABS) have a rear wheel speed sensor reluctor wheel (14) press
fit to the differential case (8).
Refer to
Rear Axle With Antilock Brake System and Differential Assembly
|
| (1) | Differential Bearing Shim |
| (2) | Differential
Bearing Spacer |
| (3) | Differential Bearing |
| (4) | Differential Carrier Bearing Cap |
| (5) | Differential
Carrier Bearing Cap Bolt/Screw |
| (6) | Differential Ring Gear |
| (7) | Differential Pinion Gear Shaft Lock
Bolt/Screw |
| (8) | Differential Pinion Gear Shaft |
| (9) | Differential Case |
| (10) | Front Differential
Side Gear Thrust Washer |
| (11) | Differential Pinion Gear |
| (12) | Differential
Pinion Thrust Washer |
| (13) | Differential Ring Gear Bolt/Screw |
| (14) | Rear Wheel Speed Sensor Reluctor
Wheel |
A wheel speed sensor (12 or 26) is bolted to the top of the rear axle
housing (10).
Refer to
Rear Axle With Antilock Brake System (Drum Brakes)
|
| (1) | Differential Drive Pinion Gear Nut |
| (2) | Differential Drive Pinion Gear Washer |
| (3) | Differential Drive Pinion Gear Yoke |
| (5) | Differential Drive Pinion Gear Dirt Deflector |
| (6) | Differential Drive Pinion Gear Seal |
| (7) | Differential Drive Pinion Gear Outer Bearing |
| (8) | Differential Drive Pinion Gear Bearing
Spacer |
| (9) | Rear Axle Housing Drain Plug |
| (10) | Rear Axle Housing |
| (11) | Rear Axle Vent |
| (12) | Wheel Speed Sensor |
| (13) | Rear Wheel Speed Sensor Bolt/Screw |
| (14) | Differential Drive Pinion Gear Inner
Bearing |
| (15) | Differential Drive Pinion Gear Shim |
| (16) | Differential Drive Pinion Gear |
| (17) | Rear Axle Housing Cover Gasket |
| (18) | Rear Axle Housing Chip Collector Magnet |
| (19) | Rear Axle Housing Cover |
| (20) | Rear Axle Housing Cover Bolt/Screw |
| (21) | Rear Brake Backing Plate Nut |
| (22) | Rear Wheel Bearing |
| (23) | Rear Wheel Bearing Seal |
| (24) | Rear Brake Backing Plate |
| (25) | Rear Brake Backing Plate Bolt/Screw |
| (26) | Rear Axle Shaft Lock |
| (27) | Rear Axle Shaft |
| (28) | Rear Wheel Bolt |
| (29) | Rear Brake |
| (30) | Rear Brake Drum |
The sensor provides wheel speed information to the electronic brake
control module (EBCM). Refer to
ABS/TCS System Description
in Antilock Brakes System for more information.
The rear wheel speed sensor reluctor wheels are an integral part of
the rear axle shaft (27 or 29) on vehicles that contain the following components:
| • | The limited slip rear axle |
| • | The antilock brake system (ABS) |
| | Refer to
Rear Axle With Antilock Brake System (Drum Brakes)
|
| (1) | Differential Drive Pinion Gear Nut |
| (2) | Differential Drive Pinion Gear Washer |
| (3) | Differential Drive Pinion Gear Yoke |
| (5) | Differential Drive Pinion Gear Dirt Deflector |
| (6) | Differential Drive Pinion Gear Seal |
| (7) | Differential Drive Pinion Gear Outer Bearing |
| (8) | Differential Drive Pinion Gear Bearing
Spacer |
| (9) | Rear Axle Housing Drain Plug |
| (10) | Rear Axle Housing |
| (11) | Rear Axle Vent |
| (12) | Wheel Speed Sensor |
| (13) | Rear Wheel Speed Sensor Bolt/Screw |
| (14) | Differential Drive Pinion Gear Inner
Bearing |
| (15) | Differential Drive Pinion Gear Shim |
| (16) | Differential Drive Pinion Gear |
| (17) | Rear Axle Housing Cover Gasket |
| (18) | Rear Axle Housing Chip Collector Magnet |
| (19) | Rear Axle Housing Cover |
| (20) | Rear Axle Housing Cover Bolt/Screw |
| (21) | Rear Brake Backing Plate Nut |
| (22) | Rear Wheel Bearing |
| (23) | Rear Wheel Bearing Seal |
| (24) | Rear Brake Backing Plate |
| (25) | Rear Brake Backing Plate Bolt/Screw |
| (26) | Rear Axle Shaft Lock |
| (27) | Rear Axle Shaft |
| (28) | Rear Wheel Bolt |
| (29) | Rear Brake |
| (30) | Rear Brake Drum |
|
| | Refer to
Rear Axle With Antilock Brake and Traction Control Systems Differential
Assembly
|
| (1) | Differential Bearing Shim |
| (2) | Differential
Bearing Spacer |
| (3) | Differential Bearing |
| (4) | Differential Carrier Bearing Cap |
| (5) | Differential
Carrier Bearing Cap Bolt/Screw |
| (6) | Differential Ring Gear |
| (7) | Differential Pinion Gear Shaft Lock
Bolt/Screw |
| (8) | Differential Pinion Gear Shaft |
| (9) | Differential Case |
| (10) | Front Differential
Side Gear Thrust Washer |
| (11) | Differential Pinion Gear |
| (12) | Differential Pinion Thrust Washer |
| (13) | Differential Ring Gear Bolt/Screw |
|
The rear wheel speed sensor reluctor wheels are not separately serviceable.
The wheel speed sensor (12 or 26) mounts to the rear brake caliper mounting
plate (24).
Refer to
Rear Axle With Antilock Brake System (Drum Brakes)
|
| (1) | Differential Drive Pinion Gear Nut |
| (2) | Differential Drive Pinion Gear Washer |
| (3) | Differential Drive Pinion Gear Yoke |
| (5) | Differential Drive Pinion Gear Dirt Deflector |
| (6) | Differential Drive Pinion Gear Seal |
| (7) | Differential Drive Pinion Gear Outer Bearing |
| (8) | Differential Drive Pinion Gear Bearing
Spacer |
| (9) | Rear Axle Housing Drain Plug |
| (10) | Rear Axle Housing |
| (11) | Rear Axle Vent |
| (12) | Wheel Speed Sensor |
| (13) | Rear Wheel Speed Sensor Bolt/Screw |
| (14) | Differential Drive Pinion Gear Inner
Bearing |
| (15) | Differential Drive Pinion Gear Shim |
| (16) | Differential Drive Pinion Gear |
| (17) | Rear Axle Housing Cover Gasket |
| (18) | Rear Axle Housing Chip Collector Magnet |
| (19) | Rear Axle Housing Cover |
| (20) | Rear Axle Housing Cover Bolt/Screw |
| (21) | Rear Brake Backing Plate Nut |
| (22) | Rear Wheel Bearing |
| (23) | Rear Wheel Bearing Seal |
| (24) | Rear Brake Backing Plate |
| (25) | Rear Brake Backing Plate Bolt/Screw |
| (26) | Rear Axle Shaft Lock |
| (27) | Rear Axle Shaft |
| (28) | Rear Wheel Bolt |
| (29) | Rear Brake |
| (30) | Rear Brake Drum |
or
Rear Axle With Antilock Brake and Traction Control Systems
|
| (1) | Differential Drive Pinion Gear Nut |
| (2) | Differential Drive Pinion Gear Washer |
| (3) | Differential Drive Pinion Gear Yoke |
| (5) | Differential Drive Pinion Gear Dirt Deflector |
| (6) | Differential Drive Pinion Gear Seal |
| (7) | Differential Drive Pinion Gear Outer Bearing |
| (8) | Differential Drive Pinion Gear Bearing
Spacer |
| (9) | Rear Axle Housing Drain Plug |
| (10) | Rear Axle Housing |
| (11) | Rear Axle Vent |
| (12) | Differential Drive Pinion Gear Inner Bearing |
| (13) | Differential Drive Pinion Gear Shim |
| (14) | Differential Drive Pinion Gear |
| (15) | Rear Axle Housing Cover Gasket |
| (16) | Rear Axle Housing Chip Collector Magnet |
| (17) | Rear Axle Housing Cover |
| (18) | Rear Axle Housing Cover Bolt/Screw |
| (19) | Rear Brake Backing Plate Nut |
| (20) | Rear Wheel Bearing |
| (21) | Rear Wheel Bearing Seal |
| (22) | Rear Axle Tube Flange Shim |
| (23) | Rear Brake Caliper Bolt/Screw |
| (24) | Rear Brake Caliper Mounting Plate |
| (25) | Rear Brake Caliper Mounting Plate Bolt/Screw |
| (26) | Wheel Speed Sensor |
| (27) | Rear Brake
Caliper |
| (28) | Rear Axle Shaft Lock |
| (29) | Rear Axle Shaft |
| (30) | Rear Wheel Speed Sensor Reluctor
Wheel |
| (31) | Rear Wheel Bolt |
| (32) | Rear Brake Rotor |
Bolts attach the rear brake caliper mounting plate (24 or 5) to the
rear axle shaft (29).
Refer to
Rear Axle With Antilock Brake and Traction Control Systems
|
| (1) | Differential Drive Pinion Gear Nut |
| (2) | Differential Drive Pinion Gear Washer |
| (3) | Differential Drive Pinion Gear Yoke |
| (5) | Differential Drive Pinion Gear Dirt Deflector |
| (6) | Differential Drive Pinion Gear Seal |
| (7) | Differential Drive Pinion Gear Outer Bearing |
| (8) | Differential Drive Pinion Gear Bearing
Spacer |
| (9) | Rear Axle Housing Drain Plug |
| (10) | Rear Axle Housing |
| (11) | Rear Axle Vent |
| (12) | Differential Drive Pinion Gear Inner Bearing |
| (13) | Differential Drive Pinion Gear Shim |
| (14) | Differential Drive Pinion Gear |
| (15) | Rear Axle Housing Cover Gasket |
| (16) | Rear Axle Housing Chip Collector Magnet |
| (17) | Rear Axle Housing Cover |
| (18) | Rear Axle Housing Cover Bolt/Screw |
| (19) | Rear Brake Backing Plate Nut |
| (20) | Rear Wheel Bearing |
| (21) | Rear Wheel Bearing Seal |
| (22) | Rear Axle Tube Flange Shim |
| (23) | Rear Brake Caliper Bolt/Screw |
| (24) | Rear Brake Caliper Mounting Plate |
| (25) | Rear Brake Caliper Mounting Plate Bolt/Screw |
| (26) | Wheel Speed Sensor |
| (27) | Rear Brake
Caliper |
| (28) | Rear Axle Shaft Lock |
| (29) | Rear Axle Shaft |
| (30) | Rear Wheel Speed Sensor Reluctor
Wheel |
| (31) | Rear Wheel Bolt |
| (32) | Rear Brake Rotor |
or
Rear Axle With Antilock Brake System (Disc Brake Assembly)
|
| (1) | Rear Brake Backing Plate Nut |
| (2) | Rear
Axle Housing |
| (3) | Rear Axle Tube Flange Shim |
| (4) | Rear Brake Caliper Bolt |
| (5) | Rear
Brake Caliper Mounting Plate |
| (6) | Rear Brake Caliper |
| (7) | Rear Brake Caliper Mounting Plate
Bolt/Screw |
| (8) | Rear Wheel Bolt |
| (9) | Rear Axle Shaft |
| (10) | Rear Brake Rotor |
The wheel speed sensor provides wheel speed information to the electronic
brake control module (EBCM). Refer to
ABS/TCS System Description
in Antilock Brakes System for more information.
Refer to
Rear Axle With Antilock Brake System (Drum Brakes)
|
| (1) | Differential Drive Pinion Gear Nut |
| (2) | Differential Drive Pinion Gear Washer |
| (3) | Differential Drive Pinion Gear Yoke |
| (5) | Differential Drive Pinion Gear Dirt Deflector |
| (6) | Differential Drive Pinion Gear Seal |
| (7) | Differential Drive Pinion Gear Outer Bearing |
| (8) | Differential Drive Pinion Gear Bearing
Spacer |
| (9) | Rear Axle Housing Drain Plug |
| (10) | Rear Axle Housing |
| (11) | Rear Axle Vent |
| (12) | Wheel Speed Sensor |
| (13) | Rear Wheel Speed Sensor Bolt/Screw |
| (14) | Differential Drive Pinion Gear Inner
Bearing |
| (15) | Differential Drive Pinion Gear Shim |
| (16) | Differential Drive Pinion Gear |
| (17) | Rear Axle Housing Cover Gasket |
| (18) | Rear Axle Housing Chip Collector Magnet |
| (19) | Rear Axle Housing Cover |
| (20) | Rear Axle Housing Cover Bolt/Screw |
| (21) | Rear Brake Backing Plate Nut |
| (22) | Rear Wheel Bearing |
| (23) | Rear Wheel Bearing Seal |
| (24) | Rear Brake Backing Plate |
| (25) | Rear Brake Backing Plate Bolt/Screw |
| (26) | Rear Axle Shaft Lock |
| (27) | Rear Axle Shaft |
| (28) | Rear Wheel Bolt |
| (29) | Rear Brake |
| (30) | Rear Brake Drum |
or
Rear Axle With Antilock Brake and Traction Control Systems
|
| (1) | Differential Drive Pinion Gear Nut |
| (2) | Differential Drive Pinion Gear Washer |
| (3) | Differential Drive Pinion Gear Yoke |
| (5) | Differential Drive Pinion Gear Dirt Deflector |
| (6) | Differential Drive Pinion Gear Seal |
| (7) | Differential Drive Pinion Gear Outer Bearing |
| (8) | Differential Drive Pinion Gear Bearing
Spacer |
| (9) | Rear Axle Housing Drain Plug |
| (10) | Rear Axle Housing |
| (11) | Rear Axle Vent |
| (12) | Differential Drive Pinion Gear Inner Bearing |
| (13) | Differential Drive Pinion Gear Shim |
| (14) | Differential Drive Pinion Gear |
| (15) | Rear Axle Housing Cover Gasket |
| (16) | Rear Axle Housing Chip Collector Magnet |
| (17) | Rear Axle Housing Cover |
| (18) | Rear Axle Housing Cover Bolt/Screw |
| (19) | Rear Brake Backing Plate Nut |
| (20) | Rear Wheel Bearing |
| (21) | Rear Wheel Bearing Seal |
| (22) | Rear Axle Tube Flange Shim |
| (23) | Rear Brake Caliper Bolt/Screw |
| (24) | Rear Brake Caliper Mounting Plate |
| (25) | Rear Brake Caliper Mounting Plate Bolt/Screw |
| (26) | Wheel Speed Sensor |
| (27) | Rear Brake
Caliper |
| (28) | Rear Axle Shaft Lock |
| (29) | Rear Axle Shaft |
| (30) | Rear Wheel Speed Sensor Reluctor
Wheel |
| (31) | Rear Wheel Bolt |
| (32) | Rear Brake Rotor |
Operation
When the vehicle turns a corner, the differential allows the outer rear
tire and wheel to turn faster than the inner tire and wheel.
The inner tire and wheel move more slowly than the outer tire and wheel.
The inner tire and wheel slows its (side) differential pinion gear. The side
differential pinion gear is slowed because the axle shaft is splined to
the side gear.
The differential pinion gears roll around the slowed (side) differential
pinion gear. This action causes the other differential pinion gear and tire
and wheel to move faster.
Limited Slip Rear Axle
Limited slip rear axles
have several definite operating characteristics. An understanding of these
characteristics is necessary in order to aid diagnostics.
The energizing force comes from the thrust side of the gears. A free
spinning tire and wheel may not have the level resistance to driving torque
required to apply the clutch packs and the cones.
If the above condition occurs, applying the parking brake a few notches
will provide enough resistance to energize the cones.
Energizing the cones is independent of acceleration. A very slow application
of the throttle on starting is recommended to provide maximum traction by
preventing break away of either rear tire and wheel.
All the rear axle components (except for the differential cases) from
the following vehicles are interchangeable:
| • | Vehicles with the limited slip rear axle |
| • | Vehicles with the standard rear axle |
The slip rear axle differential case is similar in all respects to the
standard differential case, with the addition of cone clutches splined to
each side gear. The Auburn limited slip differential case is non-serviceable.
The differential cases of the two vehicles are not interchangeable. The Auburn
limited slip differential case must be replaced as a complete assembly. The
following procedures are the same for both the Auburn limited slip differential
case and the standard rear axle differential case:
| • | Removal of the differential case |
| • | Replacement of the differential case |
| • | Service of the side bearings |
| • | Service of the ring gear |
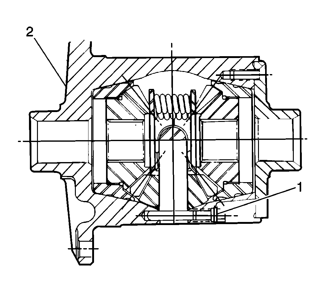
Rear Axle Identification
It is necessary to know
the rear axle identification code (1) and the manufacturer's code (2) before
adjusting or repairing the following components:
The following information is stamped onto the forward side of the right
axle tube or on a metal tag on the housing cover (19 or 17):
| | (Refer to
Rear Axle With Antilock Brake System (Drum Brakes)
|
| (1) | Differential Drive Pinion Gear Nut |
| (2) | Differential Drive Pinion Gear Washer |
| (3) | Differential Drive Pinion Gear Yoke |
| (5) | Differential Drive Pinion Gear Dirt Deflector |
| (6) | Differential Drive Pinion Gear Seal |
| (7) | Differential Drive Pinion Gear Outer Bearing |
| (8) | Differential Drive Pinion Gear Bearing
Spacer |
| (9) | Rear Axle Housing Drain Plug |
| (10) | Rear Axle Housing |
| (11) | Rear Axle Vent |
| (12) | Wheel Speed Sensor |
| (13) | Rear Wheel Speed Sensor Bolt/Screw |
| (14) | Differential Drive Pinion Gear Inner
Bearing |
| (15) | Differential Drive Pinion Gear Shim |
| (16) | Differential Drive Pinion Gear |
| (17) | Rear Axle Housing Cover Gasket |
| (18) | Rear Axle Housing Chip Collector Magnet |
| (19) | Rear Axle Housing Cover |
| (20) | Rear Axle Housing Cover Bolt/Screw |
| (21) | Rear Brake Backing Plate Nut |
| (22) | Rear Wheel Bearing |
| (23) | Rear Wheel Bearing Seal |
| (24) | Rear Brake Backing Plate |
| (25) | Rear Brake Backing Plate Bolt/Screw |
| (26) | Rear Axle Shaft Lock |
| (27) | Rear Axle Shaft |
| (28) | Rear Wheel Bolt |
| (29) | Rear Brake |
| (30) | Rear Brake Drum |
or
Rear Axle With Antilock Brake and Traction Control Systems
|
| (1) | Differential Drive Pinion Gear Nut |
| (2) | Differential Drive Pinion Gear Washer |
| (3) | Differential Drive Pinion Gear Yoke |
| (5) | Differential Drive Pinion Gear Dirt Deflector |
| (6) | Differential Drive Pinion Gear Seal |
| (7) | Differential Drive Pinion Gear Outer Bearing |
| (8) | Differential Drive Pinion Gear Bearing
Spacer |
| (9) | Rear Axle Housing Drain Plug |
| (10) | Rear Axle Housing |
| (11) | Rear Axle Vent |
| (12) | Differential Drive Pinion Gear Inner Bearing |
| (13) | Differential Drive Pinion Gear Shim |
| (14) | Differential Drive Pinion Gear |
| (15) | Rear Axle Housing Cover Gasket |
| (16) | Rear Axle Housing Chip Collector Magnet |
| (17) | Rear Axle Housing Cover |
| (18) | Rear Axle Housing Cover Bolt/Screw |
| (19) | Rear Brake Backing Plate Nut |
| (20) | Rear Wheel Bearing |
| (21) | Rear Wheel Bearing Seal |
| (22) | Rear Axle Tube Flange Shim |
| (23) | Rear Brake Caliper Bolt/Screw |
| (24) | Rear Brake Caliper Mounting Plate |
| (25) | Rear Brake Caliper Mounting Plate Bolt/Screw |
| (26) | Wheel Speed Sensor |
| (27) | Rear Brake
Caliper |
| (28) | Rear Axle Shaft Lock |
| (29) | Rear Axle Shaft |
| (30) | Rear Wheel Speed Sensor Reluctor
Wheel |
| (31) | Rear Wheel Bolt |
| (32) | Rear Brake Rotor |
|
RPO codes for the rear axle are also printed on the service parts identification
label.
Maintenance and Lubrication
Refer to
Lubricant Level Check
for information on measuring or adding lubricant.
Drain and refill the lubricant on vehicles with limited slip differentials
at the first 12 500 km (7,500 miles).
If the vehicle pulls a trailer, drain and refill the lubricant every
12 500 km (7,500 miles), with either type of differential.