GM Service Manual Online
For 1990-2009 cars only

Reminder Operates With the Key Out, Stops When Driver Door is Closed

Use the following inspection procedure when the reminder continues to operate with the key out, but stops when the driver's door is closed:

  1. Inspect for chips or foreign material in the lock cylinder bore.
  2. Inspect for a sticky lock cylinder actuator tip.
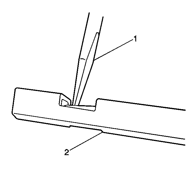
  3. Inspect for a damaged or broken reminder switch (1).

Reminder Does Not Sound With the Key in Lock Cylinder, Driver Door Open

Use the following inspection procedure when the reminder does not sound when the key is fully inserted in the lock cylinder and the driver's door is open:

  1. Inspect the reminder in order to determine if power is available. Refer to Engine Electrical.

  2. Object Number: 290088  Size: SH
  3. Use the following steps in order to inspect the chassis wiring for an open circuit:
  4. • Separate the chassis connector (2) from the column connector.
    • Connect the female contacts of terminals E and F on the chassis connector. You may use a bent paper clip as a jumper.
    • Repair the chassis wiring if the reminder sounds.
    • Continue with this inspection procedure if the reminder does not sound.

    Object Number: 290095  Size: SH
  5. Use a multimeter (or test light) in order to inspect the continuity between the male E and F column connector contacts.
  6. Push the key all of the way into the lock cylinder.
  7. The function is normal if there is continuity when the key is in and no continuity when the key is out.
  8. If there is no continuity, the fault is in the column. Continue with this inspection procedure.

  9. Object Number: 290060  Size: SH
  10. Use the following steps in order to inspect the probes of the reminder switch (1). This inspection will ensure that there is good contact with pads on the signal switch:
  11. 7.1. Disassemble the upper end of the column until the turn signal switch mounting bolts/screws have been removed.
    7.2. Lift the turn signal switch in order to gain access to the probes.
    7.3. Bend the probes, if needed.
    7.4.  Replace the turn signal switch.
    7.5. Tighten the three bolts/screws.
    7.6. Use a multimeter (or test light) in order to inspect the continuity between the male E and F column connector contacts.
    7.7. Push the key all of the way into the lock cylinder.
    7.8. The function is normal if there is continuity when the key is in and no continuity when the key is out.
    7.9. If there is no continuity, the fault is in the column. Continue with this inspection procedure.

    Object Number: 290105  Size: SH
  12. Use the following steps in order to inspect the turn signal switch wiring for a short or a fault.
  13. 8.1. Connect the male contacts of terminals E and F of the column connector (2) with a jumper.
    8.2. Use a multimeter in order to inspect the key reminder switch pads on the turn signal switch.
    8.3. The function is normal if there is continuity.
    8.4. Replace the turn signal switch if there is no continuity.

    Object Number: 375025  Size: SH
  14. If you have not found the problem, use the following steps in order to inspect the continuity of the key reminder switch probes:
  15. 9.1. Connect a multimeter to the probes on the reminder switch.
    9.2. Fully insert the key into the lock cylinder (2).
    9.3. Remove the key from the lock cylinder (2).
    9.4. The function is normal when the following conditions exist:
       • There is continuity when the key is in the lock.
       • There is no continuity when the key is out of the lock.
    9.5. If the function is normal, repeat steps 3 through 9.
    9.6. If there is no continuity, the fault is in the lock cylinder (2) or the reminder switch.
  16. Inspect the lock cylinder (2) for the following obstructions which may prevent actuator tip function:
  17. • Chips
    • Burrs
    • Other foreign material
  18. If foreign materials are found, use the following steps in order to remove the materials:
  19. 11.1. Ensure that the key is removed or the lock cylinder is in the RUN position before you remove the lock cylinder.
    11.2. Remove the chips, burrs or foreign material.
    11.3. Reassembly and reinspect the lock cylinder.

    Object Number: 290107  Size: SH
  20. Use the following procedure to inspect the lock cylinder for damage:
  21. 12.1. Remove the lock cylinder.
    12.2. Push the key all of the way in.
    12.3. Turn the key to the RUN position.
    12.4. Remove the key.
    12.5. Ensure that the lock cylinder actuator tip extends and retracts smoothly.
    12.6. Ensure that the total extension of the tip is 1.27 mm (0.050 inch).
    12.7. Replace the lock cylinder if it does not meet the above specifications.
    12.8. Reassemble the lock cylinder.
    12.9. Return to Step 4 in order to reinspect the lock cylinder.
  22. Use the following steps in order to inspect the reminder switch if it appears to be good but will not operate:
  23. 13.1. Connect the multimeter leads to the reminder switch probes on the reminder switch.
    13.2. Press on the actuator pad until the switch points touch.
    13.3. Replace the reminder switch if there is no continuity.

    Object Number: 290101  Size: SH
  24. Use the following steps in order to inspect the reminder switch contact gap:
  25. 14.1. Connect the reminder switch leads (4) to the reminder switch probes on the reminder switch (3).
    14.2. Press a 0.76 mm (0.030 inch) wire plug gage with a flat piece of stock onto the actuator pad.

    Object Number: 290300  Size: SH
  26. If contact is not made (continuity), decrease the switch contact gap until a positive contact is made.

  27. Object Number: 290303  Size: SH
  28. Use the following procedure in order to inspect the reminder gap switch. Ensure that the positive contact gap is set at 0.76 mm (0.030 inch).
  29. 16.1. Use a 0.63 mm (0.025 inch) plug gap wire beneath a flat stock. Increase the switch contact gap if contact is made (continuity).
    16.2. The reminder switch is set properly when the switch contact will touch 0.76 mm (0.0030 inch) wire but not 0.63 mm (0.025 inch) wire.

Determine if the following conditions exist:

    • The reminder keeps operating with the key in the lock cylinder.
    • The driver's door is open or closed.
    • The reminder ceases when the key is removed.

Complete the following steps if the above conditions exist:

  1. Inspect for a misadjusted or inoperative door jamb switch on the driver's side.
  2. Inspect for a shorted wire from the signal switch to the door jamb switch.
  3. • This condition indicates that the lock cylinder or reminder switch is at fault.
    • To verify this, inspect for continuity at the E and F male column connector contacts with the key removed from the lock cylinder.
    • If continuity exists, the fault is in the column.
    • Insert a key into the lock. Turn the lock toward the START position. If the reminder stops when the key is in the RUN position or when it is turned past the RUN position, toward the START position, the problem is a sticky lock cylinder actuator.
  4. For further diagnosis of the key reminder, refer to Engine Electrical.