GM Service Manual Online
For 1990-2009 cars only
Table 1: Diagnostic Aid
Table 2: Improper Air Delivery Diagnosis

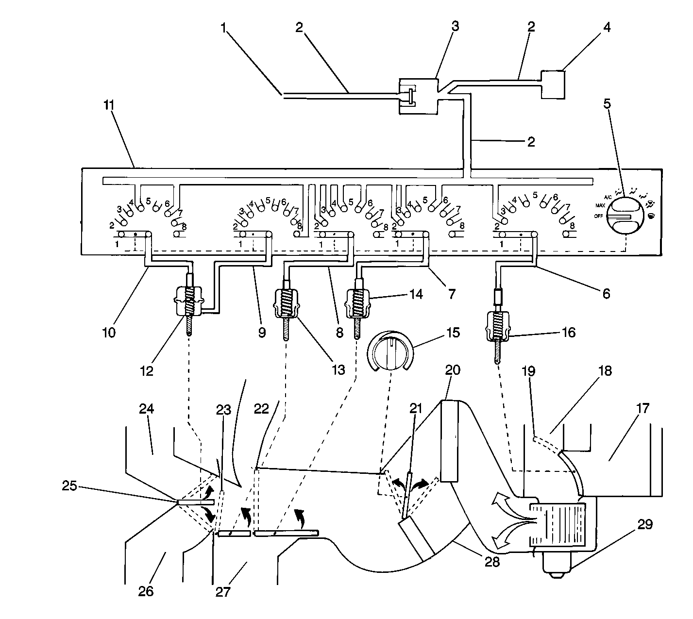
Object Number: 283263  Size: LF
(1)Vacuum Source to Engine
(2)Black
(3)Vacuum Check Valve
(4)Vacuum Tank
(5)Control Vacuum Selector Valve
(6)Orange
(7)Red
(8)Purple
(9)Green
(10)Yellow
(11)Control Vacuum Logic Display Mode
(12)Heater and Defrost Vacuum Actuator
(13)Bi-level Vacuum Actuator
(14)Upper and Lower Mode Vacuum Actuator
(15)Temperature Control
(16)Air Inlet Vacuum Actuator
(17)From Inside Vehicle (Recirculated Air)
(18)From Plenum Area (Outside Air)
(19)Partially Open (With No Vacuum)
(20)Air Conditioning evaporator
(21)Temperature Valve
(22)To Side Window Defrost Outlets
(23)Partially Open (With No Vacuum)
(24)To Windshield Defrost Outlets
(25)Partially Open (With No Vacuum)
(26)To Floor Outlets
(27)To Instrument Panel Outlets
(28)Heater Core
(29)Blower Motor

Mode Control Vacuum Valve Positions

1

OFF

2

MAX A/C

3

NORMAL A/C

4

BI-LEVEL A/C

5

VENT

6

HEATER

7

HEATER/DEFROST BLEND

8

DEFROSTER

A vacuum operates most of the air distribution system. Electrical power operates the blower motor.

The engine vacuum is routed through the following areas:

    • The vacuum check valve
    • The control vacuum selector
    • The vacuum tank

The vacuum check valve prevents vacuum loss. Heavy acceleration or steep uphill traveling may cause vacuum loss.

Vacuum applied to a vacuum actuator moves the air door to the air door's correct position.

Preliminary Inspection

  1. Inspect the vacuum lines at the engine and vacuum check valve for a proper connection.
  2. Disconnect the vacuum line that leads to the engine at the vacuum check valve.
  3. Start the engine.
  4. Inspect for vacuum presence. If no vacuum is present, repair as required.
  5. Disconnect the vacuum line that leads to the vacuum tank at the vacuum check valve.
  6. Use a hand vacuum pump in order to apply vacuum to the vacuum line that leads to the vacuum tank. If the vacuum does not hold, replace the vacuum line and/or the vacuum tank.
  7. Disconnect the vacuum line that leads to the control at the vacuum check valve.
  8. Apply vacuum to the check valve port. If the vacuum does not hold, replace the vacuum check valve.
  9. Quickly rotate the temperature control from full COLD to full HOT several times.
  10. Listen for the temperature valve to seat in both positions.
  11. If the sound indicates that the temperature valve is not fully seating or opening, inspect the temperature control cable for proper operation. If the problem persists, ensure that the temperature valve door operates freely with the blower off.

  12. Ensure that the vacuum line seals are positioned correctly at the vacuum line multi-connector that is located above the right-hand sound insulator panel.
  13. Perform the diagnosis.

Diagnostic Aid

Checks

Action

Apply vacuum to the red vacuum line.

Air flow is diverted to the instrument panel outlets only.

Apply vacuum to the yellow vacuum line.

Air flow is diverted to the side window defogger and floor outlets.

Apply vacuum to the purple vacuum line.

Air flow is diverted to the side window defogger, floor and instrument panel outlets.

Apply vacuum to the green vacuum line.

Air flow is diverted to the windshield and side window defogger outlets.

Apply vacuum to the orange vacuum line.

Air flow is diverted to the blower motor assembly air noise increase.

Apply vacuum to no vacuum lines.

Air flow is diverted to all outlets except the instrument panel.

Improper Air Delivery Diagnosis

Step

Action

Value(s)

Yes

No

1

  1. Perform the preliminary inspection.
  2. Set the mode selector valve in the OFF position.
  3. Disconnect the vacuum line at the check valve.
  4. Use a hand vacuum pump in order to apply vacuum to the vacuum line that leads to the mode selector valve.

Does the vacuum hold?

--

Go to Step 3

Go to Step 2

2

  1. Inspect the black vacuum line that leads to the mode selector valve.
  2. Replace the mode selector valve if the line is connected and working properly.

Is the replacement complete?

--

System OK

--

3

  1. Apply vacuum to the vacuum line that leads to the mode selector valve.
  2. Inspect each setting (MAX A/C to DEFROST).

Does vacuum hold in every setting?

--

Go to Step 4

Go to Step 8

4

  1. Disconnect the vacuum line multi-connector under the right side sound insulator.
  2. Turn the ignition switch to the RUN position (engine not running).
  3. Select the HIGH blower motor assembly speed.
  4. Apply vacuum to each vacuum line individually (except for the black and orange lines).
  5. Inspect the lines for air flow at the proper outlets. Refer to the Diagnostic Aid Chart.

Does air flow at the correct outlets?

--

Go to Step 6

Go to Step 5

5

Repair or replace the actuator linkage and/or air valve (door).

Is the repair complete

--

System OK

--

6

Apply vacuum to the orange vacuum line.

Does the blower motor air flow noise increase?

--

System OK

Go to Step 7

7

Repair or replace the air inlet vacuum actuator linkage and/or air inlet valve.

Is the repair complete?

--

System OK

--

8

  1. Disconnect the vacuum line multi-connector at the mode selector valve.
  2. Apply vacuum to each line at the multi-connector that is controlled by the mode selector valve at a setting where vacuum did not hold.

Is a vacuum leak present at one or more lines?

--

Go to Step 9

Go to Step 10

9

Repair or replace the vacuum line and/or the vacuum actuator.

Is the repair complete?

--

System OK

--

10

Replace the mode selector valve.

Is the replacement complete?

--

System OK

--