GM Service Manual Online
For 1990-2009 cars only

Removal Procedure


    Object Number: 399835  Size: SH
  1. Remove the rear compartment closeout panel (1), if equipped, from the rear trim finish panel (2).

  2. Object Number: 399837  Size: SH
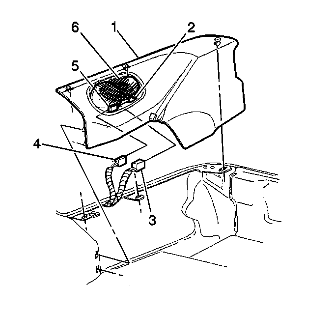
  3. Remove the quarter inner rear trim finishing panel (1) perform the following:
  4. • Loosen the retainers.
    • Pull the rear trim finish panel (1) up.
    • Disconnect the wiring harness connectors (3 and 4) from the speaker connectors (2 and 5).
  5. Remove the speaker grille (6).

  6. Object Number: 362246  Size: SH
  7. Reposition the radio quarter speaker insulator, if necessary.

  8. Object Number: 362247  Size: SH
  9. Drill out the 2 speaker rivets, if replacing the mid range speaker.
  10. Drill out the single rivet, if replacing the tweeter.

  11. Object Number: 296717  Size: SH
  12. Remove the electrical connectors from the trim panel.
  13. If replacing the mid-range speaker (1) perform the following:
  14. • Rotate the speaker (1) counterclockwise.
    • Unseat the speaker (1) from the panel.
  15. If replacing the tweeter (2) perform the following:
  16. • Push the retainer tab down.
    • Unsnap the tweeter (2) from the trim panel.

Installation Procedure


    Object Number: 296717  Size: SH
  1. If installing the tweeter (2) perform the following:
  2. • Place the top of the tweeter (2) flange under the tab on the panel.
    • Push the bottom of the tweeter (2) against the panel until secured by retainer tab.
  3. If installing the mid-range speaker (1) perform the following:
  4. • Align the speaker (1) to the trim panel.
    • Twist the speaker (1) clockwise until seated in panel.

    Object Number: 362247  Size: SH
  5. If replacing the tweeter install the rivet.
  6. If replacing the mid range speaker install 2 rivets.

  7. Object Number: 362246  Size: SH
  8. Position the radio quarter speaker insulator, if required.

  9. Object Number: 399837  Size: SH
  10. Install the speaker grille (6).
  11. Install the quarter inner rear trim finishing panel (1) perform the following:
  12. • Connect the wiring harness connectors (3 and 4) to the speaker connectors (2 and 5).
    • Place the rear trim finish panel (1) into place.
    • Tighten the retainers.

    Object Number: 399835  Size: SH
  13. Install the rear compartment closeout panel (1), if equipped, to the rear trim finish panel (2).