GM Service Manual Online
For 1990-2009 cars only
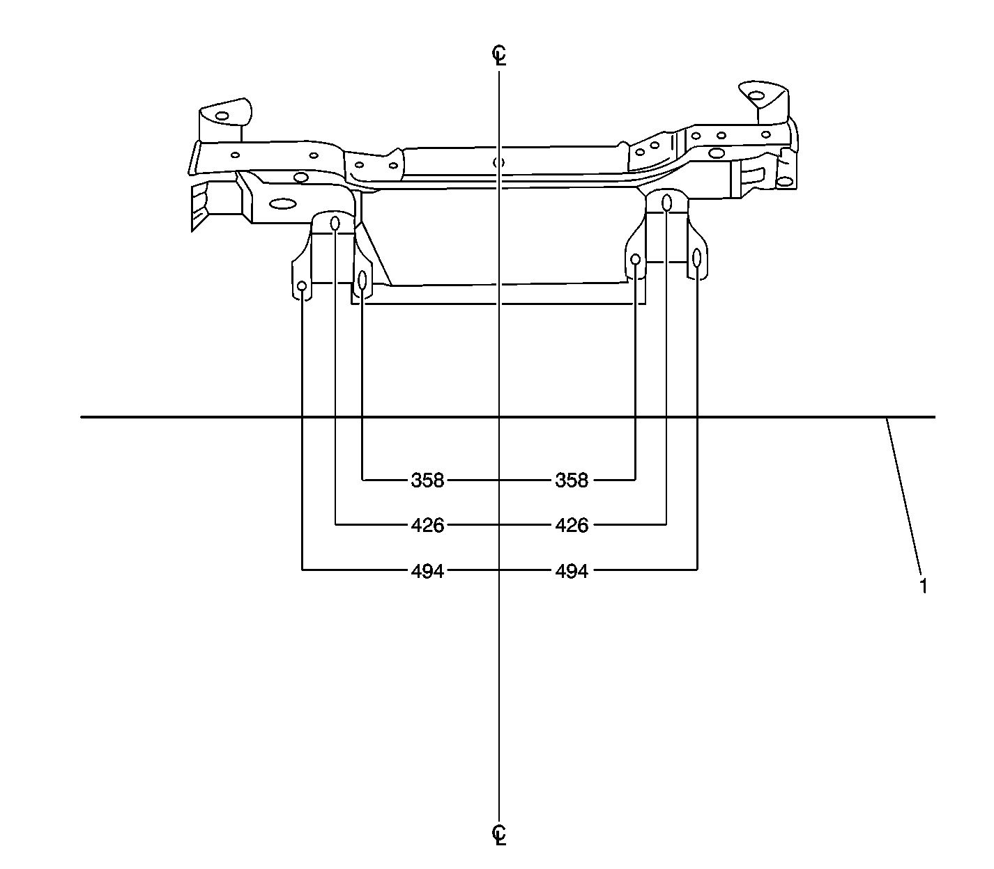
Figure 1:

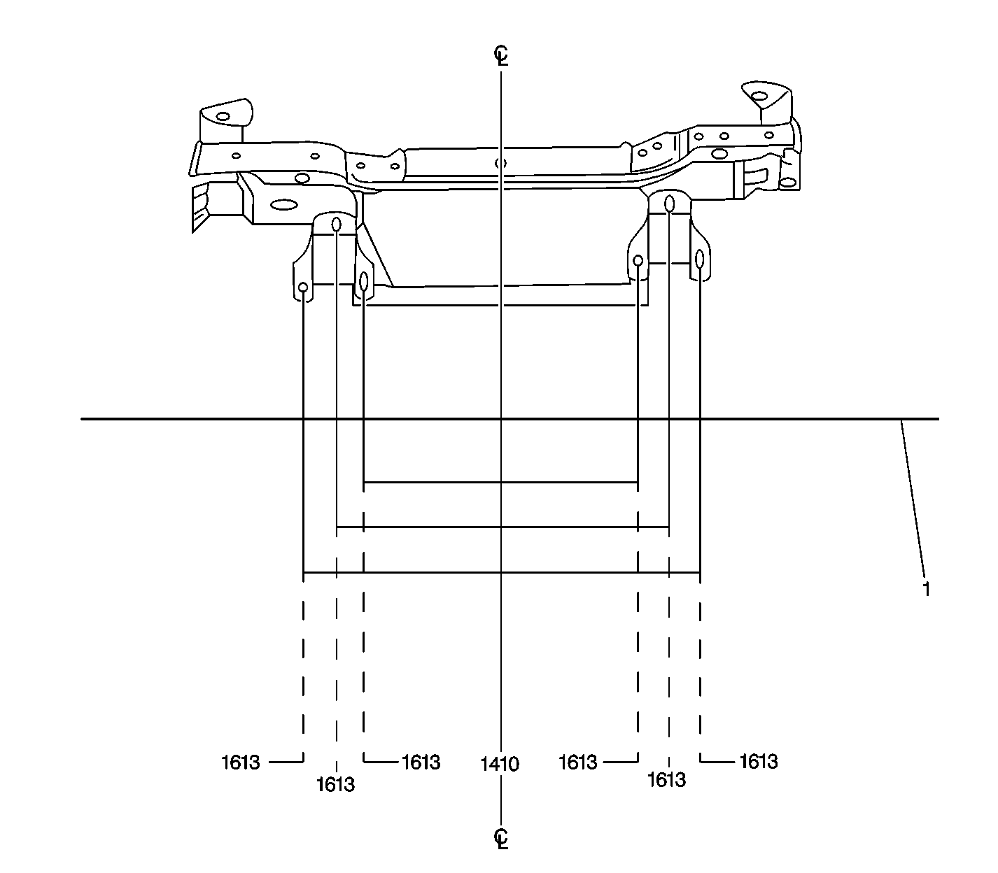
Frame Dimensions - Front, Front View (Height)


Object Number: 497769  Size: LF
(01)Datum Line
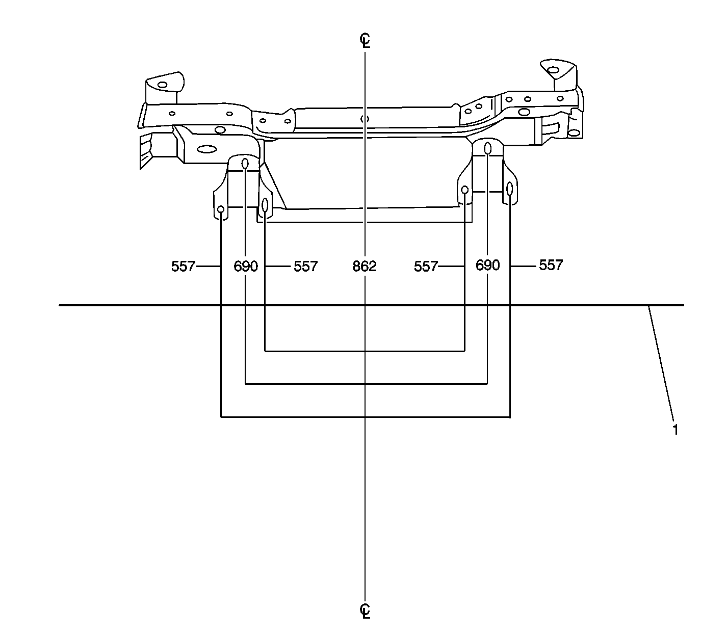
Figure 2:

Frame Dimensions - Front, Front View (Width)


Object Number: 497770  Size: LF
(01)Datum Line
Figure 3:

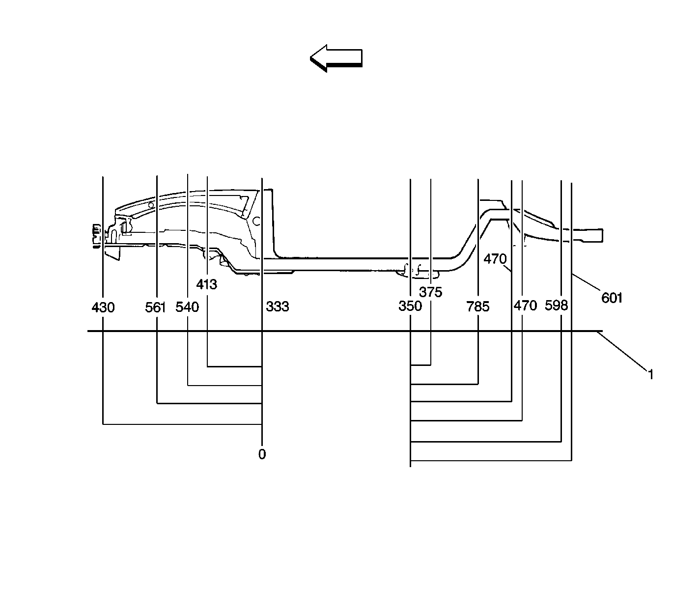
Frame Dimensions - Front, Front View (Length)


Object Number: 497771  Size: LF
(01)Datum Line
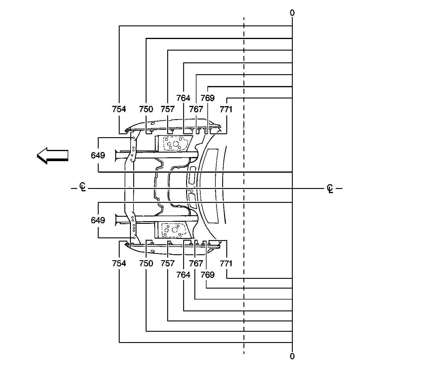
Figure 4:

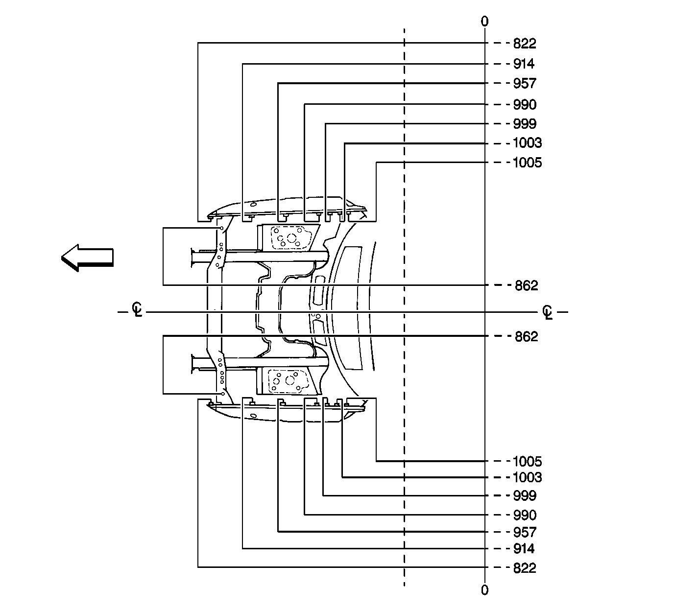
Frame Dimensions - Front, Top View (Height)


Object Number: 497772  Size: LF
Figure 5:

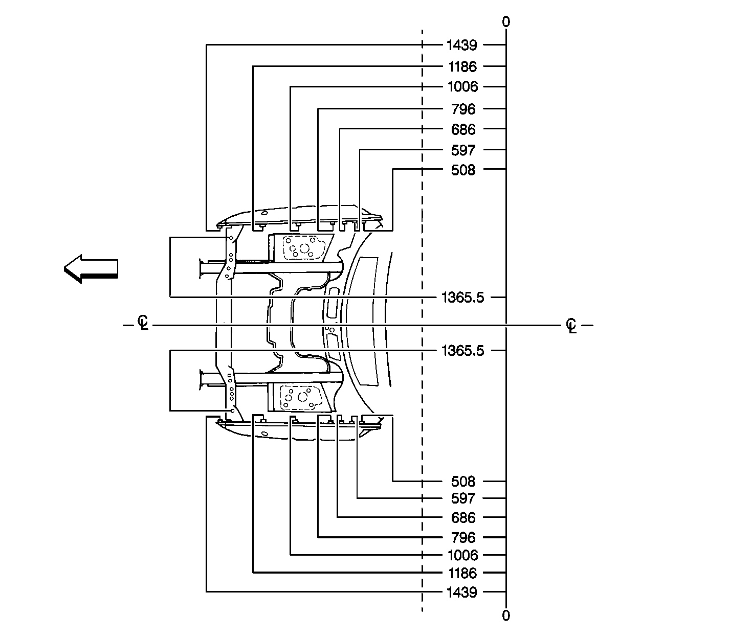
Frame Dimensions - Front, Top View (Width)


Object Number: 497777  Size: LF
Figure 6:

Frame Dimensions - Front, Top View (Length)


Object Number: 497778  Size: LF
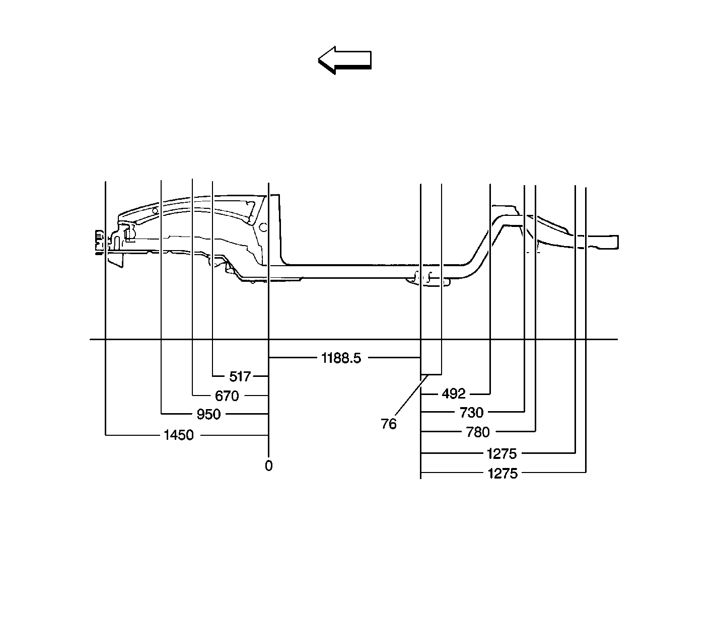
Figure 7:

Frame Dimensions - Underbody (Height)


Object Number: 497779  Size: LF
(01)Datum Line
Figure 8:

Frame Dimensions - Underbody (Width)


Object Number: 497780  Size: LF
Figure 9:

Frame Dimensions - Underbody (Length)


Object Number: 497782  Size: LF