GM Service Manual Online
For 1990-2009 cars only

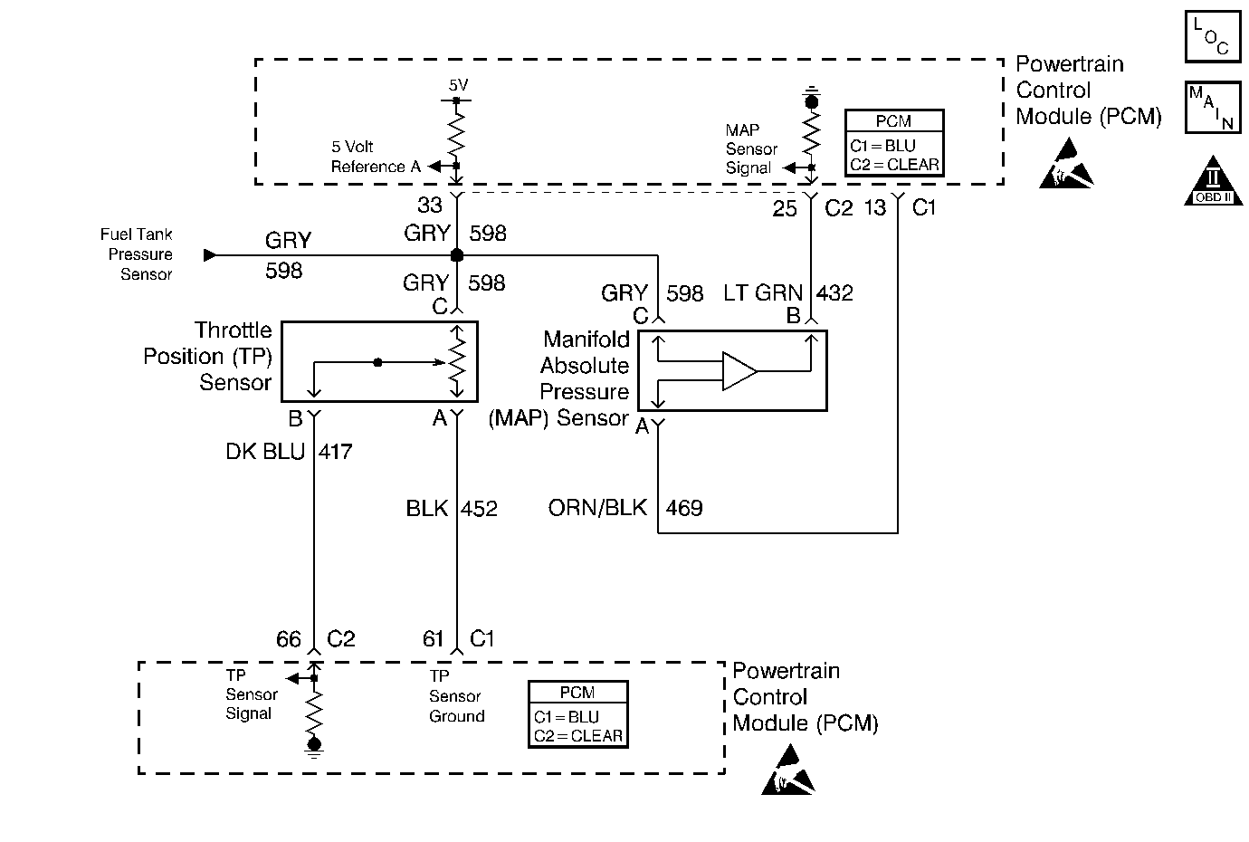
Object Number: 226855  Size: MF
Engine Controls Components
TP, MAP, ECT, IAT Sensors
OBD II Symbol Description Notice
Handling ESD Sensitive Parts Notice
Handling ESD Sensitive Parts Notice

Circuit Description

The PCM uses the 5 Volt Reference A circuit as a sensor feed to the following sensors:

    • The TP sensor.
    • The MAP sensor.
    • The EGR Valve Pintle Position sensor.
    • The Fuel Tank Pressure sensor.

The PCM monitors the voltage on the 5 Volt Reference A circuit. If the voltage is out of tolerance, the PCM will set DTC P1635.

Conditions for Setting the DTC

    • The PCM detects a voltage out of tolerance condition on the 5 Volt Reference A circuit.
    • The above condition is present for longer than 10 seconds.

Action Taken When the DTC Sets

    • The PCM will illuminate the MIL during the second consecutive trip in which the diagnostic test has been run and failed.
    • The PCM will store conditions which were present when the DTC set as Freeze Frame and Fail Records data.

Conditions for Clearing the MIL/DTC

    • The PCM will turn the MIL OFF during the third consecutive trip in which the diagnostic has been run and passed.
    • The history DTC will clear after 40 consecutive warm-up cycles have occurred without a malfunction.
    • The DTC can be cleared by using the scan tool Clear Information function or by disconnecting the PCM battery feed.

Diagnostic Aids

Important:: Be sure to inspect PCM and engine grounds for being secure and clean.

Check for the following conditions:

    • Poor connection at PCM - Inspect harness connectors for the following items:
       - Backed out terminals
       - Improper mating
       - Broken locks
       - Improperly formed or damaged terminals
       - Poor terminal to wire connections
    • Damaged harness - Inspect the wiring harness for damage.
    • If the harness appears to be OK, observe the MAP display on the scan tool with the ignition ON, engine not running while moving connectors and wiring harnesses related to the following sensors. A change in the MAP display will indicate the location of the fault.
       - The TP sensor
       - The MAP sensor
       - The EGR valve

Review the Fail Records vehicle mileage since the diagnostic test last failed. This may help determine how often the condition that caused the DTC to be set occurs.

Test Description

Number(s) below refer to the step number(s) on the Diagnostic Table.

  1. A faulty EGR valve can leak a small amount of current from the ignition feed circuit to the 5 volt reference A circuit. If the problem does not exist with the EGR valve disconnected, replace the EGR valve.

  2. This vehicle is equipped with a PCM which utilizes an Electrically Erasable Programmable Read Only Memory (EEPROM). When the PCM is being replaced, the new PCM must be programmed.

DTC P1635 - 5 Volt Reference (A) Circuit

Step

Action

Value(s)

Yes

No

1

Was the Powertrain On-Board Diagnostic (OBD) System Check performed?

--

Go to Step 2

Go to the Powertrain On Board Diagnostic (OBD) System Check

2

  1. Visually/physically check the PCM and engine grounds. Ensure that the grounds are clean and secure.
  2. If a problem is found, repair as necessary. Refer to Wiring Repairs .

Was a problem found?

--

Go to Step 14

Go to Step 3

3

Select DTC info, Last Tst Fail and note any other DTCs set.

Are any of the following DTCs set?

--

Diagnose the other DTC first

Go to Step 4

4

  1. Turn OFF the ignition switch.
  2. Disconnect the PCM.
  3. Turn ON the ignition switch.
  4. Using a J 39200 DMM, measure voltage between the 5 volt reference A circuit and the PCM ground circuit at the PCM harness connector.

Is voltage greater than the specified value indicated?

5.5V

Go to Step 5

Go to Step 9

5

Monitor the J 39200 DMM connected between the 5 volt reference A circuit and the PCM ground circuit while disconnecting the EGR valve.

Is voltage greater than the specified value still indicated with the EGR valve disconnected?

5.5V

Go to Step 6

Go to Step 8

6

  1. Monitor the J 39200 DMM connected between the 5 volt reference A circuit and the PCM ground circuit while disconnecting the following sensors (one at a time):
  2. • TP sensor
    • MAP sensor
  3. If voltage changes when one of the above components is disconnected, locate and repair short to voltage in the affected sensor signal circuit. Refer to Wiring Repairs .

Was a problem found?

--

Go to Step 14

Go to Step 7

7

  1. Turn OFF the ignition switch.
  2. Disconnect the PCM.
  3. Turn ON the ignition switch.
  4. Check the 5 volt reference A circuit for a short to voltage.
  5. If a problem is found, repair as necessary. Refer to Wiring Repairs .

Was a problem found?

--

Go to Step 14

Go to Step 13

8

Replace the EGR valve. Refer to Exhaust Gas Recirculation Valve Replacement

Is action complete?

--

Go to Step 14

--

9

  1. Turn OFF the ignition switch.
  2. Reconnect the PCM.
  3. Disconnect the following components:
  4. • The TP Sensor.
    • The EGR Valve.
    • The MAP Sensor.
    • The Fuel Tank Pressure Sensor.
  5. Connect the J 39200 DMM to measure voltage between the 5 volt reference A circuit and the sensor ground circuit at the TP sensor connector.

Is voltage less than the specified value indicated?

4.5V

Go to Step 12

Go to Step 10

10

  1. Monitor the DVM connected between the 5 volt reference A circuit and the sensor ground circuit while reconnecting the following components (one at a time):
  2. • The EGR Valve.
    • The MAP Sensor.
    • The Fuel Tnk Pressure Sensor.
  3. If the voltage changes when one of the following components is reconnected, replace the affected component.
  4. Refer to Exhaust Gas Recirculation Valve Replacement .

    Refer to Fuel Tank Pressure Sensor Replacement .

    Refer to Manifold Absolute Pressure Sensor Replacement .

Was a problem found?

--

Go to Step 14

Go to Step 11

11

  1. Disconnect the EGR valve.
  2. Connect the DVM to measure voltage between the 5 volt reference A circuit and the sensor ground circuit at the EGR valve harness connector.
  3. Monitor the voltage while reconnecting the TP sensor.
  4. If the voltage changes when the TP sensor is reconnected, replace the TP sensor. Refer to Throttle Position Sensor Replacement .

Was a problem found?

--

Go to Step 14

Go to Step 13

12

  1. Turn OFF the ignition switch.
  2. Disconnect the PCM.
  3. Check the 5 volt reference A circuit for a short to ground.
  4. If a problem is found, repair as necessary. Refer to Wiring Repairs .

Was a problem found?

--

Go to Step 14

Go to Step 13

13

Important:: The replacement PCM must be programmed. Refer to Powertrain Control Module Replacement/Programming .

Replace PCM.

Is action complete?

--

Go to Step 14

--

14

  1. Review and record scan tool Fail Records data.
  2. Clear DTCs.
  3. Operate vehicle within Fail Records conditions as noted.
  4. Using a scan tool, monitor Specific DTC info for DTC P1635 until the DTC P1635 test runs.

Does scan tool indicate DTC P1635 failed this ign?

--

Go to Step 2

System OK