GM Service Manual Online
For 1990-2009 cars only

DTC P0713 Transmission Fluid Temperature (TFT) Sensor Circuit High Input 5.7L


Object Number: 168436  Size: LF
Automatic Transmission Components VIN G
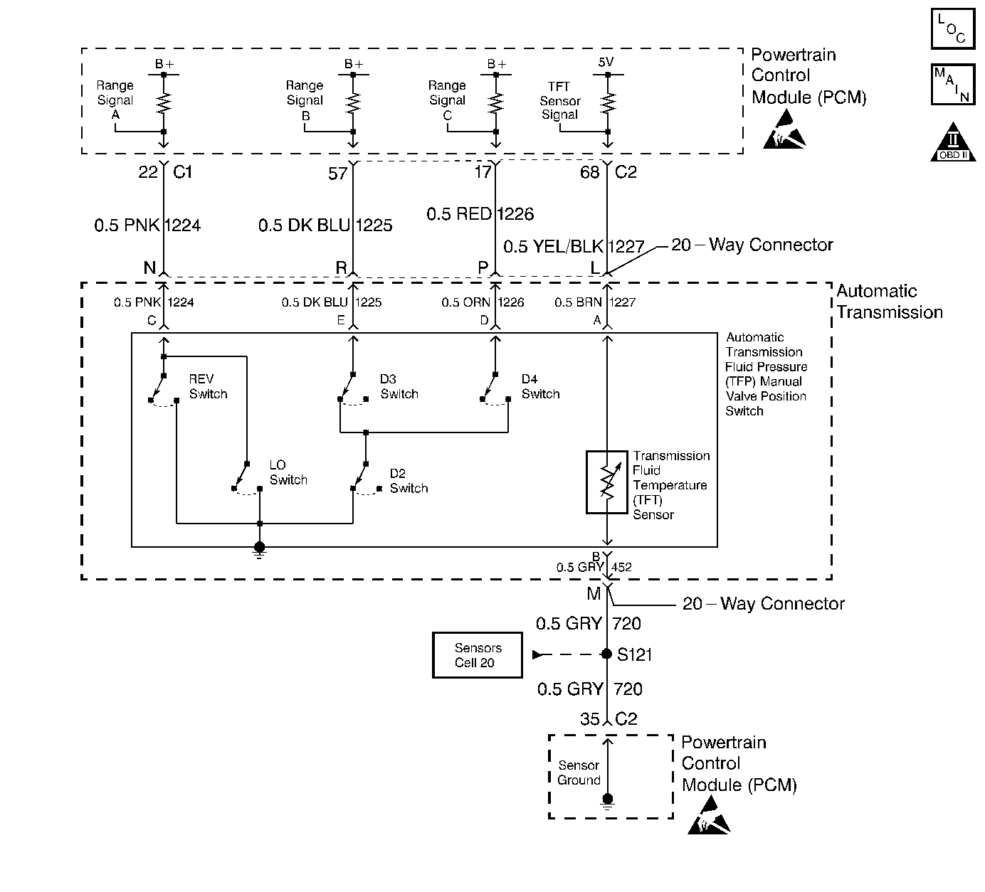
Automatic Transmission Controls Schematics
OBD II Symbol Description Notice
Handling ESD Sensitive Parts Notice

Circuit Description

The Automatic Transmission Fluid Temperature (TFT) Sensor is part of the Automatic Transmission Fluid Pressure Manual Valve Position Switch (TFP Val. Position Sw.). The TFT Sensor is a resistor, or thermistor, which changes value based on temperature. The sensor has a negative-temperature coefficient. This means that as the temperature increases, the resistance decreases, and as the temperature decreases, the resistance increases. The Powertrain Control Module (PCM) supplies a 5 volt reference signal to the sensor on circuit 1227 and measures the voltage drop in the circuit. When the transmission fluid is cold, the sensor resistance is high and the PCM detects high signal voltage. As the fluid temperature warms to a normal operating temperature, the resistance becomes less and the signal voltage decreases. The PCM uses this information to control shift quality and torque converter clutch apply.

When the PCM detects a continuous open or short to power in the TFT signal circuit or the TFT Sensor, then DTC P0713 sets. DTC P0713 is a type D DTC.

Conditions for Setting the DTC

    • The system voltage is 8-16 volts.
    • The ignition switch is in the RUN position.
    • The TFT Sensor indicates a signal voltage greater than 4.92 volts.
    • All conditions met for 409 seconds (6.8 minutes).

Action Taken When the DTC Sets

    • The PCM does not illuminate the Malfunction Indicator Lamp (MIL).
    • The PCM determines a default Transmission Fluid Temperature (TFT) using the following matrix:

       Important: The actions listed below are in order of highest to lowest priority.

        1. If any Engine Coolant Temperature (ECT) DTCs P0117 or P0118 are set, then the default TFT is equal to 135°C (275°F).
        2. If the ECT is 125°C (257°F) or more, then the default TFT is equal to 135°C (275°F).
        3. If the Engine Run Time is less than 300 seconds and:
   • No Intake Air Temperature (IAT) DTCs P0112 or P0113 are set and IAT is available, then the default TFT is equal to IAT.
   • Any Intake Air Temperature (IAT) DTCs P0112 or P0113 are set or IAT is NOT available, then the default TFT is equal to 90°C (194°F).
        4. If the Engine Run Time is greater than 300 seconds and No Intake Air Temperature (IAT) DTCs P0112 or P0113 are set and IAT is available and Engine Coolant Temperature (ECT) is between 40 and 125°C (104 and 257°F) and:
   • IAT at startup is less than 15°C (59°F), then the default TFT is equal to the Engine Coolant Temperature (ECT) plus 5°C (8°F).
   • IAT at startup is greater than 35°C (95°F), then the default TFT is equal to the Engine Coolant Temperature (ECT) plus 10°C (16°F).
   • IAT at startup is between 15 and 35°C (59 and 95°F), then the default TFT is equal to the Engine Coolant Temperature (ECT).
        5. If the Engine Run Time is greater than 300 seconds and any Intake Air Temperature (IAT) DTCs P0112 or P0113 are set or IAT is NOT available, then the default TFT is equal to the Engine Coolant Temperature (ECT).
        6. If the Engine Run Time is greater than 300 seconds and ECT is less than 40°C (104°F) or more, then the default TFT is equal to 60°C (140°F).
    • The PCM freezes shift adapts from being updated.
    • DTC P0713 stores in PCM history.

Conditions for Clearing the DTC

    • A scan tool can clear the DTC from the PCM history. The PCM clears the DTC from the PCM history if the vehicle completes 40 warm-up cycles without a failure reported.
    • The PCM cancels the DTC default actions when the fault no longer exists and the ignition is OFF long enough in order to power down the PCM.

Diagnostic Aids

    • Inspect the wiring at the PCM, the transmission connector and all other circuit connecting points for the following conditions:
       - A bent terminal
       - A backed out terminal
       - A damaged terminal
       - Poor terminal tension
       - A chafed wire
       - A broken wire inside the insulation
       - Moisture intrusion
       - Corrosion
    • When diagnosing for an intermittent short or open condition, massage the wiring harness while watching the test equipment for a change.
    • Use the Temperature vs Resistance table when testing the TFT Sensor at various temperature levels. Test the TFT Sensor in order to evaluate the possibility of a skewed (mis-scaled) sensor. A skewed sensor can result in delayed garage shifts or TCC complaints.
    • The scan tool displays the transmission fluid temperature in degrees. After the transmission is operating, the fluid temperature should rise steadily to a normal operating temperature, then stabilize.

Test Description

The numbers below refer to the step numbers on the diagnostic table.

  1. This step verifies that a condition exists in the TFT Sensor circuit.

  2. This step simulates a TFT Sensor DTC P0712. If the PCM recognizes high temperature, the PCM and wiring are functioning normally.

  3. This step tests the TFT Sensor and Automatic Transmission Wiring Harness Assembly (A/T Wiring Harness Assembly).

DTC P0713 Fluid Temperature Sensor Circuit -- High Input (5.7L, VIN G)

Step

Action

Value(s)

Yes

No

1

Was the Powertrain On-Board Diagnostic (OBD) System Check performed?

--

Go to Step 2

Go to Powertrain On Board Diagnostic (OBD) System Check

2

Perform the transmission fluid checking procedure.

Refer to 4L60-E Transmission Fluid Check .

Have you performed the fluid checking procedure?

--

Go to Step 3

Go to Transmission Fluid Check

3

  1. Install the Scan Tool .
  2. With the engine OFF, turn the ignition switch to the RUN position.
  3. Important: Before clearing the DTCs, use the scan tool in order to record the Failure Records for reference. Using the Clear Info function will erase the stored Failure Records from the PCM.

  4. Record the DTC Failure Records, then clear the DTC(s).

Does the scan tool display a TFT Sensor signal voltage greater than the specified value?

4.92 volts

Go to Step 4

Go to Diagnostic Aids

4

  1. Turn the ignition OFF.
  2. Disconnect the transmission 20-way connector.
  3. Install the J 39775 Jumper Harness on the engine side of the 20-way connector.
  4. Install a fused jumper wire from terminal L to terminal M on the engine harness.
  5. With the engine OFF, turn the ignition switch to the RUN position.

Does the TFT Sensor signal voltage drop to less than the specified value?

0.2 volts

Go to Step 5

Go to Step 9

5

  1. Turn the ignition OFF.
  2. Install the J 39775 Jumper Harness on the transmission side of the 20-way connector.
  3. Using the J 39200 Digital Multimeter (DMM) and the J 35616-A Connector Test Adapter Kit, measure the resistance between terminal L and terminal M.

Is the resistance within specifications?

3088-3942 Ohms at 20°C (68°F)

159-198 Ohms at 100°C (212°F)

Go to Diagnostic Aids

Go to Step 6

6

Inspect circuits 1227 (BRN) and 452 (GRY) of the Automatic Transmission Wiring Harness Assembly (A/T Wiring Harness Assembly ) for an open condition.

Refer to General Electrical Diagnosis .

Did you find an open condition?

--

Go to Step 11

Go to Step 7

7

  1. Disconnect the A/T Wiring Harness Assembly at the TFT Sensor.
  2. Measure the resistance of the TFT Sensor.

Is the resistance within the specified range?

3088-3942 Ohms at 20°C (68°F)

159-198 Ohms at 100°C (212°F)

Go to Diagnostic Aids

Go to Step 8

8

Replace the TFT Sensor (this is part of the TFP Val. Position Sw.).

Refer to Valve Body and Pressure Switch Replacement .

Is the replacement complete?

--

Go to Step 13

--

9

  1. Inspect circuit 1227 (YEL/BLK) of the engine wiring harness for an open or short to B+ condition.
  2. Refer to General Electrical Diagnosis .

  3. Repair the circuit if necessary.
  4. Refer to Wiring Repairs .

Did you find an open or short to B+ condition?

--

Go to Step 13

Go to Step 10

10

  1. Inspect circuit 1057 (ORN/BLK) for an open condition.
  2. Refer to General Electrical Diagnosis .

  3. Repair the circuit if necessary.
  4. Refer to Wiring Repairs .

Did you find an open condition?

--

Go to Step 13

Go to Step 12

11

Replace the A/T Wiring Harness Assembly.

Refer to Torque Converter Clutch Pulse Width Modulation Solenoid, Torque Converter Clutch Solenoid, and Wiring Harness Replacement.

Is the replacement complete?

--

Go to Step 13

--

12

Replace the PCM.

Refer to Powertrain Control Module Replacement/Programming .

Is the replacement complete?

--

Go to Step 13

--

13

In order to verify your repair, perform the following procedure:

  1. Select DTC.
  2. Select Clear Info.
  3. Ensure that the following conditions are met:
  4. • With the engine OFF, the ignition switch is in the RUN position.
    • The scan tool indicates a TFT Sensor signal voltage less than 4.92 volts for 400 seconds (6.7 minutes.
  5. Select Specific DTC. Enter DTC P0713.

Has the test run and passed?

--

System OK

Go to Step 1

DTC P0713 Transmission Fluid Temperature (TFT) Sensor Circuit High Input 3.8L


Object Number: 193768  Size: LF
Automatic Transmission Components VIN K
Automatic Transmission Controls Schematics
OBD II Symbol Description Notice
Handling ESD Sensitive Parts Notice
Handling ESD Sensitive Parts Notice

Circuit Description

The Automatic Transmission Fluid Temperature (TFT) Sensor is part of the Automatic Transmission Fluid Pressure Manual Valve Position Switch (TFP Val. Position Sw.). The TFT Sensor is a resistor, or thermistor, which changes value based on temperature. The sensor has a negative-temperature coefficient. This means that as the temperature increases, the resistance decreases, and as the temperature decreases, the resistance increases. The Powertrain Control Module (PCM) supplies a 5 volt reference signal to the sensor on circuit 1227 and measures the voltage drop in the circuit. When the transmission fluid is cold, the sensor resistance is high and the PCM detects high signal voltage. As the fluid temperature warms to a normal operating temperature, the resistance becomes less and the signal voltage decreases. The PCM uses this information to control shift quality and torque converter clutch apply.

When the PCM detects a continuous open or short to power in the TFT signal circuit or the TFT Sensor, then DTC P0713 sets. DTC P0713 is a type D DTC.

Conditions for Setting the DTC

    • The system voltage is 8-16 volts.
    • The ignition switch is in the RUN position.
    • The TFT Sensor indicates a signal voltage greater than 4.92 volts.
    • All conditions met for 409 seconds (6.8 minutes).

Action Taken When the DTC Sets

    • The PCM does not illuminate the Malfunction Indicator Lamp (MIL).
    • The PCM determines a default Transmission Fluid Temperature (TFT) using the following matrix:

       Important: The actions listed below are in order of highest to lowest priority.

        1. If any Engine Coolant Temperature (ECT) DTCs P0117 or P0118 are set, then the default TFT is equal to 135°C (275°F).
        2. If the ECT is 125°C (257°F) or more, then the default TFT is equal to 135°C (275°F).
        3. If the Engine Run Time is less than 300 seconds and:
   • No Intake Air Temperature (IAT) DTCs P0112 or P0113 are set and IAT is available, then the default TFT is equal to IAT.
   • Any Intake Air Temperature (IAT) DTCs P0112 or P0113 are set or IAT is NOT available, then the default TFT is equal to 90°C (194°F).
        4. If the Engine Run Time is greater than 300 seconds and No Intake Air Temperature (IAT) DTCs P0112 or P0113 are set and IAT is available and Engine Coolant Temperature (ECT) is between 40 and 125°C (104 and 257°F) and:
   • IAT at startup is less than 15°C (59°F), then the default TFT is equal to the Engine Coolant Temperature (ECT) plus 5°C (8°F).
   • IAT at startup is greater than 35°C (95°F), then the default TFT is equal to the Engine Coolant Temperature (ECT) plus 10°C (16°F).
   • IAT at startup is between 15 and 35°C (59 and 95°F), then the default TFT is equal to the Engine Coolant Temperature (ECT).
        5. If the Engine Run Time is greater than 300 seconds and any Intake Air Temperature (IAT) DTCs P0112 or P0113 are set or IAT is NOT available, then the default TFT is equal to the Engine Coolant Temperature (ECT).
        6. If the Engine Run Time is greater than 300 seconds and ECT is less than 40°C (104°F) or more, then the default TFT is equal to 60°C (140°F).
    • The PCM freezes shift adapts from being updated.
    • DTC P0713 stores in PCM history.

Conditions for Clearing the DTC

    • A scan tool can clear the DTC from the PCM history. The PCM clears the DTC from the PCM history if the vehicle completes 40 warm-up cycles without a failure reported.
    • The PCM cancels the DTC default actions when the fault no longer exists and the ignition is OFF long enough in order to power down the PCM.

Diagnostic Aids

    • Inspect the wiring at the PCM, the transmission connector and all other circuit connecting points for the following conditions:
       - A bent terminal
       - A backed out terminal
       - A damaged terminal
       - Poor terminal tension
       - A chafed wire
       - A broken wire inside the insulation
       - Moisture intrusion
       - Corrosion
    • When diagnosing for an intermittent short or open condition, massage the wiring harness while watching the test equipment for a change.
    • Use the Temperature vs Resistance table when testing the TFT Sensor at various temperature levels. Test the TFT Sensor in order to evaluate the possibility of a skewed (mis-scaled) sensor. A skewed sensor can result in delayed garage shifts or TCC complaints.
    • The scan tool also displays the transmission fluid temperature in degrees. After the transmission is operating, the fluid temperature should rise steadily to a normal operating temperature, then stabilize.

Test Description

The numbers below refer to the step numbers on the diagnostic table.

  1. This step verifies that a condition exists in the TFT Sensor circuit.

  2. This step simulates a TFT Sensor DTC P0712. If the PCM recognizes high temperature, the PCM and wiring are functioning normally.

  3. This step tests the TFT Sensor and Automatic Transmission Wiring Harness Assembly (A/T Wiring Harness Assembly).

DTC P0713 Transmission Fluid Temperature Sensor Circuit -- High Input (3.8L, VIN K)

Step

Action

Value(s)

Yes

No

1

Was the Powertrain On-Board Diagnostic (OBD) System Check performed?

--

Go to Step 2

Go to Powertrain On Board Diagnostic (OBD) System Check

2

Perform the transmission fluid checking procedure.

Refer to 4L60-E Transmission Fluid Check .

Have you performed the fluid checking procedure?

--

Go to Step 3

Go to Transmission Fluid Check

3

  1. Install the Scan Tool .
  2. With the engine OFF, turn the ignition switch to the RUN position.
  3. Important: Before clearing the DTC(s), use the scan tool in order to record the Failure Records for reference. Using the Clear Info function will erase the stored Failure Records from the PCM.

  4. Record the DTC Failure Records, then clear the DTC(s).

Does the scan tool display a TFT Sensor signal voltage greater than the specified value?

4.92 volts

Go to Step 4

Go to Diagnostic Aids

4

  1. Turn the ignition OFF.
  2. Disconnect the transmission 20-way connector.
  3. Install the J 39775 Jumper Harness on the engine side of the 20-way connector.
  4. Install a fused jumper wire from terminal L to terminal M on the engine harness.
  5. With the engine OFF, turn the ignition switch to the RUN position.

Does the TFT Sensor signal voltage drop to less than the specified value?

0.2 volts

Go to Step 5

Go to Step 9

5

  1. Turn the ignition OFF.
  2. Install the J 39775 Jumper Harness on the transmission side of the 20-way connector.
  3. Using the J 39200 Digital Multimeter (DMM) and J 35616-A Connector Test Adapter Kit, measure the resistance between terminal L and terminal M.

Is the resistance within the specified range?

3088-3942 Ohms at 20°C (68°F)

159-198 Ohms at 100°C (212°F)

Go to Diagnostic Aids

Go to Step 6

6

Inspect circuit 1227 (BRN) and circuit 452 (GRY) of the Automatic Transmission Wiring Harness Assembly (A/T Wiring Harness Assembly) for an open condition.

Refer to General Electrical Diagnosis .

Did you find an open condition?

--

Go to Step 11

Go to Step 7

7

  1. Disconnect the A/T Wiring Harness Assembly at the TFT Sensor.
  2. Measure the resistance of the TFT Sensor.

Is the resistance within the specified range?

3088-3942 Ohms at 20°C (68°F)

159-198 Ohms at 100°C (212°F)

Go to Diagnostic Aids

Go to Step 8

8

Replace the TFT Sensor (this is part of the TFP Val. Position Sw.).

Refer to Valve Body and Pressure Switch Replacement .

Is the replacement complete?

--

Go to Step 13

--

9

  1. Inspect circuit 1227 (YEL/BLK) of the engine wiring harness for an open or short to B+ condition.
  2. Refer to General Electrical Diagnosis .

  3. Repair the circuit if necessary.
  4. Refer to Wiring Repairs .

Did you find an open or short to B+ condition?

--

Go to Step 13

Go to Step 10

10

  1. Inspect circuit 720 (GRY) for an open condition.
  2. Refer to General Electrical Diagnosis .

  3. Repair the circuit if necessary.
  4. Refer to Wiring Repairs .

Did you find an open condition?

--

Go to Step 13

Go to Step 12

11

Replace the A/T Wiring Harness Assembly.

Refer to Torque Converter Clutch Pulse Width Modulation Solenoid, Torque Converter Clutch Solenoid, and Wiring Harness Replacement.

Is the replacement complete?

--

Go to Step 13

--

12

Replace the PCM.

Refer to Powertrain Control Module Replacement/Programming .

Is the replacement complete?

--

Go to Step 13

--

13

In order to verify your repair, perform the following procedure:

  1. Select DTC.
  2. Select Clear Info.
  3. With the engine OFF, turn the ignition switch to the RUN position.
  4. Verify that the scan tool indicates a TFT Sensor signal voltage less than 4.92 volts for less than 409 seconds (6.8 minutes).
  5. Select Specific DTC. Enter DTC P0713.

Has the test run and passed?

--

System OK

Go to Step 1