GM Service Manual Online
For 1990-2009 cars only

Removal Procedure

Tools Required

J 25034-C Power Steering Pump Pulley Remover


    Object Number: 208241  Size: SH
  1. Disconnect the negative battery cable. Refer to Battery Negative Cable Disconnection and Connection in Engine Electrical.
  2. Drain the engine oil.
  3. Drain the engine coolant. Refer to Cooling System Draining and Filling in Engine Cooling.

  4. Object Number: 208554  Size: SH
  5. Disconnect the intake air temperature (IAT) sensor electrical connector.

  6. Object Number: 208572  Size: SH
  7. Remove the air intake duct.
  8. Loosen the coolant pump pulley bolts.
  9. Remove the drive belt tensioner. Refer to Drive Belt Tensioner Replacement .

  10. Object Number: 354410  Size: SH
  11. Use the J 25034-C to remove the power steering pump pulley.

  12. Object Number: 354420  Size: SH
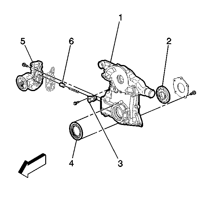
  13. Place a drain pan under the power steering pump (1).
  14. Disconnect the inlet hose (3) from the power steering pump (1).
  15. Reposition the hose clamp on the return line (2).
  16. Disconnect the reservoir hose return line (2) from the power steering pump (1).

  17. Object Number: 290569  Size: SH
  18. Remove the power steering pump nuts (3).
  19. Remove the power steering pump (1).
  20. Raise and suitably support the vehicle. Refer to Lifting and Jacking the Vehicle in General Information.
  21. Remove the crankshaft balancer. Refer to Crankshaft Balancer Replacement .

  22. Object Number: 440841  Size: SH
  23. Disconnect the crankshaft position sensor electrical connector.
  24. Remove the crankshaft position sensor shield.

  25. Object Number: 187288  Size: SH
  26. Remove the crankshaft position sensor studs.
  27. Remove the crankshaft position sensor.
  28. Remove the oil pan to front cover bolts.
  29. Loosen the oil pan bolts, to drop the oil pan slightly in order to add clearance for the front cover installation.
  30. Lower the vehicle.

  31. Object Number: 221711  Size: SH
  32. Remove the coolant pump pulley bolts.
  33. Remove the coolant pump pulley.

  34. Object Number: 221689  Size: SH
  35. Remove the radiator outlet hose from the front cover.

  36. Object Number: 50504  Size: SH
  37. Remove the engine front cover studs and bolts (1).
  38. Remove the engine front cover (2).

  39. Object Number: 440843  Size: SH
  40. Remove the engine front cover gasket from the engine block.

  41. Object Number: 11687  Size: SH
  42. Remove the coolant pump bolts (1).
  43. Remove the coolant pump (2).
  44. Remove the coolant pump gasket (3) from the front cover (4).

  45. Object Number: 445496  Size: SH
  46. If replacing the front cover (1), disassemble the following components:
  47. • Oil pump gear set (2)
    • Camshaft sensor (3)
    • Oil filter adapter (5) and gasket
    • Oil pressure relief valve (6) and spring
  48. Remove the crankshaft front oil seal (4).
  49. Clean the engine front cover and engine block surfaces.

Installation Procedure

Tools Required

  1. J 36660-A Torque Angle Meter
  2. J 35354 Seal Installer
  3. J 25033-C Power Steering Pump Pulley Installer

    Object Number: 445496  Size: SH
  1. If replacing the front cover (1), assemble the following parts:
  2. • Oil pump gear set (2)
    • Camshaft sensor (3)
    • Oil filter adapter (5) and a new gasket
    • Oil pressure relief valve (6) and spring
  3. Install a new crankshaft front oil seal (4)

  4. Object Number: 11687  Size: SH
  5. Install the coolant pump gasket (3) to the front cover (4).
  6. Install the coolant pump (2).
  7. Install the coolant pump bolts (1).
  8. Tighten
    Tighten the coolant pump bolts (1) to 15 N·m (11 lb ft). Use the J 36660-A to torque the coolant pump bolts (1) an additional 80 degrees.


    Object Number: 440843  Size: SH
  9. Install a new engine front cover gasket to the engine block.

  10. Object Number: 50504  Size: SH
  11. Install the engine front cover (2).

  12. Object Number: 445603  Size: SH
  13. Apply sealant GM P/N 12346004 or equivalent to the engine front cover bolts (1) and stud (2).
  14. Install the engine front cover bolts (1) and stud (2).
  15. Tighten
    Tighten the front cover bolts (1) and stud (2) to 20 N·m (15 lb ft). Use the J 36660-A to torque the front cover bolts (1) and stud (2) an additional 40 degrees.


    Object Number: 221689  Size: SH
  16. Install the radiator outlet hose to the front cover.

  17. Object Number: 221711  Size: SH
  18. Install the coolant pump pulley.
  19. Install the coolant pump pulley bolts.
  20. Tighten
    Tighten the coolant pump pulley bolts to 13 N·m (115 lb in).

  21. Raise and suitably support the vehicle. Refer to Lifting and Jacking the Vehicle in General Information.
  22. Install the oil pan to front cover bolts.
  23. Tighten
    Tighten the oil pan bolts to 14 N·m (10 lb ft).


    Object Number: 187288  Size: SH
  24. Install the crankshaft position sensor.
  25. Apply sealant GM P/N 12346004 or equivalent to the crankshaft position sensor studs.
  26. Install the crankshaft position sensor studs.
  27. Tighten
    Tighten the crankshaft position sensor studs to 20 N·m (15 lb ft). Use the J 36660-A to torque the crankshaft position sensor studs an additional 40 degrees.


    Object Number: 440841  Size: SH
  28. Install the crankshaft position sensor shield.
  29. Connect the crankshaft position sensor electrical connector.
  30. Install the crankshaft balancer. Refer to Crankshaft Balancer Replacement .
  31. Lower the vehicle.

  32. Object Number: 290569  Size: SH
  33. Install the power steering pump (1).
  34. Install the power steering pump nuts (3).
  35. Tighten
    Tighten the power steering pump nuts (3) to 30 N·m (23 lb ft).


    Object Number: 354420  Size: SH
  36. Connect the reservoir hose return line (2) to the power steering pump (1).
  37. Position the hose clamp on the return line (2).
  38. Connect the inlet hose (3) to the power steering pump (1).
  39. Tighten
    Tighten the inlet hose (3) fitting to 28 N·m (21 lb ft).


    Object Number: 354410  Size: SH
  40. Use the J 25033-C to install the power steering pump pulley.
  41. Remove the J 25033-C .
  42. Install the drive belt tensioner. Refer to Drive Belt Tensioner Replacement .

  43. Object Number: 208572  Size: SH
  44. Install the air intake duct.

  45. Object Number: 208554  Size: SH
  46. Connect the intake air temperature (IAT) sensor electrical connector.
  47. Refill the engine oil.
  48. Refill the engine coolant. Refer to Cooling System Draining and Filling in Engine Cooling.

  49. Object Number: 208241  Size: SH
  50. Connect the negative battery cable. Refer to Battery Negative Cable Disconnection and Connection in Engine Electrical.