GM Service Manual Online
For 1990-2009 cars only
Makes
🢒
Chevrolet
🢒
1999
🢒
Camaro
🢒
Engine
🢒
Engine Cooling
🢒 Cooling Fan Schematics
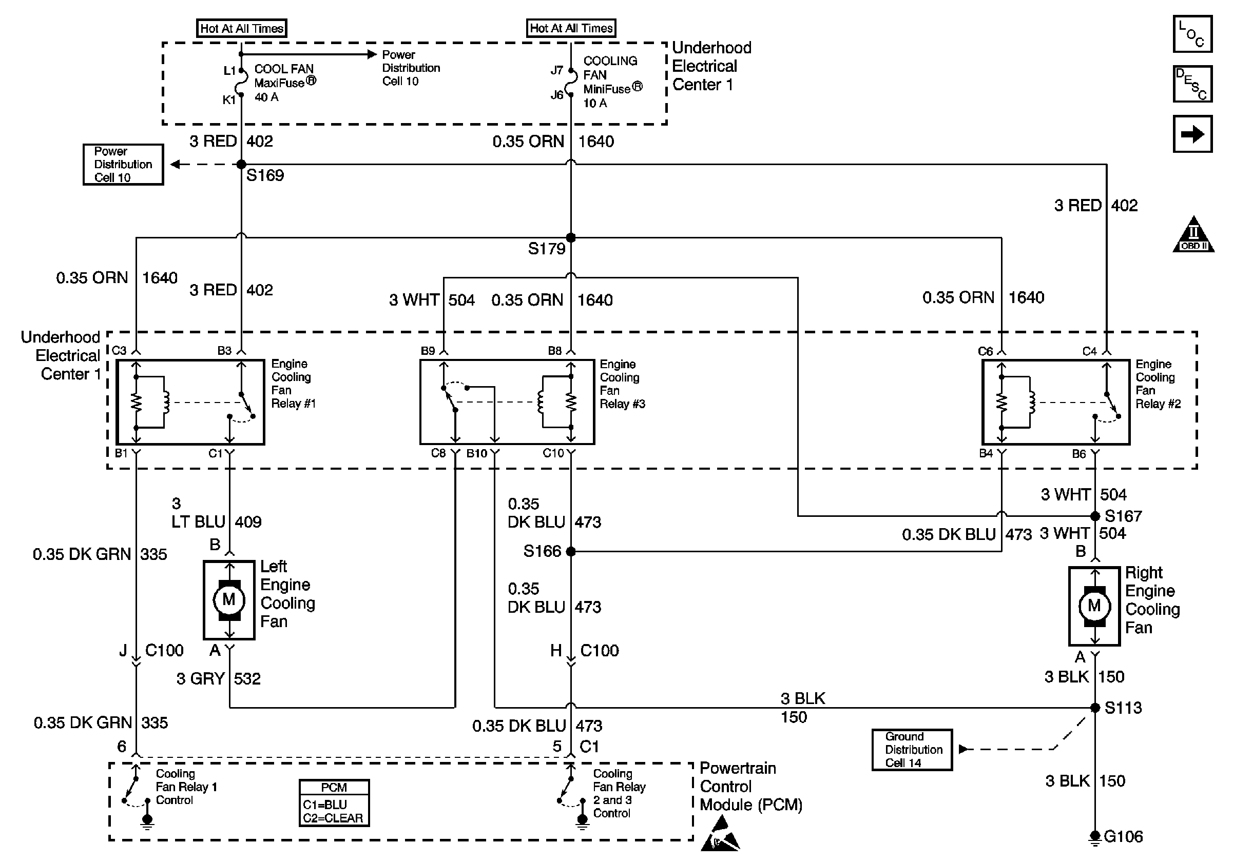
Figure
1:
Cooling Fans 3.8L
Cooling System Components
Engine Cooling Fan Description - Electric
Cooling Fans 5.7L
OBD II Symbol Description Notice
Battery and Underhood Electrical Center 1
Powertrain Control Module Connector End Views
Battery and Underhood Electrical Center 1
Handling ESD Sensitive Parts Notice
G106
Figure
2:
Cooling Fans 5.7L
Cooling System Components
Engine Cooling Fan Description - Electric
Cooling Fans 3.8L
OBD II Symbol Description Notice
Battery and Underhood Electrical Center 1
Powertrain Control Module Connector End Views
Handling ESD Sensitive Parts Notice
Battery and Underhood Electrical Center 1
G106