GM Service Manual Online
For 1990-2009 cars only

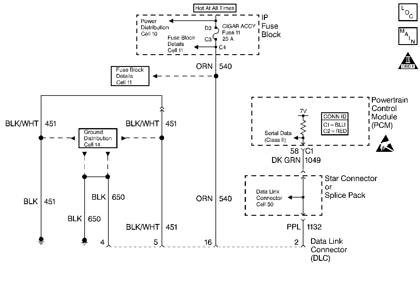
Object Number: 372884  Size: MF
Engine Controls Component Views
Data Link Connector (DLC)
OBD II Symbol Description Notice
Handling ESD Sensitive Parts Notice

Circuit Description

Use a properly functioning scan tool with the diagnostic tables in this section. DO NOT use the Clear Info function unless instructed by a diagnostic procedure.

Important: This vehicle, equipped with a Powertrain Control Module (PCM), utilizes an Electrically Erasable Programmable Read Only Memory (EEPROM). Program the new PCM when the diagnostics call for replacement of the PCM. Refer to Powertrain Control Module Replacement/Programming .

Diagnostic Aids

    • The following may cause an intermittent:
       - Poor connections; Refer to Intermittents and Poor Connections Diagnosis in Wiring Systems.
       - Corrosion
       - Mis-routed harness.
       - Rubbed through wire insulation.
       - Broken wire inside the insulation.
    • For an intermittent, refer to Symptoms .

Test Description

The numbers below refer to the step numbers on the diagnostic table.

  1. An engine that just cranks and does not attempt to start indicates that the PCM is not powered-up.

  2. A ground must be available at both terminals for the scan tool to function properly.

  3. A no start condition occurs when the fuse(s) for the battery or ignition feed circuits is open. The MIL is inoperative when the battery and ignition feed circuit fuses open. Inspect the circuits for being grounded when either of these fuses open.

  4. If the test lamp does not illuminate for a circuit, inspect the fuse for being open. If the fuse is open, inspect the circuit for a short to ground.

  5. Inspect for an open fuse that supplies the DLC. If the fuse is open, repair the grounded circuit.

No Scan Tool Data

Step

Action

Value(s)

Yes

No

1

Did you perform the Powertrain On-Board Diagnostic (OBD) System Check?

--

Go to Step 2

Go to Powertrain On Board Diagnostic (OBD) System Check

2

Important: This table assumes that the scan tool you are using is functional.

  1. Turn ON the ignition leaving the engine OFF.
  2. Connect the scan tool to the Data Link Connector (DLC).

Does the scan tool power-up?

--

Go to Step 3

Go to Step 4

3

Does the engine start and continue to operate?

--

Go to Step 10

Go to Step 8

4

  1. Disconnect the scan tool from the DLC.
  2. Turn ON the ignition leaving the engine OFF.
  3. Probe the DLC terminal 16 using the test lamp J 35616-200 connected to the battery ground.

Is the test lamp illuminated?

--

Go to Step 5

Go to Step 15

5

Probe the DLC terminals 4 and 5 using the test lamp J 35616-200 connected to B+.

Is the test lamp illuminate on both the circuits?

--

Go to Step 6

Go to Step 7

6

Inspect the scan tool connections to the DLC. Also inspect the terminals for proper terminal tension at the DLC. Refer to Intermittents and Poor Connections Diagnosis in Wiring Systems for procedures.

Is the action complete?

--

Go to Powertrain On Board Diagnostic (OBD) System Check

--

7

Repair the open ground circuit to the DLC terminals 4 and 5. Refer to Wiring Repairs in Wiring Systems .

Is the action complete?

--

Go to Powertrain On Board Diagnostic (OBD) System Check

--

8

  1. Turn OFF the ignition.
  2. Disconnect the PCM connector C1 located on the same side as the manufacturer's logo. Refer to Powertrain Control Module Replacement/Programming .
  3. Turn ON the ignition.
  4. Probe the PCM Battery and the PCM ignition feed circuits (C1-19, 20, and 57) in the PCM harness connectors using the test lamp J 35616-200 connected to a battery ground.

Does the test lamp illuminate for each circuit?

--

Go to Step 9

Go to Step 13

9

  1. Turn OFF the ignition.
  2. Disconnect the PCM connector C2 located on the opposite side of the manufacturer's logo. Refer to Powertrain Control Module Replacement/Programming .
  3. Measure the resistance between the battery ground and the PCM ground circuits (C1-1, C1-40 and C2-1, C2-40) in the PCM harness connectors using the DMM J 39200 .

Does the DMM display the specified value (or lower) on each circuit?

2 ohms

Go to Step 11

Go to Step 14

10

  1. Test the Class 2 circuit for being open, grounded, or shorted to a voltage.
  2. If a condition is found repair the circuit as necessary. Refer to Wiring Repairs in Wiring Systems .

Did you find and correct the condition?

--

Go to Powertrain On Board Diagnostic (OBD) System Check

Go to Step 11

11

  1. Inspect for poor connections at the PCM . Refer to Intermittents and Poor Connections Diagnosis in Wiring Systems.
  2. If you find a poor connection repair as necessary. Refer to Repairing Connector Terminals in Wiring Systems.

Did you find and correct the condition?

--

Go to Powertrain On Board Diagnostic (OBD) System Check

Go to Step 12

12

Important: Program the replacement PCM. Refer to Powertrain Control Module Replacement/Programming .

Replace the PCM.

Is the action complete?

--

Go to Powertrain On Board Diagnostic (OBD) System Check

--

13

Repair the circuit that did not illuminate the test lamp. Refer to Wiring Repairs in Wiring Systems .

Is the action complete?

--

Go to Powertrain On Board Diagnostic (OBD) System Check

--

14

Repair the faulty PCM ground circuit(s). Refer to Wiring Repairs in Wiring Systems .

Is the action complete?

--

Go to Powertrain On Board Diagnostic (OBD) System Check

--

15

Repair the faulty B+ supply circuit. Refer to Wiring Repairs in Wiring Systems .

Is the action complete?

--

Go to Powertrain On Board Diagnostic (OBD) System Check

--