GM Service Manual Online
For 1990-2009 cars only

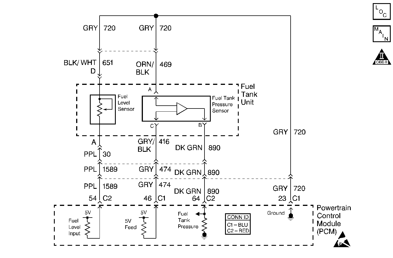
Object Number: 373004  Size: MF
Engine Controls Component Views
Fuel System
OBD II Symbol Description Notice
Handling ESD Sensitive Parts Notice

Circuit Description

The Fuel Level Sensor changes resistance based on fuel level. The Fuel Level Sensor has a signal circuit and a ground circuit. The PCM applies a voltage (about 5.0 volts) on the signal circuit to the sensor. The PCM monitors the changes in this voltage caused by changes in the resistance of the sensor in order to determine fuel level.

When the fuel tank is full, the sensor resistance is high, therefore, the PCM senses a high signal voltage (fuel tank full). When the fuel tank is empty, the sensor resistance is low, and the PCM senses a low signal voltage (fuel tank empty).

The PCM uses inputs from the Fuel Level Sensor in order to calculate the total fuel remaining in the fuel tank. This information is then sent to the fuel gauge. The Fuel Level information is also used for misfire and EVAP diagnostics.

This diagnostic tests for a stuck fuel level sensor signal. The PCM sets this DTC if the fuel level signal appears to be stuck based on a lack of signal variation expected during normal operation.

Conditions for Running the DTC

    • The ignition switch is in the RUN position.
    •  More than 150 miles have been accumulated.

Conditions for Setting the DTC

The fuel level in the fuel tank does not decrease by at least 3.0 liters (3/4 gallon).

Action Taken When the DTC Sets

    • The powertrain control module (PCM) stores the DTC information into memory when the diagnostic runs and fails.
    • The malfunction indicator lamp (MIL) will not illuminate.
    • The PCM records the operating conditions at the time the diagnostic fails. The PCM stores this information in the Failure Records.

Conditions for Clearing the DTC

    • A last test failed, or current DTC, clears when the diagnostic runs and does not fail.
    • A history DTC will clear after 40 consecutive warm-up cycles, if no failures are reported by this or any other non-emission related diagnostic.
    • Use a scan tool in order to clear the DTC.

Diagnostic Aids

Important: 

   • Remove any debris from the PCM connector surfaces before servicing the PCM. Inspect the PCM connector gaskets when diagnosing/replacing the PCM. Ensure that the gaskets are installed correctly. The gaskets prevent water intrusion into the PCM.
   • For any test that requires probing the PCM or a component harness connector, use the Connector Test Adapter Kit J 35616 . Using this kit prevents damage to the harness/component terminals. Refer to Using Connector Test Adapters in Wiring Systems.

    • The vehicle fuel gauge displays empty with this DTC set.
    • Using Freeze Frame and/or Failure Records data may aid in locating an intermittent condition. If you cannot duplicate the DTC, the information included in the Freeze Frame and/or Failure Records data can aid in determining how many miles since the DTC set. The Fail Counter and Pass Counter can also aid determining how many ignition cycles the diagnostic reported a pass and/or a fail. Operate the vehicle within the same freeze frame conditions (RPM, load, vehicle speed, temperature etc.) that you observed. This will isolate when the DTC failed.
    • For an intermittent, refer to Symptoms .

Test Description

The numbers below refer to the step numbers on the diagnostic table.

  1. This step determines if the fault is present.

Step

Action

Value(s)

Yes

No

1

Did you perform the Powertrain On-Board Diagnostic (OBD) System Check?

--

Go to Step 2

Go to Powertrain On Board Diagnostic (OBD) System Check

2

  1. Disconnect the Fuel Tank jumper harness from the body pass through connector. Refer to

    Outside Left of Rear Floor Pan, Forward of Rear Axle


    Object Number: 383738  Size: MF
    (1)C405B
    (2)I/P wiring harness
    (3)C405C
    (4)Rear wheel speed sensor harness
    in Wiring Systems.
  2. Jumper the fuel level signal circuit to a known good ground.
  3. Monitor the Fuel Level sensor parameter using the scan tool.

Is the Fuel Level sensor at the specified value?

0.0V

Go to Step 3

Go to Step 5

3

  1. Jumper the Fuel Level sensor signal circuit and the ground circuit together at the body pass through connector.
  2. Monitor the Fuel Level sensor parameter using the scan tool.

Is the Fuel Level sensor at the specified value?

0.0V

Go to Step 4

Go to Step 6

4

  1. Remove the tank fuel level sensor. Refer to Fuel Sender Assembly Replacement .
  2. Inspect for the following:
  3. • Damage to the Fuel Tank jumper harness.
    • Poor connections at the Fuel Pump Tank Module.
    • A stuck Fuel Level sensor (i.e. the fuel strainer interfering with the sender float arm.)
    • Foreign material in the fuel tank (ice)
    • A deformed fuel tank.
  4. If you find a condition, repair the condition as necessary.

Did you find and correct the condition?

--

Go to Step 10

Go to Step 7

5

  1. Disconnect the PCM connector C2 located on the opposite side of the manufacturer's logo. Refer to Powertrain Control Module Replacement/Programming .
  2. Test the Fuel Level signal circuit for excessive resistance. Refer to Testing for Continuity in Wiring Systems.
  3. If you find a circuit condition, repair the circuit as necessary.

Did you find and correct the condition?

--

Go to Step 10

Go to Step 8

6

  1. Disconnect the PCM connector C1 located on the same side as the manufacturer's logo. Refer to Powertrain Control Module Replacement/Programming .
  2. Test the Fuel Level ground circuit for excessive resistance.
  3. If you find a circuit condition, repair the circuit as necessary. Refer to Wiring Repairs in Wiring Systems.

Did you find and correct the condition?

--

Go to Step 10

Go to Step 8

7

Replace the Fuel Level sensor. Refer to Fuel Level Sensor Replacement .

Is the action complete?

--

Go to Step 10

--

8

  1. Inspect for poor connections at the PCM. Refer to Intermittents and Poor Connections Diagnosis in Wiring Systems.
  2. If you find a poor connection , repair the terminal as necessary. Refer to Repairing Connector Terminals in Wiring Systems.

Did you find and correct the condition?

--

Go to Step 10

Go to Step 9

9

Important:: Program the replacement PCM. Refer to Powertrain Control Module Replacement/Programming .

Replace the PCM.

Is the action complete?

--

Go to Step 10

--

10

  1. Select the Diagnostic Trouble Code (DTC) option and the Clear DTC Information option using the scan tool.
  2. Idle the engine at the normal operating temperature.
  3. Select the Diagnostic Trouble Code (DTC) option and the Specific DTC option, then enter the DTC number using the scan tool.
  4. Operate the vehicle within the Conditions for Running the DTC as specified in the supporting text, if applicable.

Does the scan tool indicate that this test ran and passed?

--

Go to Step 11

Go to Step 2

11

Select the Capture Info option and the Review Info option using the scan tool.

Does the scan tool display any DTCs that you have not diagnosed?

--

Go to Applicable DTC

System OK