GM Service Manual Online
For 1990-2009 cars only
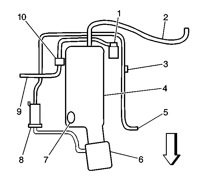
Figure 1:

Emission Hose Routing Diagram


Object Number: 226742  Size: SH
(1)Fuel Pressure Regulator
(2)To Vacuum Brake Booster
(3)EVAP Service Port
(4)Intake Manifold
(5)To EVAP Canister (Behind the Left Rear Tire)
(6)Throttle Body
(7)PCV Valve
(8)EVAP Canister Purge Solenoid Valve
(9)To Accessory
(10)Manifold Vacuum Source
Figure 2:

EVAP Control System Overview


Object Number: 200517  Size: LF
(1)EVAP Vent Valve/Solenoid
(2)EVAP Vent Valve/Solenoid Ignition Feed Circuit Terminal
(3)EVAP Vent Valve/Solenoid Control Circuit Terminal
(4)EVAP Vent Valve/Solenoid Filter
(5)EVAP Vapor Lines
(6)Fuel Tank Pressure Sensor
(7)Fuel Tank Pressure Sensor Ground Circuit Terminal
(8)Fuel Tank Pressure Sensor Signal Circuit Terminal
(9)Fuel Tank Pressure Sensor Circuit 5 Volt Reference Circuit Terminal
(10)Fuel Filler Pipe
(11)Check Valve (Spitback)
(12)Modular Fuel Sender Assembly
(13)Fuel Limiter Vent Valve (FLVV)
(14)Pressure/Vacuum Relief Valve (Optional)
(15)EVAP Canister
(16)EVAP Canister Purge Valve/Solenoid Ignition Feed Circuit Terminal
(17)EVAP Canister Purge Valve/Solenoid Control Circuit Terminal
(18)Intake Manifold Vacuum Source
(19)EVAP Canister Purge Valve/Solenoid
(20)EVAP Service Port