GM Service Manual Online
For 1990-2009 cars only
Makes
🢒
Chevrolet
🢒
1999
🢒
Camaro
🢒
Body and Accessories
🢒
Lighting Systems
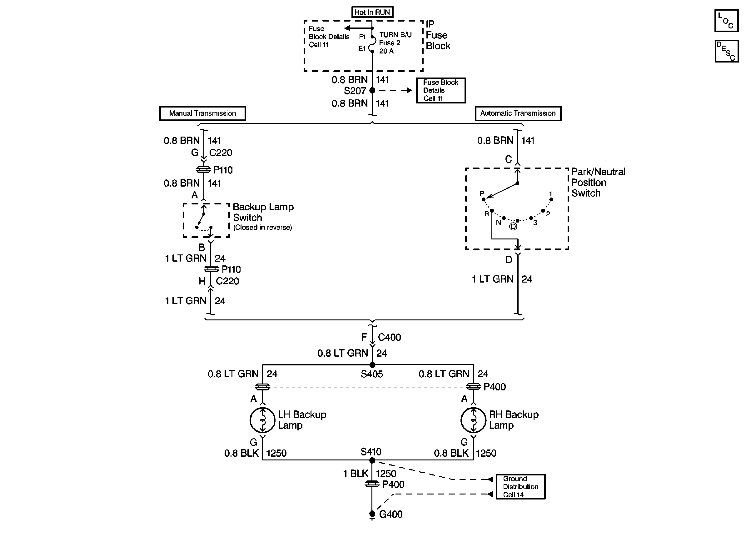
🢒 Backup Lamp Schematics
Cell 112
Ignition Switch and IP Fuse Block
I/P Fuses 1, 2, 5 and 6
Lighting Systems Components
Backup Lamp Circuit Description
G400 Chevrolet