GM Service Manual Online
For 1990-2009 cars only
Makes
🢒
Chevrolet
🢒
1999
🢒
Camaro
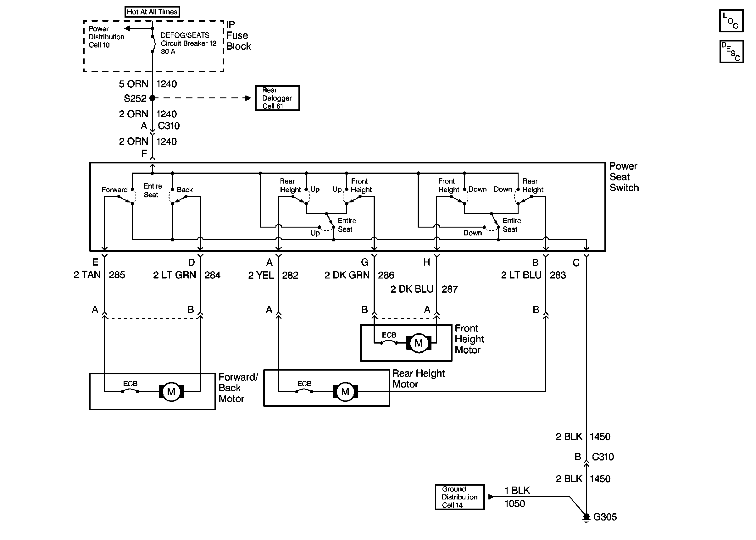
🢒 Cell 140: Driver 6-Way (AG1)
Cell 140: Driver 6-Way (AG1)
Cell 140: Driver 6-Way (AG1)
Power Seat Systems Components
Power Seats Circuit Description
Fusible Links, IP Fuse Block, and Underhood Electrical Centers
Cell 61
G305, G310, G320