GM Service Manual Online
For 1990-2009 cars only
Makes
🢒
Chevrolet
🢒
1999
🢒
Camaro
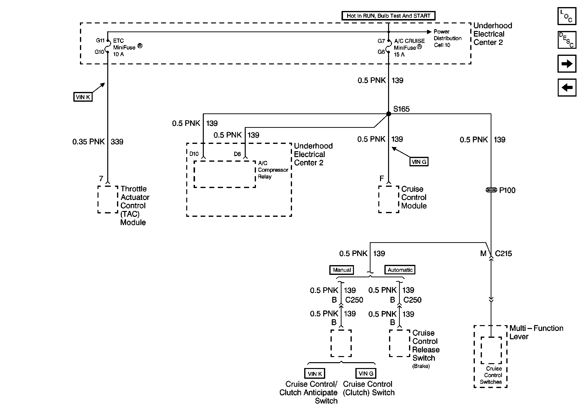
🢒 U/H Center 2: ETC and A/C Cruise Fuses
U/H Center 2: ETC and A/C Cruise Fuses
U/H Center 2: ETC and A/C Cruise Fuses
Power and Grounding Components
U/H Center 2: INJ 1 and INJ 2 Fuses
U/H Center 2: STRTR, PCM IGN and ABS IGN Fuses