GM Service Manual Online
For 1990-2009 cars only
Makes
🢒
Chevrolet
🢒
1999
🢒
Camaro
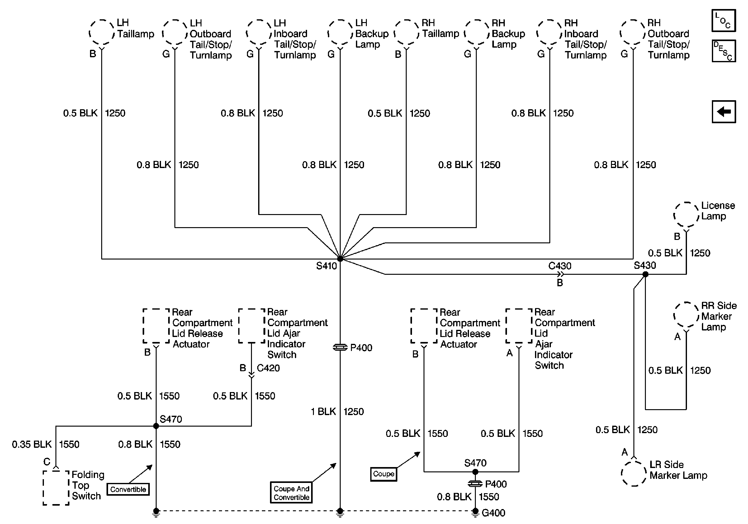
🢒 G400 Pontiac
G400 Pontiac
G400 Pontiac
Power and Grounding Components
G400 Chevrolet
G305, G310, G320