GM Service Manual Online
For 1990-2009 cars only

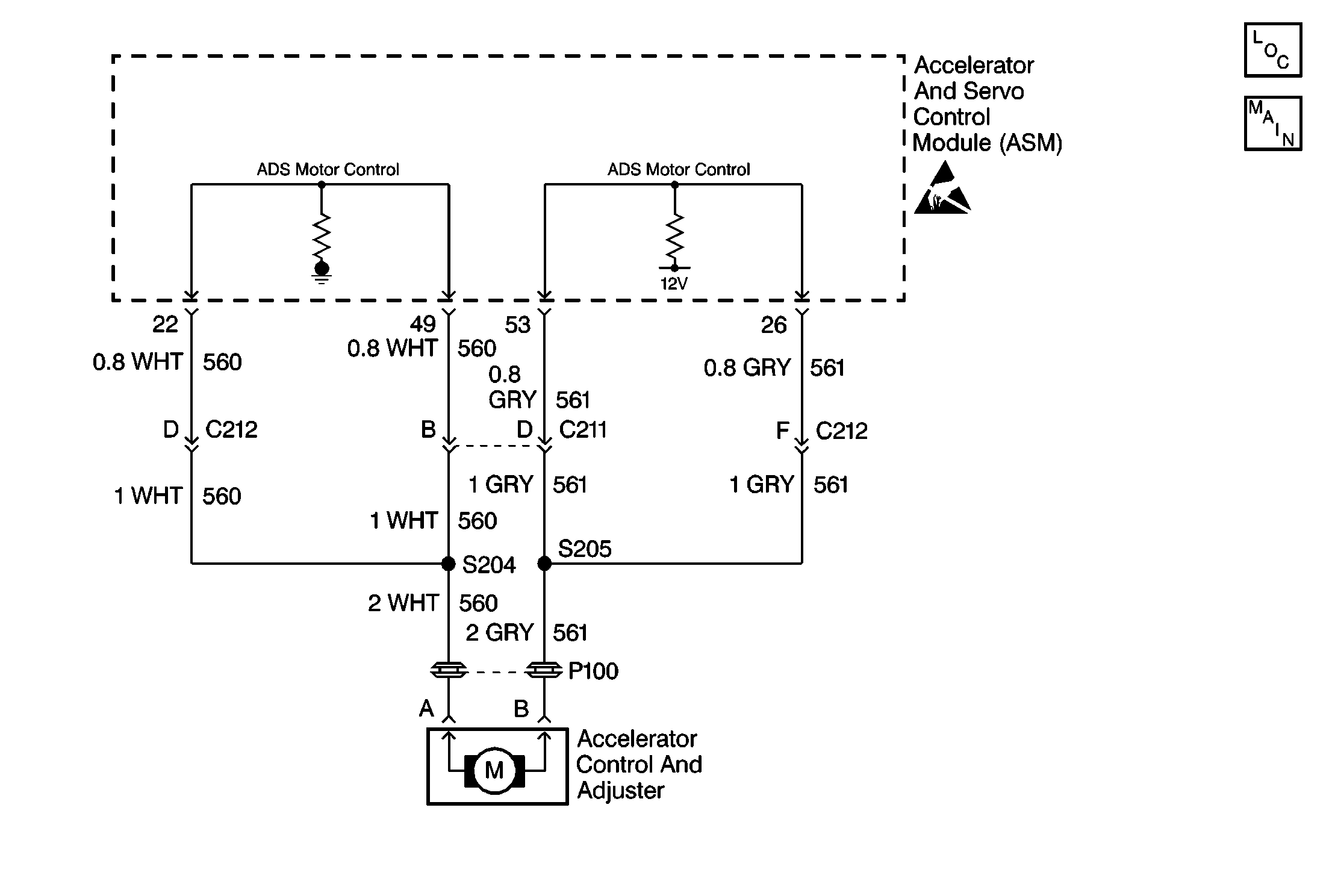
Object Number: 213284  Size: MF
ABS Components
Antilock Brake System Schematics

Circuit Description

Identifies an adjuster assembly motor circuit that is shorted to ground, shorted to voltage, or an open circuit. This malfunction will not allow the adjuster assembly motor to be controlled at the commanded current rate or will cause the driver circuit to allow current directly to ground.

Conditions for Setting the DTC

DTC C0181 can set anytime the ignition switch is in the RUN position and the EBTCM detects an open, short to ground, or a short to voltage.

Action Taken When the DTC Sets

   • 

A malfunction DTC stores

   • 

The TCS disables

   • 

The amber TCS indicator turns on

Conditions for Clearing the DTC

    • The condition responsible for setting the DTC no longer exists and the scan tool Clear DTCs function is used.
    • 100 ignition cycles pass with no DTCs detected.

Diagnostic Aids

Thoroughly inspect any circuitry that may be causing the complaint for the following conditions:

   • 

Backed out terminals

   • 

Improper mating

   • 

Broken locks

   • 

Improperly formed or damaged terminals

   • 

Poor terminal-to-wiring connections

   • 

Physical damage to the wiring harness

The following conditions may cause an intermittent malfunction:

   • 

A poor connection

   • 

Rubbed-through wire insulation

   • 

A broken wire inside the insulation

If an intermittent malfunction exists refer to Troubleshooting Procedures Cell 4 in Electrical Diagnosis.

Test Description

The number(s) below refer to the step number(s) on the diagnostic table.

  1. This step checks for a short to ground.

  2. This step checks for an open.

  3. This step checks for a short to voltage.

DTC C0181 Throttle Reduction Motor Circuit Malfunction

Step

Action

Value(s)

Yes

No

1

Was the Diagnostic System Check performed?

--

Go to Step 2

Go to Diagnostic System Check - ABS

2

  1. Turn the ignition switch to the OFF position.
  2. Disconnect the Accelerator Control and Adjuster connector.
  3. Disconnect all cables from the Accelerator Control and Adjuster.
  4. Rotate Adjuster by hand fully, then release and allow to return to the stop. Repeat this procedure three times.
  5. Zero the leads on the J 39200 DMM.
  6. Using J 39200 DMM, measure the resistance between the Accelerator Control and Adjuster connector terminals A and B.

Is the resistance within the range specified in the value(s) column?

0.5-10 ohms

Go to Step 4

Go to Step 3

3

Replace the Accelerator Control and Adjuster. Refer to Adjuster Assembly Replacement .

Is the repair complete?

--

Go to Diagnostic System Check - ABS

--

4

  1. Disconnect the ASM harness connector.
  2. Using J 39200 DMM measure the resistance between the ASM harness connector terminals 22 and 28.

Is the resistance within the range specified in the value(s) column?

OL (infinite)

Go to Step 6

Go to Step 5

5

Repair CKT 560 for a short to ground. Refer to Repair Procedures Cell 5 in Electrical Diagnosis.

Is the repair complete?

--

Go to Diagnostic System Check - ABS

--

6

Using J 39200 DMM measure the resistance between the ASM harness connector terminals 26 and 28.

Is the resistance within the range specified in the value(s) column?

OL (infinite)

Go to Step 8

Go to Step 7

7

Repair CKT 561 for a short to ground. Refer to Repair Procedures Cell 5 in Electrical Diagnosis.

Is the repair complete?

--

Go to Diagnostic System Check - ABS

--

8

Using the J 39200 DMM, measure the resistance between the ASM harness connector terminal 22 and the Accelerator Adjuster harness connector terminal A.

Is the resistance within the range specified in the value(s) column?

0-5 ohms

Go to Step 10

Go to Step 9

9

Repair CKT 560 for an open. Refer to Repair Procedures Cell 5 in Electrical Diagnosis.

Is the repair complete?

--

Go to Diagnostic System Check - ABS

--

10

Using the J 39200 DMM, measure the resistance between the ASM harness connector terminal 49 and the Accelerator Adjuster harness connector terminal A.

Is the resistance within the range specified in the value(s) column?

0-5 ohms

Go to Step 11

Go to Step 9

11

Using the J 39200 DMM, measure the resistance between the ASM harness connector terminal 26 and the Accelerator Adjuster harness connector terminal B.

Is the resistance within the range specified in the value(s) column?

0-5 ohms

Go to Step 13

Go to Step 12

12

Repair CKT 561 for an open. Refer to Repair Procedures Cell 5 in Electrical Diagnosis.

Is the repair complete?

--

Go to Diagnostic System Check - ABS

--

13

Using the J 39200 DMM, measure the resistance between the ASM harness connector terminal 53 and the Accelerator Adjuster harness connector terminal B.

Is the resistance within the range specified in the value(s) column?

0-5 ohms

Go to Step 14

Go to Step 12

14

  1. Turn the ignition switch to the RUN position, engine off.
  2. Using the J 39200 DMM, measure the voltage at the ASM harness connector terminal 22.

Is the voltage above the value specified in the value(s) column?

1 V

Go to Step 15

Go to Step 16

15

Repair CKT 560 for a short to voltage. Refer to Repair Procedures Cell 5 in Electrical Diagnosis.

Is the repair complete?

--

Go to Diagnostic System Check - ABS

--

16

Using the J 39200 DMM, measure the voltage at the ASM harness connector terminal 26.

Is the voltage above the value specified in the value(s) column?

1 V

Go to Step 17

Go to Step 18

17

Repair CKT 561 for a short to voltage. Refer to Repair Procedures Cell 5 in Electrical Diagnosis.

Is the repair complete?

--

Go to Diagnostic System Check - ABS

--

18

Replace the ASM.

Is the replacement complete?

--

Go to Diagnostic System Check - ABS

--