GM Service Manual Online
For 1990-2009 cars only

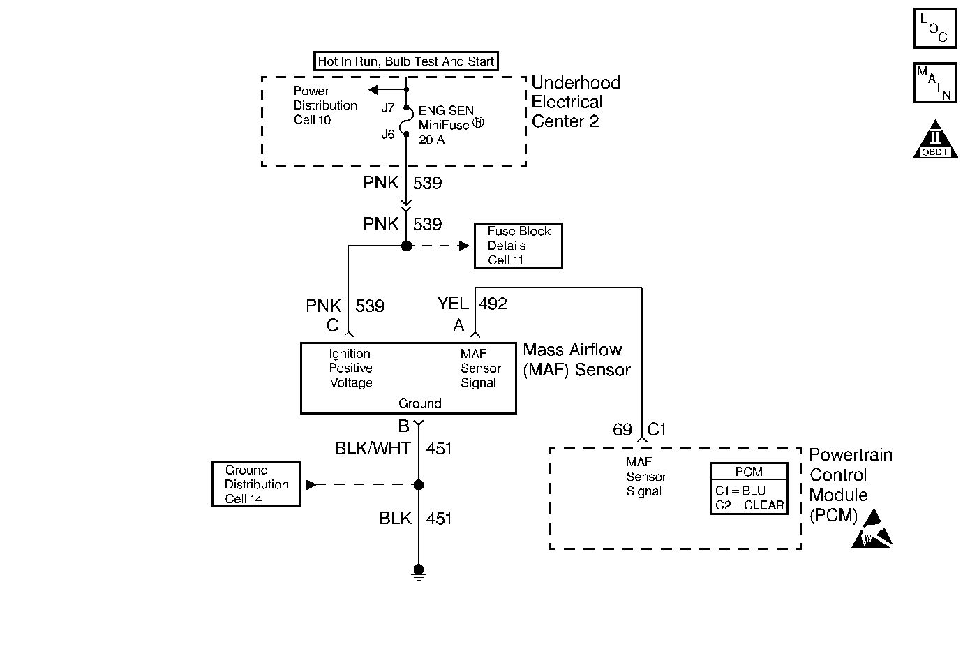
Object Number: 221655  Size: MF
Engine Controls Components
MAF Sensor, EVAP System, EGR Valve
OBD II Symbol Description Notice
Handling ESD Sensitive Parts Notice

Circuit Description

The Mass Air Flow (MAF) sensor measures the amount of air which passes through it into the engine during a given time. The PCM uses the mass air flow information to monitor engine operating conditions for fuel delivery calculations. A large quantity of air entering the engine indicates an acceleration or high load situation, while a small quantity of air indicates deceleration or idle. The MAF sensor produces a frequency signal which can be monitored using a scan tool. The frequency will vary within a range of around 2000 Hertz at idle to about 10,000 Hertz at maximum engine load. DTC P0102 will be set if the signal frequency from the MAF sensor is lower than the possible range of a normally operating MAF sensor.

Conditions for Running the DTC

    • The engine is running.
    • TP angle is less than 2.5%.
    • System voltage is greater than 8 volts.

Conditions for Setting the DTC

    • MAF signal frequency is less than 1200 Hertz.
    • The above conditions present for longer than 0.5 seconds.

Action Taken When the DTC Sets

    • The PCM will illuminate the malfunction indicator lamp (MIL) during the first trip in which the diagnostic test has been run and failed.
    • The PCM will store conditions which were present when the DTC set as Freeze Frame and Failure Records data.

Conditions for Clearing the MIL/DTC

    • The PCM will turn OFF the MIL during the third consecutive trip in which the diagnostic has been run and passed.
    • The History DTC will clear after 40 consecutive warm-up cycles have occurred without a malfunction.
    • The DTC can be cleared by using the scan tool.

Diagnostic Aids

A low minimum air rate can cause DTC P0102 to be set during deceleration. Check the minimum air rate as follows:

  1. Check for conditions that can cause a low minimum air rate, including throttle bore and throttle plate coking if the Mass Air Flow reading is less than 2.27 gm/s.
  2. If the minimum air rate is less than specification, clean or replace the throttle body as necessary. Go to Throttle Body Assembly Replacement .

Check for the following conditions:

    • Poor connection at the PCM - Inspect harness connectors for the following conditions:
       - Backed out terminals.
       - Improper mating.
       - Broken locks.
       - Improperly formed or damaged terminals.
       - Poor terminal to wire connection.
    • Misrouted harness - Inspect the MAF sensor harness to ensure that it is not routed too close to high voltage wires such as spark plug leads.
    • Damaged harness - Inspect the wiring harness for damage.
    • If the harness appears to be OK, observe the scan tool while moving connectors and wiring harnesses related to the MAF sensor. A change in the display will indicate the location of the fault.
    • Plugged intake air duct or filter element - A wide-open throttle acceleration from a stop should cause the Mass Air Flow displayed on a scan tool to increase from about 4-7 gm/s at idle to 100 gm/s or greater at the time of the 1-2 shift. If not, check for a restriction.

If DTC P0102 cannot be duplicated, the information included in the Freeze Frame/Fail Records data can be useful in determining vehicle mileage since the DTC was last set. This may assist in diagnosing the condition.

Test Description

Number(s) below refer to the step number(s) on the Diagnostic Table:

  1. This step verifies that the problem is present at idle.

  2. A voltage reading of less than 4 or over 6 volts at the MAF sensor signal circuit indicates a fault in the wiring or a poor connection.

  3. Verifies that ignition feed voltage and a good ground are available at the MAF sensor.

  4. This vehicle is equipped with a PCM which utilizes an Electrically Erasable Programmable Read Only Memory (EEPROM). When the PCM is replaced, the new PCM must be programmed.

DTC P0102 - MAF Sensor Circuit Low Frequency

Step

Action

Value(s)

Yes

No

1

Did you perform the Powertrain On-Board Diagnostic (OBD) System Check performed?

--

Go to Step 2

Go to Powertrain On Board Diagnostic (OBD) System Check

2

  1. Start the engine.
  2. With a scan tool, and the engine idling, observe the MAF Frequency parameter.

Does the scan tool indicate MAF Frequency less than the specified value?

1.2 kHz (1200 Hz)

Go to Step 4

Go to Step 3

3

  1. Turn ON the ignition, with the engine OFF.
  2. With a scan tool, review and record Fail Records.
  3. Operate vehicle within Fail Records conditions.

Does the scan tool indicate this DTC failed this ignition?

--

Go to Step 4

Go to Diagnostic Aids

4

Inspect for the following conditions:

  1. Objects blocking the MAF sensor inlet screen.
  2. Vacuum leaks around the intake manifold.
  3. Vacuum leaks at throttle body.
  4. Vacuum leaks at the EGR valve flange and pipes.
  5. Crankcase ventilation valve faulty, missing, or incorrectly installed.
  6. Low minimum air rate.

Did you find and correct the condition?

--

Go to Step 14

Go to Step 5

5

  1. Turn OFF the ignition.
  2. Disconnect the MAF sensor.
  3. Turn ON the ignition.
  4. Measure voltage on the MAF signal circuit using a J 39200 Digital Multimeter that is connected to a good ground.

Does the voltage measure near the specified value?

5V

Go to Step 6

Go to Step 9

6

Connect a J 35616-200 Test Lamp between the MAF sensor ignition feed and ground circuits.

Does the test lamp illuminate?

--

Go to Step 8

Go to Step 7

7

Probe the MAF sensor ignition feed circuit using a test lamp that is connected to a good ground.

Does the test lamp illuminate?

--

Go to Step 10

Go to Step 11

8

Inspect for a faulty connection at the MAF sensor. Refer to Intermittents and Poor Connections Diagnosis and Connector Repairs .

Did you find and correct the condition?

--

Go to Step 14

Go to Step 12

9

Test the MAF sensor signal circuit between the PCM and the MAF sensor for an open, short to ground, short to the MAF ground circuit, or a short to voltage. Refer to Wiring Repairs .

Did you find and correct the condition?

--

Go to Step 14

Go to Step 13

10

Locate and repair an open in the MAF sensor ground circuit to the MAF sensor. Refer to Wiring Repairs .

Did you complete the repair?

--

Go to Step 14

--

11

Locate and repair an open ignition feed fuse or an open in the ignition feed circuit to the MAF sensor. Refer to Wiring Repairs .

Did you complete the repair?

--

Go to Step 14

--

12

Replace the MAF sensor. Refer to Mass Airflow Sensor Replacement .

Is the replacement complete?

--

Go to Step 14

--

13

Important:: The replacement PCM must be programmed. Refer to Powertrain Control Module Replacement/Programming .

Replace the PCM.

Did you complete the replacement?

--

Go to Step 14

--

14

  1. Use the scan tool in order to clear DTCs.
  2. Operate the vehicle within the Fail Record conditions.

Does the DTC reset?

--

Go to Step 2

System OK