GM Service Manual Online
For 1990-2009 cars only

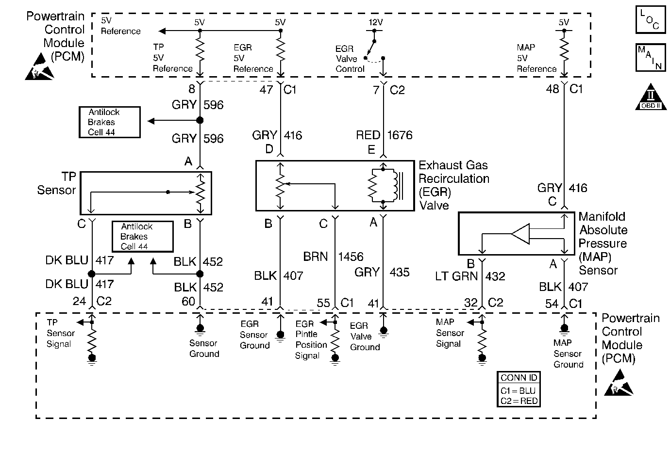
Object Number: 373035  Size: MF
Engine Controls Component Views
Information Sensors
OBD II Symbol Description Notice
Handling ESD Sensitive Parts Notice
Handling ESD Sensitive Parts Notice

Circuit Description

The Throttle Position (TP) sensor is a potentiometer. The TP sensor is mounted to the left side of the throttle body. The TP sensor provides a voltage signal that changes relative to throttle blade angle. This signal voltage is one of the most important inputs used by the PCM. The TP sensor has a 5.0 volt reference, a ground and a signal circuit.

TP sensor Signal voltage should be about 0.6 volt at idle. The TP sensor voltage should increase to above 4.0 volts at wide open throttle (WOT).

When the PCM senses a signal voltage lower than the normal operating range of the sensor, this DTC sets.

Conditions for Running the DTC

TP sensor voltage is less than 0.2 volts for 0.3 second.

Conditions for Setting the DTC

    • TP sensor voltage is less than 0.2 volts.
    • The intermittent condition exists for a total of 1.0 second during a 20.0 second time period.

Action Taken When the DTC Sets

    • The powertrain control module (PCM) stores the DTC information into memory when the diagnostic runs and fails.
    • The malfunction indicator lamp (MIL) will not illuminate.
    • The PCM records the operating conditions at the time the diagnostic fails. The PCM stores this information in the Failure Records.

Conditions for Clearing the DTC

    • A last test failed, or current DTC, clears when the diagnostic runs and does not fail.
    • A history DTC will clear after 40 consecutive warm-up cycles, if no failures are reported by this or any other non-emission related diagnostic.
    • Use a scan tool in order to clear the DTC.

Diagnostic Aids

Important: 

   • Remove any debris from the PCM connector surfaces before servicing the PCM. Inspect the PCM connector gaskets when diagnosing/replacing the PCM. Ensure that the gaskets are installed correctly. The gaskets prevent contaminate intrusion into the PCM.
   • For any test that requires probing the PCM or a component harness connector, use the Connector Test Adapter Kit J 35616 . Using this kit prevents damage to the harness/component terminals. Refer to Using Connector Test Adapters in Wiring Systems.

    • The following may cause an intermittent:
       - Poor connections; Refer to Intermittents and Poor Connections Diagnosis in Wiring Systems.
       - Corrosion
       - Mis-routed harness
       - Rubbed through wire insulation
       - Broken wire inside the insulation
    • Electromagnetic interference (EMI) can cause an intermittent DTC. Inspect the related circuits for being too close to secondary ignition wires and the generator.
    • If the engine has sat overnight, the engine coolant temperature and intake air temperature values should display within a few degrees of each other. If the temperatures are not within 3°C (5°F), refer to Temperature vs Resistance .
    • Using Freeze Frame and/or Failure Records data may aid in locating an intermittent condition. If you cannot duplicate the DTC, the information included in the Freeze Frame and/or Failure Records data can aid in determining how many miles since the DTC set. The Fail Counter and Pass Counter can also aid determining how many ignition cycles the diagnostic reported a pass and/or a fail. Operate the vehicle within the same freeze frame conditions (RPM, load, vehicle speed, temperature etc.) that you observed. This will isolate when the DTC failed.
    •  For an intermittent condition, refer to Symptoms .

Test Description

Number(s) below refer to step numbers on the diagnostic table.

  1. If DTC P0122 also failed this indicates a hard failure is present. When a hard failure is present, both the hard and intermittent DTCs will set. The engine must be operating longer than 30 seconds before inspecting if the DTC set.

  2. When moving related connectors, visually/physically inspect connectors for the following:

  3. • Poor mating of the connector halves or a terminal not fully seated in the connector body (backed out).
    • Improperly formed or damaged terminals. All connector terminals in the related circuits should be carefully reformed or replaced to insure proper contact tension.
    • Poor terminal to wire connection. Inspect for poor crimps, crimping over wire insulation rather than the wire.
    • Dirt or corrosion on terminals. Inspect for missing connector seals and for damage to the connector seals.
  4. When moving related wiring harnesses, visually/physically inspect wiring for the following:

  5. • Wire insulation that is rubbed through, causing an intermittent short.
    • Wiring broken inside the insulation.
  6. Using Freeze Frame and/or Failure Records data may aid in locating an intermittent condition. If the DTC cannot be duplicated, the information included in the Freeze Frame and/or Failure Records data can be useful in determining how many miles since the DTC set. The Fail Counter and Pass Counter can also be used to determine how many ignition cycles the diagnostic reported a pass and/or a fail. Operate vehicle within the same freeze frame conditions (RPM, load, vehicle speed, temperature etc.) that were noted. This will isolate when the DTC failed.

Step

Action

Value(s)

Yes

No

1

Was the Powertrain On-Board Diagnostic (OBD) System Check performed?

--

Go to Step 2

Go to Powertrain On Board Diagnostic (OBD) System Check

2

Did DTC P0122 fail this ignition cycle?

--

Go to DTC P0122 Throttle Position (TP) Sensor Circuit Low Voltage

Go to Step 3

3

  1. Install the scan tool.
  2. Turn the ignition ON leaving the engine OFF.
  3. Using a scan tool, observe affected sensor value while moving related harness connectors (at component and PCM).

Does sensor value change abruptly while a related connector is being moved?

--

Go to Step 6

Go to Step 4

4

Using a scan tool, observe affected sensor value while moving related wiring harnesses.

Does sensor value change abruptly while moving related electrical harnesses?

--

Go to Step 7

Go to Step 5

5

  1. Turn the ignition ON leaving the engine OFF. Review Freeze Frame and/or Failure Records data for this DTC and note parameters.
  2. Turn the ignition OFF for 15 seconds.
  3. Start the engine and operate the vehicle within the conditions required for this diagnostic to run, and as close to the conditions recorded in Freeze Frame/Failure Records as possible. Special operating conditions that need to be met before the PCM will run this diagnostic, where applicable, are listed in Conditions for Running the DTC.
  4. Using the scan tool, select DTC, Specific, then enter the DTC number which was set.

Does the scan tool indicate that this diagnostic failed this ignition?

--

Go to Step 8

Go to Diagnostic Aids

6

Repair the damaged connectors/terminals. Refer to Connector Repairs in Wiring Systems.

Is the action complete?

--

Go to Step 9

--

7

Repair the faulty wiring. Refer to Wiring Repairs in Wiring Systems.

Is the action complete?

--

Go to Step 9

--

8

  1. Re-inspect all the related circuits and connectors.
  2. If all the circuits have been tested thoroughly and no faults can be found, replace the sensor/component.

Is the action complete?

--

Go to Step 9

--

9

  1. Select the Diagnostic Trouble Code (DTC) option and the Clear DTC Information option using the scan tool.
  2. Idle the engine at the normal operating temperature.
  3. Select the Diagnostic Trouble Code (DTC) option and the Specific DTC option, then enter the DTC number using the scan tool.
  4. Operate the vehicle within the Conditions for Running the DTC as specified in the supporting text, if applicable.

Does the scan tool indicate that this test ran and passed?

--

Go to Step 10

Go to Step 2

10

Select the Capture Info option and the Review Info option using the scan tool.

Does the scan tool display any DTCs that you have not diagnosed?

--

Go to the applicable DTC table

System OK