GM Service Manual Online
For 1990-2009 cars only

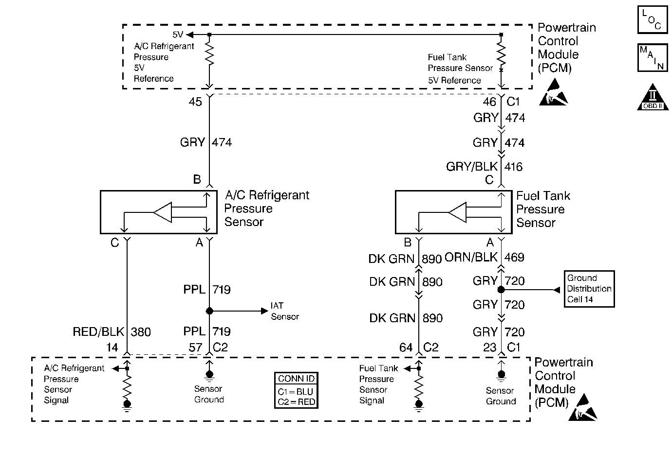
Object Number: 373036  Size: MF
Engine Controls Component Views
Fuel System
OBD II Symbol Description Notice
Handling ESD Sensitive Parts Notice
Handling ESD Sensitive Parts Notice

Circuit Description

The PCM uses a common 5.0 Volt Reference circuit as a sensor feed to the Fuel Tank Pressure sensor and the A/C Refrigerant Pressure sensor.

The PCM monitors the voltage on the 5.0 Volt Reference circuit. This DTC sets if the voltage is out of range.

Conditions for Running the DTC

The engine operating.

Conditions for Setting the DTC

    • The 5.0 volt reference circuit is out of range.
    • The above condition is present for greater than 2 seconds.

Action Taken When the DTC Sets

    • The PCM illuminates the malfunction indicator lamp (MIL) on the second consecutive ignition cycle that the diagnostic runs and fails.
    • The PCM records the operating conditions at the time the diagnostic fails. The first time the diagnostic fails, the PCM stores this information in the Failure Records. If the diagnostic reports a failure on the second consecutive ignition cycle, the PCM records the operating conditions at the time of the failure. The PCM writes the conditions to the Freeze Frame and updates the Failure Records.

Conditions for Clearing the MIL/DTC

    • The PCM turns OFF the malfunction indicator lamp (MIL) after 3 consecutive ignition cycles that the diagnostic runs and does not fail.
    • A last test failed, or current DTC, clears when the diagnostic runs and does not fail.
    • A history DTC clears after 40 consecutive warm-up cycles, if no failures are reported by this or any other emission related diagnostic.
    • Use a scan tool in order to clear the MIL and the DTC.

Diagnostic Aids

Important: 

   • Remove any debris from the PCM connector surfaces before servicing the PCM. Inspect the PCM connector gaskets when diagnosing/replacing the PCM. Ensure that the gaskets are installed correctly. The gaskets prevent water intrusion into the PCM.
   • For any test that requires probing the PCM or component harness connectors, use the Connector Test Adapter Kit J 35616 . Using this kit prevents damage to the harness connector terminals. Refer to Using Connector Test Adapters in Wiring Systems.

    • A fuel level sensor signal circuit that is shorted to B+ may set this DTC.
    • If no circuit conditions can be found, test the affected component.
    • Using the Freeze Frame and/or Failure Records data may aid in locating an intermittent condition. If you cannot duplicate the DTC, the information included in the Freeze Frame and/or Failure Records data can help determine how many miles since the DTC set. The Fail Counter and Pass Counter can also help determine how many ignition cycles the diagnostic reported a pass and/or a fail. Operate vehicle within the same freeze frame conditions (RPM, load, vehicle speed, temperature etc.) that you observed. This will isolate when the DTC failed.
    •  For an intermittent condition, refer to Symptoms .

Test Description

The numbers below refer to the step numbers on the diagnostic table.

  1. The 5  volt reference circuits for the sensors are connected together inside the PCM. Both DTCs P1635 and P1639 set at the same time, indicates a 5 volt reference circuit is shorted to a voltage.

  2. This step determines if a 5 volt reference circuit is shorted to ground.

  3. This step tests for a signal circuit shorted to voltage.

  4. The 5 volt reference circuits may be shorted to another PCM circuit. The shorted circuit may not be apparent when the PCM harness connector is disconnected. Testing continuity from each 5 volt reference circuit isolates the shorted circuit.

  5. This step is testing for a component failure. Disconnecting each component individually isolates which component might be causing this DTC to set.

Step

Action

Value(s)

Yes

No

1

Did you perform the Powertrain On-Board Diagnostic (OBD) System Check?

--

Go to Step 2

Go to Powertrain On Board Diagnostic (OBD) System Check

2

  1. Install a scan tool.
  2. Start the engine.
  3. Idle the engine for 2 minutes.
  4. Monitor the DTCs using a scan tool.

Did both DTCs P1635 and P1639 fail this ignition?

--

Go to DTC P1635 5 Volt Reference 1 Circuit

Go to Step 3

3

Did DTC P1639 fail this ignition?

--

Go to Step 5

Go to Step 4

4

  1. Turn ON the ignition leaving the engine OFF.
  2. Review the Freeze Frame and/or Failure Records data for this DTC and observe the parameters.
  3. Turn OFF the ignition for 15 seconds.
  4. Start the engine.
  5. Operate the vehicle within the conditions required for this diagnostic to run, and as close to the conditions recorded in Freeze Frame/Failure Records as possible. Special operating conditions that you need to meet before the PCM will run this diagnostic, where applicable, are listed in Conditions for Running the DTC.
  6. Select the Diagnostic Trouble Code (DTC) option, the Specific DTC option, then enter the DTC number using the scan tool.

Does the scan tool indicate the DTC set this ignition?

--

Go to Step 5

Go to Diagnostic Aids

5

  1. Turn OFF the ignition.
  2. Disconnect the PCM connectors. Refer to Powertrain Control Module Replacement/Programming .
  3. Connect the Test Lamp J 35616-200 to B+.
  4. Probe the PCM connector 5 volt reference circuits for the following components:
  5. • The A/C Refrigerant Pressure sensor
    • The Fuel Tank Pressure sensor.

Does the test lamp illuminate for any of the circuits?

--

Go to Step 8

Go to Step 6

6

  1. Turn ON the ignition leaving the engine OFF.
  2. Connect the Test Lamp J 35616-200 to battery ground.
  3. Probe the PCM connector signal circuits for the following components:
  4. • The A/C Refrigerant Pressure sensor
    • The Fuel Tank Pressure sensor.

Does the test lamp illuminate for any of the circuits?

--

Go to Step 9

Go to Step 7

7

Test continuity from each 5 volt reference circuit to all other PCM circuits at the PCM harness connector using the DMM J 39200 . Example: probe one lead to the A/C refrigerant pressure sensor 5 volt reference (at the PCM harness connector) circuit and probe the other lead to each terminal at the PCM harness connector. This must be performed for each 5 volt reference circuit. Refer to Testing for Continuity in Wiring Systems.

Do any of the circuits indicate a resistance within the specified range?

0-2ohms

Go to Step 10

Go to Step 11

8

Repair the short to ground on the appropriate 5 volt reference circuit. Refer to Wiring Repairs in Wiring Systems.

Is the action complete?

--

Go to Step 14

--

9

Repair the short to voltage on the appropriate signal circuit. Refer to Wiring Repairs in Wiring Systems.

Is the action complete?

--

Go to Step 14

--

10

Repair the short between the appropriate 5 volt reference circuit and the PCM circuit that had continuity. Refer to Wiring Repairs in Wiring Systems.

Is the action complete?

--

Go to Step 14

--

11

Important: Repeat this procedure for each component.

  1. Reconnect the PCM harness connectors.
  2. Clear the Diagnostic Trouble Codes using a scan tool.
  3. Disconnect the following components (one at a time):
  4. • The MAP sensor
    • The TP sensor
    • The EGR valve
    • The Fuel Level sensor
    • The Fuel Tank Pressure sensor
    • The A/C refrigerant pressure sensor
  5. Start and idle the engine.
  6. Monitor the Diagnostic Trouble Codes using a scan tool.

Does the scan tool indicate that DTC P1635/P1639 passed with the component disconnected?

--

Go to Step 12

Go to Step 13

12

Replace the component for which the Diagnostic Trouble Code passed. Refer to the appropriate replacement procedure.

Is the action complete?

--

Go to Step 14

--

13

Important:: Program the replacement PCM. Refer to Powertrain Control Module Replacement/Programming .

Replace the PCM.

Is the action complete?

--

Go to Step 14

--

14

  1. Select the Diagnostic Trouble Codes (DTC) option and the Clear DTC Information option using the scan tool.
  2. Idle the engine at the normal operating temperature.
  3. Select the Specific DTC option under the Diagnostic Trouble Code (DTC) option using a scan tool.
  4. Operate the vehicle within the Conditions for Running the DTC as specified in the supporting text if applicable.

Does the scan tool indicate that this test ran and passed?

--

Go to Step 13

Go to Step 2

15

Select the Capture Info option and the Review Info option using the scan tool.

Are any DTCs displayed that you have not diagnosed?

--

Go to applicable DTC table

System OK