GM Service Manual Online
For 1990-2009 cars only

System Overview

The fuel tank stores the fuel supply. An electric fuel pump, located in the fuel tank with the fuel sender assembly, pumps fuel through an in-line fuel filter to the fuel rail assembly. The pump provides fuel at a pressure greater than is needed by the injectors. The fuel pressure regulator, part of the fuel sender assembly, keeps fuel available to the injectors at a regulated pressure. A separate pipe returns unused fuel to the fuel tank.

Fuel Tank


Object Number: 376993  Size: SH

The fuel tank stores the fuel supply. The fuel tank is located in the rear of the vehicle. The fuel tank is held in place by two metal straps that attach to the frame. The fuel tank is molded from high density polyethylene.

Fuel Tank Filler Pipe

The fuel tank filler pipe has a built-in restrictor and deflector in order to prevent refueling with leaded fuel.

Fuel Filler Cap


Object Number: 173450  Size: SH

Notice: If a fuel tank filler cap requires replacement, use only a fuel tank filler cap with the same features. Failure to use the correct fuel tank filler cap can result in a serious malfunction of the fuel and EVAP system.

The fuel tank filler pipe has a tethered fuel filler cap. The cap requires a quarter of a turn to remove it. A torque-limiting device prevents the cap from being over tightened. To install the cap, turn the cap clockwise until you hear three audible clicks. This indicates that the cap is correctly torqued and fully seated.

Fuel Sender Assembly


Object Number: 370964  Size: SH

The fuel sender assembly is inside the fuel tank attached to the top of the fuel tank. The fuel sender assembly consists of the following major components:

    • The fuel level sensor (7).
    • The fuel tank pressure sensor (1).
    • The fuel pump and reservoir assembly (3).
    • The fuel pressure regulator (2).
    • The fuel pump strainer (4).

Fuel Sender


Object Number: 370964  Size: SH

The fuel sender consists of a float (5), a wire float arm (6), and a fuel level sensor (7). The position of the float arm indicates the fuel level and a signal is sent to the display in the vehicle instrument cluster. The EVAP pipe of the fuel sender has a pressed in roll-over valve. The roll-over valve prevents fuel from entering the evaporative emission canister if the vehicle rolls over by shutting OFF the EVAP pipe to the canister.

Fuel Pump

The fuel pump is mounted inside the fuel reservoir on the fuel sender. The fuel pump is an electric high pressure gerotor pump. The fuel pump pumps fuel to the fuel rail assembly at a specified flow and pressure. Excess fuel returns to the fuel tank by the return pipe. The fuel pump delivers a constant flow of fuel to the engine even during low fuel conditions and aggressive vehicle maneuvers. The PCM controls the electric fuel pump operation through a fuel pump relay. The fuel pump flex pipe acts to dampen the fuel pulses and noise generated by the fuel pump.

Fuel Pressure Regulator Assembly

The fuel pressure regulator attaches to the fuel return pipe on the fuel sender assembly. The fuel pressure regulator is a diaphragm operated relief valve. A software bias compensates the injector on-time because the fuel pressure regulator is not referenced to manifold vacuum. The injector pulse width varies with the signal from the MAP sensor. With the ignition ON and the engine OFF, system fuel pressure at the pressure test connection should be 380-410 kPa (55-60 psi). If the pressure is too low, poor performance could result. If the pressure is too high, excessive odor and a Diagnostic Trouble Code (DTC) P0132, P0152, P0172 or P0175 may result. Refer to Fuel System Diagnosis for information on diagnosing fuel pressure conditions.

Fuel Pump Strainer

The fuel pump strainer attaches to the lower end of the fuel pump and reservoir assembly. The fuel pump strainer is made of woven plastic. The functions of the fuel pump strainer are to filter contaminants and to wick fuel. The fuel pump strainer is self-cleaning and normally requires no maintenance. Fuel stoppage at this point indicates that the fuel tank contains an abnormal amount of sediment or water. Clean the fuel tank and replace a plugged fuel pump strainer with a new one.

In-Line Fuel Filter


Object Number: 12628  Size: SH

The fuel feed pipe has a steel fuel filter installed ahead of the fuel injection system. The paper filter element (2) traps particles in the fuel that may damage the injection system. The filter housing (1) is made to withstand maximum fuel system pressure, exposure to fuel additives, and changes in temperature. The fuel filter has a quick-connect inlet fitting and a threaded outlet fitting. The threaded fitting is sealed with an O-ring. There is no service interval for fuel filter replacement. Replace a restricted fuel filter.

Fuel Feed and Return Pipes

The fuel feed pipe carries fuel from the fuel tank to the fuel rail assembly. The fuel return pipe carries fuel from the T-connector located on the outlet side of the fuel filter back to the fuel tank. The fuel pipes consist of three sections:

    • The rear fuel pipe assemblies are located from the top of the fuel tank to the chassis fuel pipes. The rear fuel pipes are constructed of nylon.
    • The chassis fuel pipes are located under the vehicle. The chassis fuel feed pipe connects the rear fuel feed pipe to the engine compartment connecting fuel feed pipe. The chassis fuel return pipe connects the fuel feed pipe at the outlet of the fuel filter to the rear fuel return pipe. These pipes are constructed of steel.
    • The engine compartment connecting fuel pipe connects the chassis fuel feed pipe to the engine fuel rail. This fuel pipe is constructed of nylon.

Nylon Fuel Pipes

Caution: In order to reduce the risk of fire and personal injury observe the following items:

   • Replace all nylon fuel pipes that are nicked, scratched or damaged during installation, do not attempt to repair the sections of the nylon fuel pipes
   • Do not hammer directly on the fuel harness body clips when installing new fuel pipes. Damage to the nylon pipes may result in a fuel leak.
   • Always cover nylon vapor pipes with a wet towel before using a torch near them. Also, never expose the vehicle to temperatures higher than 115°C (239°F) for more than one hour, or more than 90°C (194°F) for any extended period.
   • Apply a few drops of clean engine oil to the male pipe ends before connecting fuel pipe fittings. This will ensure proper reconnection and prevent a possible fuel leak. (During normal operation, the O-rings located in the female connector will swell and may prevent proper reconnection if not lubricated.)

Nylon fuel pipes are designed to perform the same job as the steel or flexible fuel pipes or hoses that they replace. Nylon pipes are constructed to withstand maximum fuel system pressure, exposure to fuel additives, and changes in temperature. There are three sizes of nylon pipes used: 3/8 in ID for the fuel feed, 5/16 in ID for the fuel return, and 1/2 in ID for the vent. Heat resistant rubber hose and/or corrugated plastic conduit protect the sections of the pipes that are exposed to chafing, high temperature or vibration.

Nylon fuel pipes are somewhat flexible and can be formed around gradual turns under the vehicle. However, if nylon fuel pipes are forced into sharp bends, the pipes will kink and restrict the fuel flow. Also, once exposed to fuel, nylon pipes may become stiffer and are more likely to kink if bent too far. Take special care when working on a vehicle with nylon fuel pipes.

Quick-Connect Fittings

Quick-connect fittings provide a simplified means of installing and connecting fuel system components. The fittings consist of a unique female connector and a compatible male pipe end. O-rings, located inside the female connector, provide the fuel seal. Integral locking tabs or fingers hold the fittings together.

Fuel Pipe O-Rings

O-rings seal the threaded connections in the fuel system. Fuel system O-ring seals are made of special material. Service the O-ring seals with the correct service part.

EVAP Pipes and Hoses

The EVAP pipes extend from the fuel sender assembly and the EVAP canister vent solenoid to the EVAP canister. These pipes are located on top of the fuel tank. The EVAP purge pipe extends from the EVAP canister on top of the fuel tank to the EVAP purge solenoid in the engine compartment. The rear pipes and the engine compartment pipe are constructed of nylon. The chassis EVAP purge pipe is constructed of steel. The EVAP canister vent solenoid connects to the EVAP canister with a section of rubber hose.

Enhanced Evaporative Emission (EVAP) Service Port


Object Number: 21046  Size: SH

The enhanced EVAP service port is located in the EVAP pipe in the engine compartment near the purge solenoid. The service port is identified by a green colored cap. The port contains a schrader valve and a fitting to allow the connection of the J 41413 EVAP Pressure/Purge Diagnostic Station for diagnosis of the evaporative emission system.

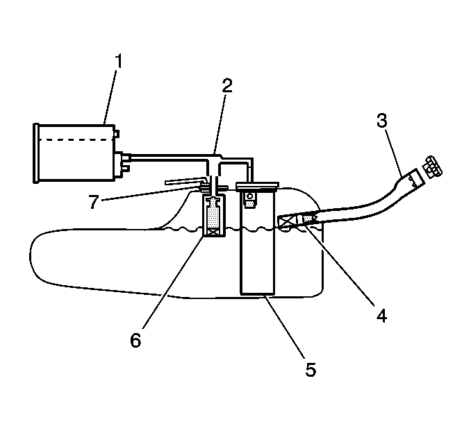
On-Board Refueling Vapor Recovery System (ORVR)


Object Number: 178033  Size: SH

The On-Board Refueling Vapor Recovery System (ORVR) is an on board vehicle system designed to recover fuel vapors during the vehicle refueling operation. The flow of liquid fuel down the fuel filler pipe provides a liquid seal which prevents vapor from leaving the fuel filler pipe. An EVAP pipe transports the fuel vapor to the EVAP canister for use by the engine. Listed below are the ORVR system components with a brief description of their operation:

    • EVAP Canister (1) -- the EVAP canister receives refueling vapor from the fuel system, stores the vapor and releases the vapor to the engine upon demand.
    • EVAP Pipes (2) -- transports fuel vapor from the fuel tank to the EVAP canister.
    • Fuel Filler Pipe (3) -- the pipe which carries fuel from the fuel nozzle to the fuel tank.
    • Check Valve (4) -- the check valve limits fuel "spit back" from the fuel tank during the refueling operation by allowing fuel flow only into the fuel tank. This check valve is located at the bottom of the fuel filler pipe.
    • Modular Fuel Sender Assembly (5) -- this assembly pumps fuel to the engine from the fuel tank.
    • Fill Limiter Vent Valve (FLVV) (6) -- this valve acts as a shut off valve. The FLVV is located on the top of the fuel tank. This valve is not serviced separately. The FLVV has the following functions:
       - Controls the fuel tank fill level by closing the primary vent from the fuel tank.
       - Prevents fuel from exiting the fuel tank via the EVAP pipe to the canister.
       - Provides fuel-spillage protection in the event of a vehicle rollover by closing the vapor path from the tank to the EVAP canister.
    • Over Pressure Relief Valve (7) -- the over pressure relief valve provides venting of excessive fuel tank pressure. The valve is located on top of the fuel tank next to the FLVV. This valve is not serviced separately.