GM Service Manual Online
For 1990-2009 cars only

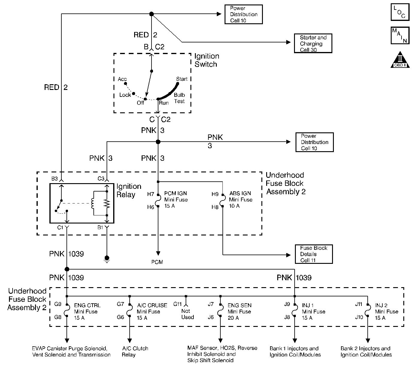
Object Number: 372882  Size: LF
Engine Controls Component Views
Injector Circuits
OBD II Symbol Description Notice

Circuit Description

The IGN relay powers the following components:

    • Injectors/Ignition coils
    • Transmission
    • A/C system
    • EVAP solenoid and EVAP Vent Valve
    • MAF sensor
    • Heated Oxygen Sensors

Diagnostic Aids

    • The following may cause an intermittent:
       - Poor connections; Refer to Testing for Intermittent Conditions and Poor Connections in Wiring Systems.
       - Corrosion
       - Mis-routed harness.
       - Rubbed through wire insulation.
       - Broken wire inside the insulation.
    • For an intermittent, refer to Symptoms .

Test Description

The numbers below refer to the step numbers on the diagnostic table.

  1. This step tests the ignition relay ground circuit.

  2. This step isolates the circuit from the IGN relay. All of the circuits at the relay are good if the test lamp illuminates.

  3. Inspect the fuses for the IGN relay for being open. If a fuse is open inspect the circuits for a short to ground.

  4. Inspect the fuses for the IGN relay for being open. If a fuse is open, inspect the circuits for a short to ground.

  5. Remove the underhood electrical center and inspect the circuits that are supplied a voltage by the IGN relay.

Step

Action

Value(s)

Yes

No

1

Did you perform the Powertrain On-Board Diagnostic (OBD) System Check?

--

Go to Step 2

Go to Powertrain On Board Diagnostic (OBD) System Check

2

Important: For terminal identification, refer to Electrical Center Identification Views in Wiring Systems.

  1. Turn OFF the ignition.
  2. Remove the underhood electrical center 2 cover.
  3. Remove the IGN relay.
  4. Probe the IGN relay B+ feed circuit (switch side of relay) at the underhood electrical center 2 with the J 35616-200 test lamp connected to battery ground.

Does the test lamp illuminate?

--

Go to Step 3

Go to Step 8

3

  1. Turn ON the ignition leaving the engine OFF.
  2. Probe the IGN relay ignition feed circuit (coil side of relay) at the underhood electrical center 2 with the J 35616-200 test lamp connected to battery ground.

Does the test lamp illuminate?

--

Go to Step 4

Go to Step 9

4

  1. Turn OFF the ignition.
  2. Measure the resistance of the IGN relay ground circuit at the underhood electrical center 2 using the DMM connected to the battery ground.

Is the resistance less than the specified value?

0-2ohms

Go to Step 5

Go to Step 10

5

  1. Turn OFF the ignition.
  2. Jumper the IGN relay B+ feed circuit and the IGN relay load circuit together at the underhood electrical center 2 using a fused jumper wire. Refer to Using Fused Jumper Wires in Wiring Systems.
  3. Probe the fuses for the following components with the J 35616-200 test lamp connected to a ground.
  4. • ENG CTRL
    • A/C CRUISE
    • INJR1
    • INJR2
    • ENG SEN

Does the test lamp illuminate?

--

Go to Step 6

Go to Step 11

6

  1. Inspect the IGN relay for poor connections at the underhood electrical center. Refer to Testing for Intermittent Conditions and Poor Connections in Wiring Systems .
  2. If you find a poor connection, repair the condition as necessary. Refer to Repairing Connector Terminals in Wiring Systems .

Did you find and correct the condition?

--

System OK

Go to Step 7

7

Replace the IGN relay.

Is the action complete?

--

System OK

--

8

Repair the open B+ supply to the IGN relay. Refer to Wiring Repairs in Wiring Systems .

Is the action complete?

--

System OK

--

9

Repair the ignition feed circuit to the IGN relay. Refer to Wiring Repairs in Wiring Systems.

Is the action complete?

--

System OK

--

10

Repair the open or the high resistance in the ground circuit for the IGN relay. Refer to Wiring Repairs in Wiring Systems.

Is the action complete?

--

System OK

--

11

Repair the IGN relay load circuit. Refer to Wiring Repairs in Wiring Systems.

Is the action complete?

--

System OK

--