GM Service Manual Online
For 1990-2009 cars only
Makes
🢒
Chevrolet
🢒
2000
🢒
Camaro
🢒
Engine
🢒
Engine Cooling
🢒 Cooling Fan Schematics
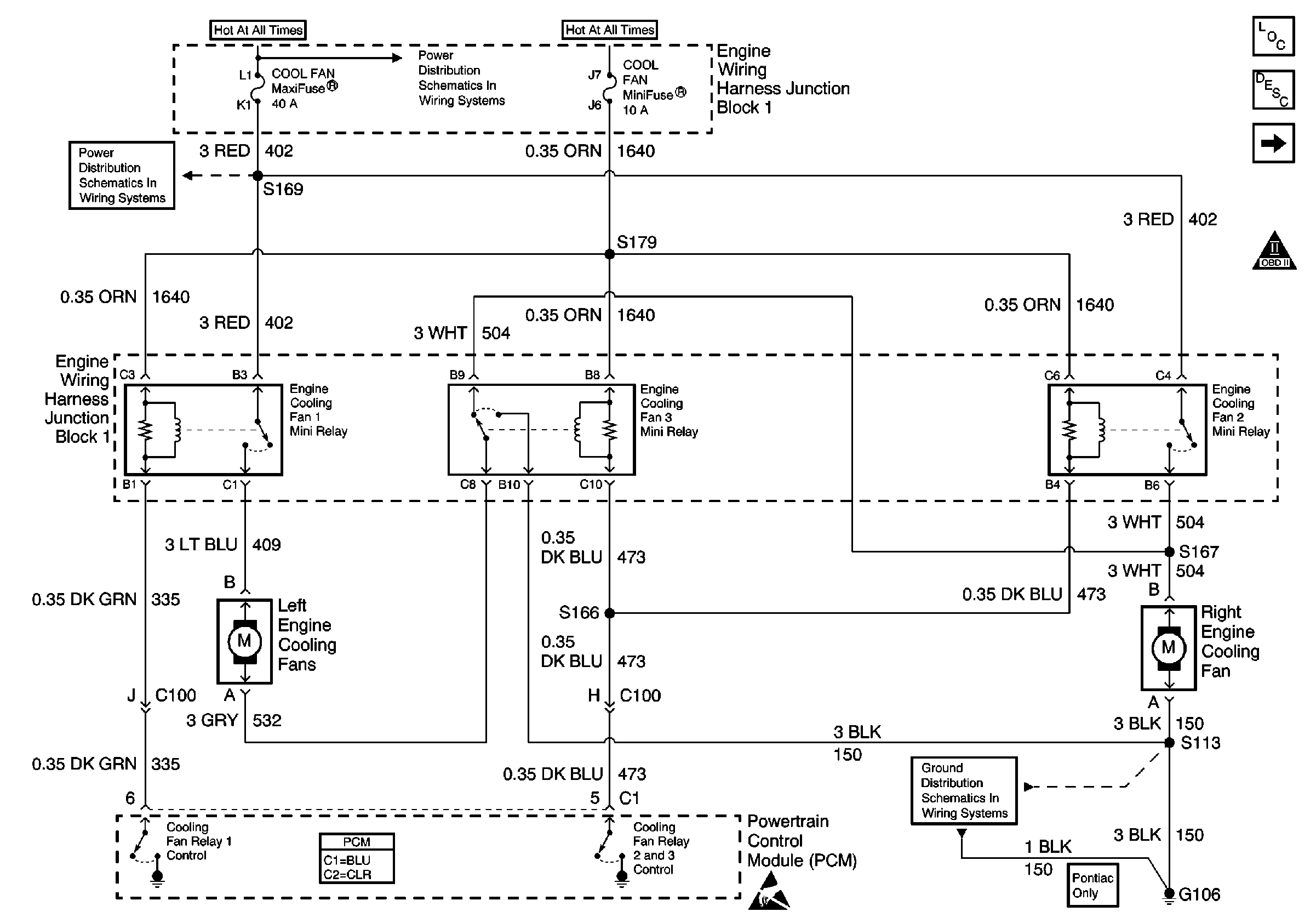
Figure
1:
V6 VIN K
Cooling System Components
Engine Cooling Fan Description - Electric
V8 VIN G
OBD II Symbol Description Notice
Handling ESD Sensitive Parts Notice
Battery, ABS BAT-1 and COOL FAN Fuses
Battery, ABS BAT-1 and COOL FAN Fuses
Powertrain Control Module Connector End Views
G106
Figure
2:
V8 VIN G
Cooling System Components
Engine Cooling Fan Description - Electric
V6 VIN K
OBD II Symbol Description Notice
Handling ESD Sensitive Parts Notice
Battery, ABS BAT-1 and COOL FAN Fuses
Battery, ABS BAT-1 and COOL FAN Fuses
Powertrain Control Module Connector End Views
G106