GM Service Manual Online
For 1990-2009 cars only
Figure 1:

G112 V6 VIN K


Object Number: 497448  Size: FS
Figure 2:

G110 V6 VIN K


Object Number: 497451  Size: FS
Figure 3:

G112 V8 VIN G


Object Number: 497453  Size: FS
Figure 4:

G110 V8 VIN G


Object Number: 497454  Size: FS
Figure 5:

G100, G101, G102, G109, G111, G202


Object Number: 497455  Size: FS
Figure 6:

G105


Object Number: 497456  Size: FS
Figure 7:

G106


Object Number: 497458  Size: FS
Figure 8:

G200 Splice S220


Object Number: 497459  Size: FS
Figure 9:

G200 Splice S216


Object Number: 497461  Size: FS
Figure 10:

G200 Splice S217


Object Number: 497462  Size: FS
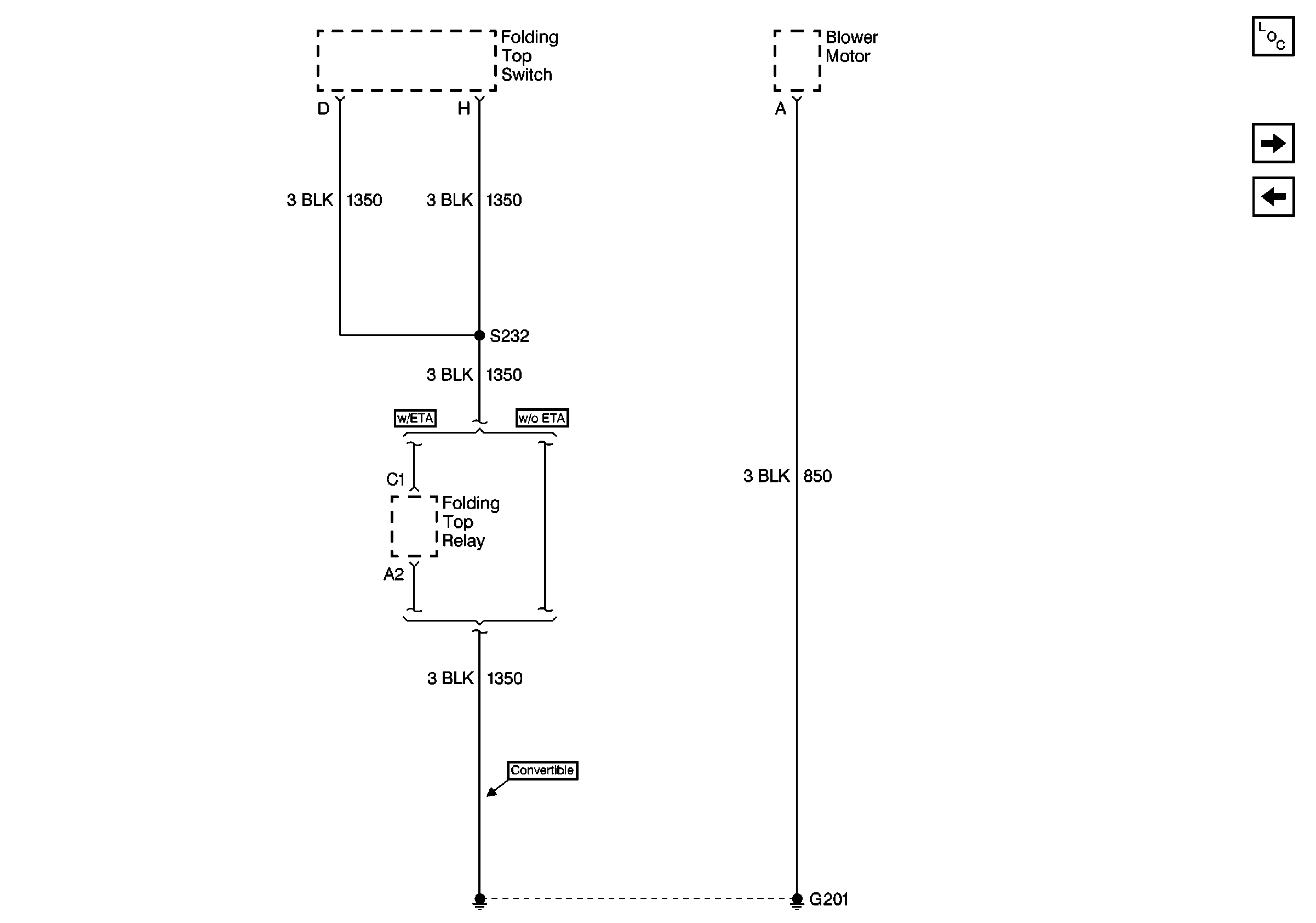
Figure 11:

G201


Object Number: 497463  Size: FS
Figure 12:

G305, G310, G320


Object Number: 497465  Size: FS
Figure 13:

G400 Chevrolet


Object Number: 497466  Size: FS
Figure 14:

G400 Pontiac


Object Number: 497468  Size: FS
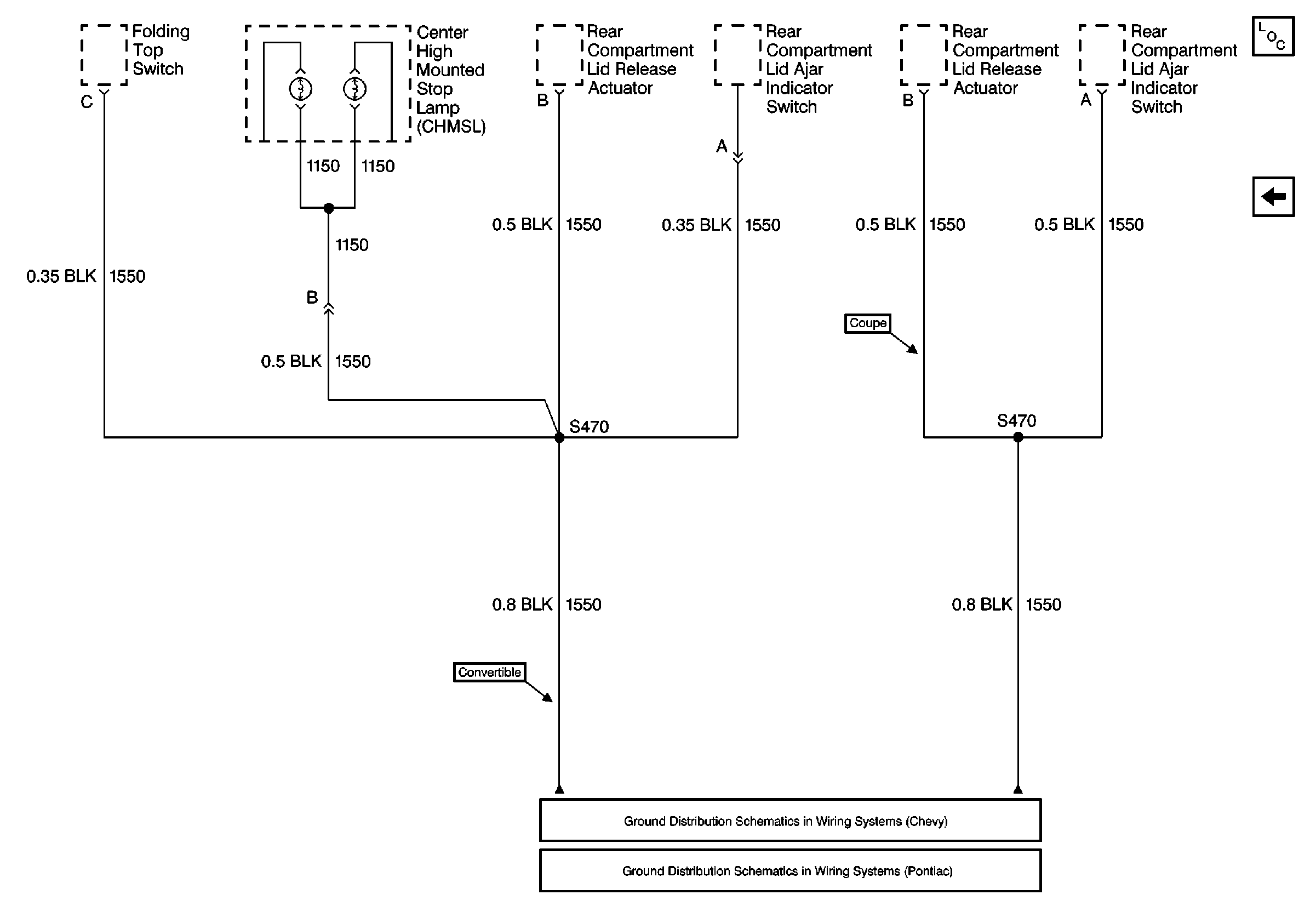
Figure 15:

G400 Splice S470


Object Number: 497469  Size: FS