GM Service Manual Online
For 1990-2009 cars only

Incorrect trim heights can produce symptoms similar to those which produce tire and wheel misalignment. Inspect trim heights whenever you diagnose steering and vibration concerns.

In order to measure the trim heights accurately, use the following check list:

    • Tires should be at the correct pressure as shown on the tire placard and up to vehicle capacity
    • The fuel tank should be full
    • The vehicle should have no additional weight or passengers
    • Seats should be in the full back position
    • The rear compartment should be empty, except for a spare tire and a jack, and a simulated fuel load if required
    • The vehicle should be on a known level floor
    • Close all doors, the hood, and the rear compartment lid
    • Jounce the front and/or rear bumper of the vehicle at least 38 mm (1.5 in). After jouncing, let the vehicle settle. After recording the trim height measurements desired, repeat the jounce operation for a total of two times. Trim heights are the average of the high and the low measurements

Measure all dimensions vertical to the ground. In order to be considered correct, trim heights should be within 10 mm (0.4 in) of specification.

Measuring Trim Height at Vehicle Side Rocker Molding


    Object Number: 349187  Size: LH
  1. Calculate the trim heights (1, 2) as measured at the inner edge of the side rocker panels (3) to the ground after each jounce/rebound cycle. Record your measurement.
  2. Verify the trim height measurements. Refer to Trim Height Specifications .
  3. Continue to measure the vehicle trim heights at the front and at the rear fascia at locations shown.

Measuring Trim Height at Front Fascia (Chevrolet)


    Object Number: 349201  Size: LH
  1. Calculate the trim heights (3) as measured from the ground to the bottom of the park/turn signal lamp (1) after each jounce/rebound cycle. Record your measurement.
  2. Verify the trim height measurements for that particular vehicle. Refer to Trim Height Specifications .
  3. Continue to measure the vehicle trim heights at the front and at the rear fascia at locations shown below.

Measuring Trim Height at Front Fascia (Pontiac Trans Am)


    Object Number: 349189  Size: LH
  1. Calculate the trim heights (3) as measured from the ground to the bottom of the fog lamp cavity after each jounce/rebound cycle. Record your measurement.
  2. Verify the trim height measurements. Refer to Trim Height Specifications .
  3. Continue to measure the vehicle trim heights at the front and at the rear fascia at locations shown.

Measuring Trim Height at Front Fascia (Pontiac Non-Trans Am)


    Object Number: 349195  Size: LH
  1. Calculate the trim heights (3) as measured from the ground to the bottom of the park/turn signal lamp (1) after each jounce/rebound cycle. Record your measurement.
  2. Verify the trim height measurements. Refer to Trim Height Specifications .
  3. Continue to measure the vehicle trim heights at the fascia locations shown.

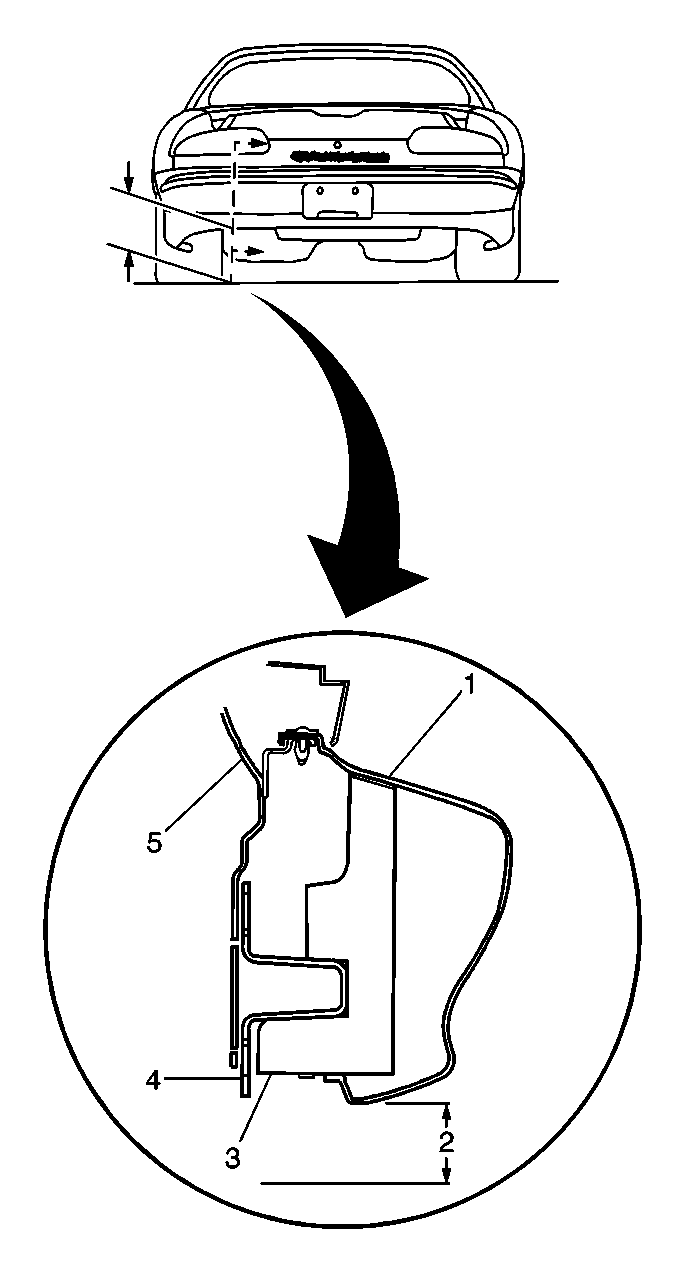
Measuring Trim Height at Rear Fascia (Chevrolet)


    Object Number: 349202  Size: LH
  1. Calculate the trim heights (2) as measured from the ground to the bottom of the rear fascia (1) after each jounce/rebound cycle. Record your measurement.
  2. Verify the trim height measurements. Refer to Trim Height Specifications .
  3. Continue to measure the vehicle trim heights at the fascia locations shown.

Measuring Trim Height at Rear Fascia (Pontiac)


    Object Number: 349191  Size: LH
  1. Calculate the trim heights (2) as measured from the ground to the bottom of the rear fascia (1) after each jounce/rebound cycle. Record your measurement.
  2. Verify the trim height measurements. Refer to Trim Height Specifications .
  3. Continue to measure the vehicle trim heights at the fascia locations shown.
  4. Correct any irregular trim height dimensions as necessary.