GM Service Manual Online
For 1990-2009 cars only

Cruise Control Cable Adjustment without RPO NW9


    Object Number: 296575  Size: SH
  1. Ensure that the cable fitting is snapped onto the throttle lever pin.
  2. Ensure that the cable is locked into position on the bracket.
  3. Pull the cable adjustment slider on the cable end rearward until all slack is removed from the cable but without opening the throttle.
  4. Push down cable adjustment lock button until it snaps and locks in place.
  5. Ensure that the locking tab is secure on both sides.
  6. Important: Cable must not have more than 2.0 mm (0.078 in) of slack.

  7. Excess slack in cable can cause poor performance, such as hesitation on cruise setting.
  8. Important: Cable should never be adjusted so tightly that tension from the cable will not allow the throttle to close properly.

  9. Pulling cable too tight will prevent engine from returning to idle and could cause unstable idle quality.

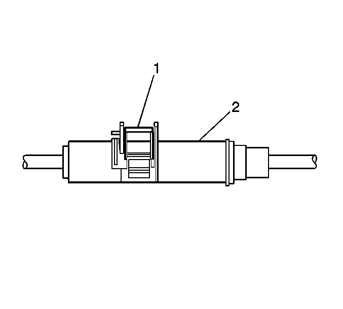
Cruise Control Cable Adjustment with RPO NW9


    Object Number: 296568  Size: SH
  1. Lift the adjustment lock button (1) up.
  2. Pull the cable adjustment slider (2) rearward until all slack is removed from cable, but without opening the throttle.

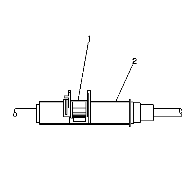
  3. Object Number: 520741  Size: SH
  4. Push down the cable adjustment lock button (1) until it snaps and locks in place
  5. Important: Ensure that cable is correctly adjusted to avoid excess slack which will cause degraded cruise and traction control performance and inability to achieve wide open throttle. If cables are set too tight the throttle will not fully close.

  6. Ensure that the locking tabs are secure on both sides.