GM Service Manual Online
For 1990-2009 cars only
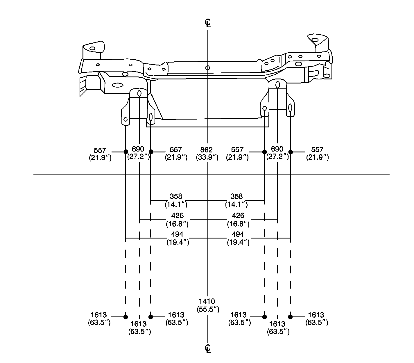
Figure 1:

Frame Dimensions-Front


Object Number: 392063  Size: LF
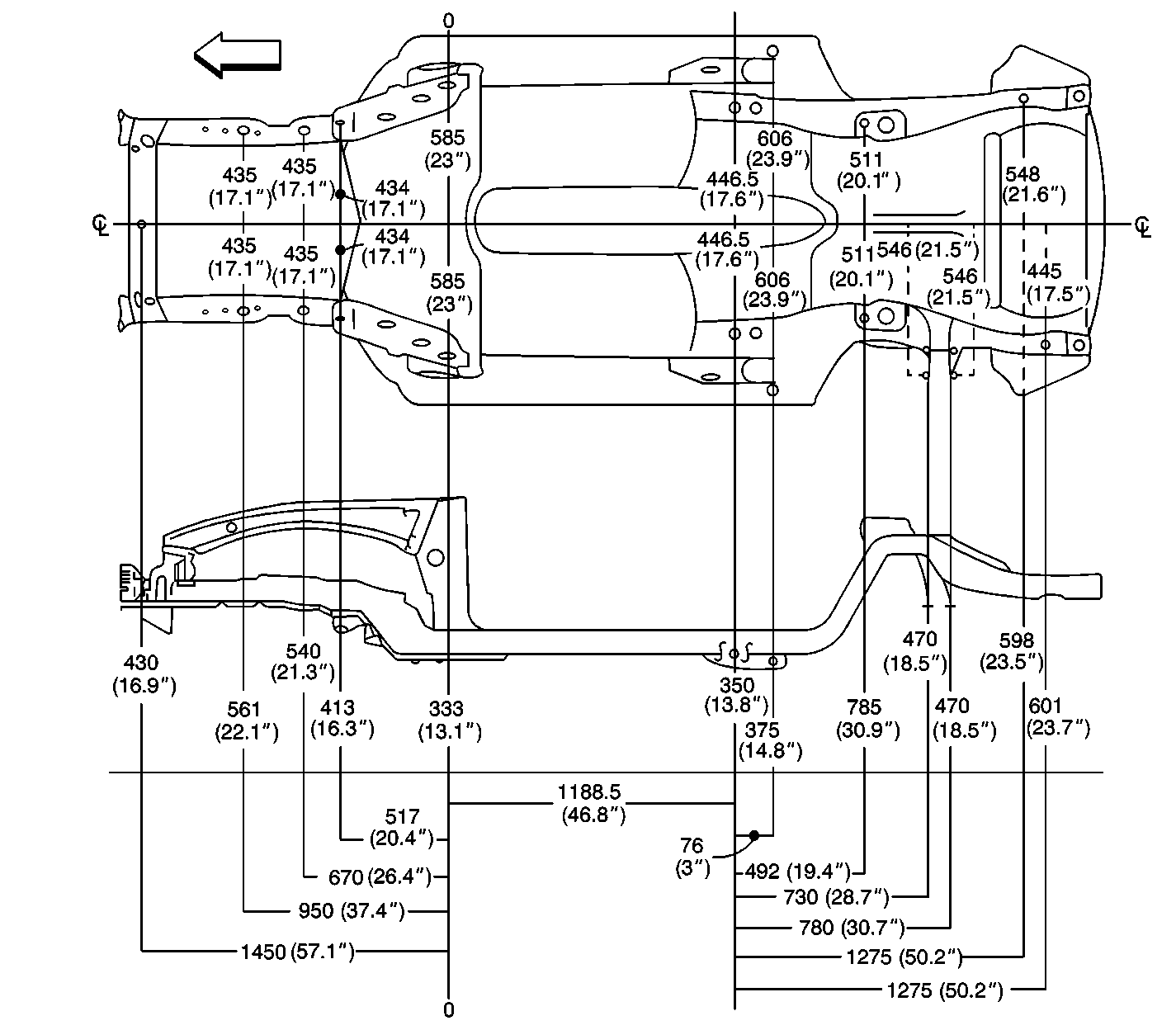
Figure 2:

Frame Dimensions-Front/Top


Object Number: 392064  Size: LF
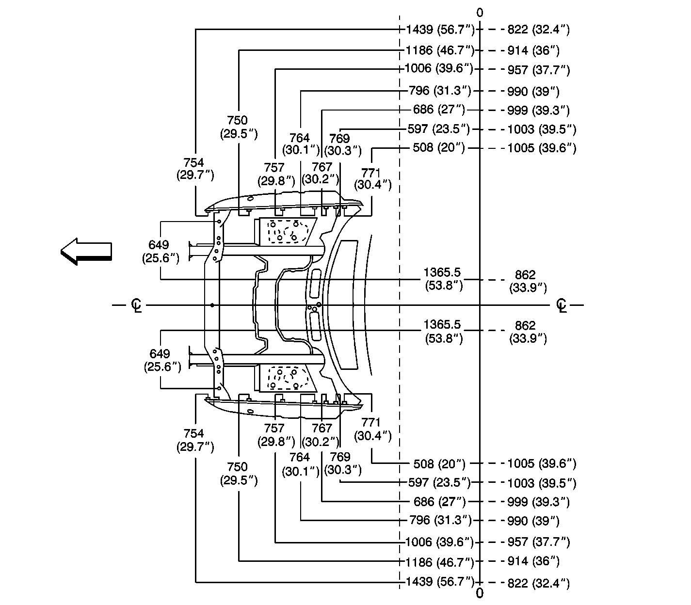
Figure 3:

Frame Dimensions-Underbody


Object Number: 392067  Size: LF