GM Service Manual Online
For 1990-2009 cars only

Refer to the following transmission component locator graphics as needed:

    • 
Object Number: 38465  Size: SF
(1)Cover
(2)Bolt
(3)Bolt
(4)O-Ring Seal
(5)Expansion Plug
(6)Shift Shaft
(6)Shift Shaft
(7)3RD/4TH Shift Fork
(8)Select Control Arm
(9)Interlock Shift Plate
(10)1ST/2ND Shift Fork
(11)Shift Fork Insert
(12)1ST/2ND Shift Fork Plate
(13)Roll Pin
(80)Control Lever Housing
(81)Shift Lever Damping Sleeve
(82)Offset Shift Lever
(83)Zinc Slotted Spring Pin
(84)Shift Detent Ball Spring
(85)9.525 mm (0.375 in) Steel Ball
    • 
Object Number: 38467  Size: MF
(11)Shift Fork Insert
(66)Oil Fill, Oil Drain Plug
(67)Transmission Case
(68)Reverse Shift Fork Spring
(69)Reverse Idler Shaft O-Ring Seal
(70)Reverse Idler Gear
(71)Reverse Idler Roll Pin
(72)Reverse Idler Gear Shaft
(73)5TH Gear Shift Fork
(74)Slotted Spring Pin
(75)5TH/Reverse Shift Shaft
(76)5TH/Reverse Relay Lever Retainer Ring
(77)5TH/Reverse Relay Lever
(78)5TH/Reverse Relay Lever Pivot Pin
(79)Backup Lamp Switch
(86)Vent
(87)Vent Pipe
(88)Mainshaft Seal
(89)Extension Housing Bushing
(90)Transmission Extension
(91)Bolt
(92)Bolt
(93)Input Shaft Bearing Retainer
(94)Input Shaft Bearing Retainer Seal
(95)Clutch Gear Bearing Adjust Shim
(96)Main Drive Gear Bearing
(97)Main Drive Gear
(98)Main Shaft Front Bearing Roller
(99)Input Shaft Bearing Spacer
    • 
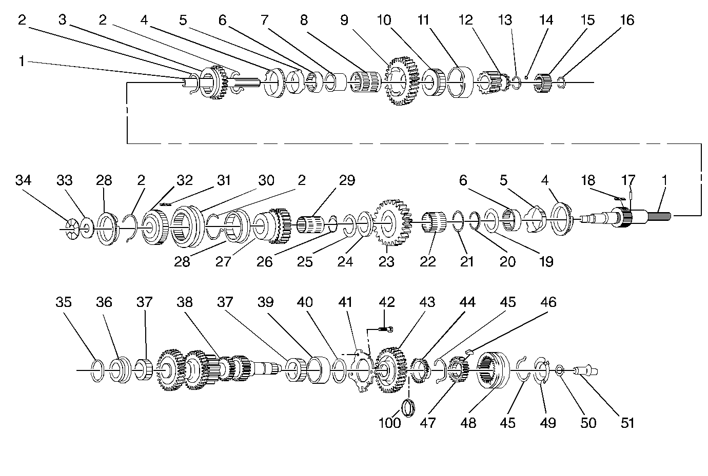
Object Number: 38468  Size: MF
(1)Main Shaft
(2)Synchronizer Spring
(3)Reverse Sliding Gear
(2)Synchronizer Spring
(4)2ND Speed Intermediate Synchronizer Cone
(5)1ST / 2ND Speed Synchronizer Cone
(6)1ST / 2ND Speed Synchronizer Blocking Ring
(7)1ST Speed Gear Bearing Sleeve
(8)1ST Speed Gear Bearing
(9)1ST Speed Gear
(10)Main Shaft Rear Bearing
(11)Main Shaft Rear Bearing Race
(12)5TH Speed Driven Gear
(13)5TH Speed Gear Retainer Ring
(14)Speedometer Reluctor Retainer Ball
(15)Speedometer Reluctor
(16)5TH Speed Gear Retainer Ring
(1)Main Shaft
(17)1ST Speed Gear Bearing Sleeve Ball / Pin Kit
(18)1ST / 2ND Sped Gear Synchronizer Key
(4)2ND Speed Intermediate Synchronizer Cone
(5)1ST / 2ND Speed Synchronizer Cone
(6)1ST / 2ND Speed Synchronizer Blocking Ring
(19)1ST Speed Gear Thrust Washer
(20)Spiral Retainer Ring
(21)2ND Speed Gear Bearing Spacer
(22)2ND Speed Gear Bearing
(23)2ND Speed Gear
(24)2ND Speed Gear Thrust Washer
(25)2ND Speed Gear Thrust Washer Retainer Ring
(26)3RD Speed Gear Bearing Spacer
(27)3RD Speed Gear
(28)4TH Speed Gear Blocking Ring
(29)3RD Speed Gear Bearing
(2)Synchronizer Spring
(30)3RD / 4TH Synchronizer Sleeve
(31)3RD / 4TH Synchronizer Insert
(32)3RD / 4TH Synchronizer Hub
(2)Synchronizer Spring
(28)4TH Speed Gear Blocking Ring
(33)Main Drive Gear Thrust Race
(34)Input Shaft Thrust Bearing
(35)Bearing Race O-Ring
(36)Front Countershaft Bearing Race
(37)Front Countershaft Bearing
(38)Countershaft Gear
(37)Countershaft Bearing
(39)Rear Countershaft Bearing Race
(40)Counter Gear Rear Bearing Shim
(41)Counter Gear Rear Bearing Retainer
(42)Countershaft Retainer Bolt
(43)5TH Speed Gear
(44)5TH Speed Gear Blocking Ring
(45)5TH Speed Gear Synchronizer Ring
(46)5TH Speed Gear Synchronizer Insert
(47)5TH Speed Gear Synchronizer Hub
(48)5TH Speed Gear Synchronizer Sleeve
(45)5TH Speed Gear Synchronizer Ring
(49)5TH Speed Gear Synchronizer Key Retainer
(50)5TH Speed Gear Synchronizer Front Retainer Ring
(51)Oiling Funnel
(100)5TH Speed Gear Seal

Tools Required

    • J 8001 Dial Indicator Set
    • J 8092 Driver Handle
    • J 22912-01 Bearing Puller
    • J 6133-A Bearing Race Installer
    • J 36850 Transjel® Lubricant
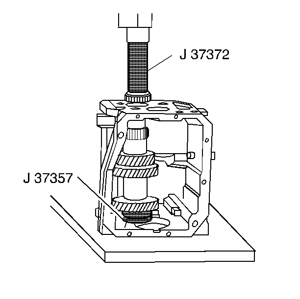
    • J 37357 Countershaft Bearing and Race Remover/Installer
    • J 37372 Synchronizer and Gear Installer

    Object Number: 38665  Size: SH
  1. Install the countershaft front bearing using the J 37357 , the J 22912-01 , and a hydraulic press.

  2. Object Number: 38678  Size: SH

    Notice: Support the countershaft while installing the rear countershaft bearing. The transmission case can be permanently distorted if the countershaft is not supported properly.

  3. Install the countershaft in the case.
  4. Install the rear countershaft bearing onto the countershaft using the J 37372 and a hydraulic press. Support the countershaft with the J 37357 .

  5. Object Number: 38740  Size: SH
  6. Install the rear countershaft bearing race.

  7. Object Number: 38680  Size: SH
  8. Install the reverse idler gear and a new rubber O-ring on the reverse idler gear shaft. The shift lever groove should face the rear of the case.

  9. Object Number: 38497  Size: SH
  10. Install a new roll pin into the reverse idler gear shaft.

  11. Object Number: 38681  Size: SH

    Notice: Use the correct fastener in the correct location. Replacement fasteners must be the correct part number for that application. Fasteners requiring replacement or fasteners requiring the use of thread locking compound or sealant are identified in the service procedure. Do not use paints, lubricants, or corrosion inhibitors on fasteners or fastener joint surfaces unless specified. These coatings affect fastener torque and joint clamping force and may damage the fastener. Use the correct tightening sequence and specifications when installing fasteners in order to avoid damage to parts and systems.

  12. Install the countershaft retainer and the countershaft retainer bolt. Do not install the countershaft shims.
  13. Tighten
    Tighten the countershaft retainer bolts to 20 N·m (15 Ib ft).


    Object Number: 38685  Size: SH
  14. Measure the countershaft end play as follows:
  15. 8.1. Use the J 8001 .
    8.2. Record the end play measurement.
    8.3. Remove the countershaft retainer.
    8.4. Select a shim pack in order to provide 0.00-0.10 mm (0.00-0.004 in) end play. Refer to Shim Size Specifications.
    8.5. Do not preload the bearing with shims larger than the original end play measurement.

    Object Number: 38495  Size: SH
  16. Install the countershaft shims, the countershaft retainer, and the countershaft retainer bolts.
  17. Tighten
    Tighten the countershaft retainer bolts to 20 N·m (15 Ib ft).


    Object Number: 38686  Size: SH
  18. Bend the staking tabs over the four bolts.

  19. Object Number: 38494  Size: SH
  20. Install the reverse shift fork in the case.

  21. Object Number: 38493  Size: SH
  22. Install the mainshaft assembly.

  23. Object Number: 38492  Size: SH
  24. Install the rear mainshaft bearing race.

  25. Object Number: 38491  Size: SH
  26. Install the main drive gear. Engage the 3rd/4th gear synchronizer sleeve and the blocking ring.

  27. Object Number: 409665  Size: SH
  28. Install the bearing race in the input gear bearing retainer. Do not install the shims.


    Object Number: 38689  Size: SH
  29. Install the main drive gear bearing retainer.
  30. Tighten
    Tighten the retainer bolts to 20 N·m (15 lb ft).


    Object Number: 38690  Size: SH
  31. Install the 5th speed driven gear. The friction damper should be keyed onto the shaft.

  32. Object Number: 38693  Size: SH
  33. Install the shift shaft assembly into the case and through the reverse shift fork and lock spring.

  34. Object Number: 4810  Size: SH
  35. Align the marks on the hub and sleeve of the 5th speed gear synchronizer that were made during disassembly.

  36. Object Number: 38587  Size: SH
  37. Assemble the 5th speed gear synchronizer. Install the blocking ring and the 5th speed gear synchronizer in the 5th speed gear shift fork.

  38. Object Number: 38691  Size: SH
  39. Install the shift fork and the 5th speed gear synchronizer assembly.

  40. Object Number: 38482  Size: SH
  41. Install the 5th speed gear synchronizer retainer.
  42. Install a new retainer ring.

  43. Object Number: 38475  Size: SH
  44. Install the oiling funnel into the rear of the countershaft.

  45. Object Number: 38484  Size: SH
  46. Connect the shift lever return spring at the side of the case. Make sure the reverse shift fork pin and the 5th speed gear shift rail pin are engaged with the shift lever.

  47. Object Number: 38697  Size: SH
  48. Apply thread locker GM P/N 12345493 or equivalent to the threads of the 5th speed gear/reverse lever pivot bolt.
  49. Install the 5th speed gear/reverse lever pivot bolt.
  50. Tighten
    Tighten the bolt to 27 N·m (20 Ib ft).


    Object Number: 38479  Size: SH
  51. Install the 5th speed/reverse shift lever retainer clip.

  52. Object Number: 38480  Size: SH
  53. Install the backup lamp switch.
  54. Coat the threads of the backup lamp switch with sealant GM P/N 12346004 or the equivalent.

    Tighten
    Tighten the backup lamp switch to 38 N·m (28 lb ft).


    Object Number: 38487  Size: SH
  55. Install the 5th speed gear retainer ring.

  56. Object Number: 38698  Size: SH
  57. Install the speedometer reluctor wheel and the reluctor wheel retainer ball using the J 6133-A .

  58. Object Number: 409659  Size: SH
  59. Install the speedometer reluctor wheel retainer ring.

  60. Object Number: 38699  Size: SH
  61. Install a new mainshaft retainer ring.

  62. Object Number: 38700  Size: SH
  63. Apply a 3 mm (0.118 in) bead of sealant GM P/N 12345739 or equivalent to the cover assembly.

  64. Object Number: 38478  Size: SH
  65. Install the cover while aligning the shift forks and the synchronizer sleeves.
  66. Position the mainshaft synchronizers in neutral. The mainshaft should rotate freely.

    Position the cover assembly shift forks in neutral (center).

  67. Install the two dowel bolts.
  68. Install the remaining cover bolts.
  69. Tighten
    Tighten the cover bolts to 13 N·m (115 Ib in).


    Object Number: 38701  Size: SH
  70. Apply a 3 mm (0.118 in) bead of sealant GM P/N 12345739 or equivalent to the extension housing sealing surface.

  71. Object Number: 38707  Size: SH
  72. Coat the detent spring with petroleum jelly. Install the detent spring in the offset lever.

  73. Object Number: 38473  Size: SH
  74. Lubricate the detent plate with J 36850 and install the detent ball in the neutral position on the plate. Position the offset lever in the extension housing with the spring over the detent ball.

  75. Object Number: 38708  Size: SH
  76. Slide the lever and the extension housing into position as an assembly. Press downward on the offset lever to compress the detent spring. Push the lever and the housing into position.

  77. Object Number: 38713  Size: SH
  78. Install the extension housing vent and bolt, if removed.

  79. Object Number: 38712  Size: SH
  80. Apply sealant GM P/N 12346004 or equivalent to the threads of the extension housing bolts.
  81. Install the extension housing bolts.
  82. Tighten
    Tighten the bolts to 30 N·m (22 Ib ft).


    Object Number: 38743  Size: SH
  83. Install a new roll pin into the offset lever and the shift shaft.

  84. Object Number: 38714  Size: SH
  85. Install the damper sleeve in the offset lever.

  86. Object Number: 409658  Size: SH
  87. Install the shifter and bolts.
  88. Install the vehicle speed sensor.

  89. Object Number: 38715  Size: SH
  90. Measure the mainshaft end play as follows:
  91. 49.1. Turn the transmission case on end.
    49.2. Install the J 8001 .
    49.3. Rotate the mainshaft and zero the dial indicator.
    49.4. Pull upward on the mainshaft until the end play is removed.
    49.5. Record the measurement.
    49.6. The ideal mainshaft end play is zero (0.00). Plus or minus 0.02 mm (0.001 in) is allowable.
    49.7. Select a shim to obtain allowable tolerance.

    Object Number: 38489  Size: SH
  92. Remove the main drive gear bearing retainer and the front bearing race. Install the necessary shims and reinstall the bearing race.

  93. Object Number: 38716  Size: SH
  94. Apply a 3 mm (0.118 in) diameter bead of sealant GM P/N 12345739 or equivalent to the case mating surface of the main drive gear bearing retainer.

  95. Object Number: 38712  Size: SH
  96. Apply sealant GM P/N 12346004 or the equivalent to the threads of the main drive gear retainer bolts.

  97. Object Number: 38717  Size: SH
  98. Install the main drive gear bearing retainer and bolts.
  99. Tighten
    Tighten the retainer bolts to 20 N·m (15 lb ft).


    Object Number: 38628  Size: SH
  100. Apply sealant GM P/N 12346004 or equivalent to the oil drain plug and the oil fill plug.

  101. Object Number: 38741  Size: SH
  102. Install the oil drain plug.
  103. Tighten
    Tighten the oil drain plug to 27 N·m (20 Ib ft).


    Object Number: 2327  Size: SH

    Notice: Use only DEXRON®-III Automatic Transmission Lubricant for this manual transmission assembly. Other lubricants or additives may damage the blocker ring friction material or the adhesives.

  104. Install new transmission fluid.

  105. Object Number: 38719  Size: SH
  106. Install the oil fill plug.
  107. Tighten
    Tighten the oil fill plug to 27 N·m (20 Ib ft).