GM Service Manual Online
For 1990-2009 cars only

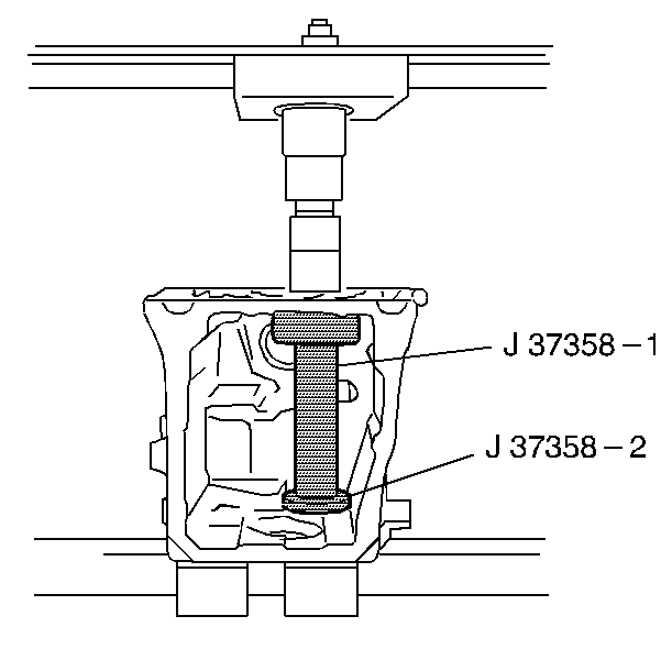
Tools Required

    • J 8092 Driver Handle
    • J 22912-01 Bearing Puller
    • J 37358-1/J 37358-2 Bearing Race Receiver and Support
    • J 35359 Countershaft Bearing Remover

    Object Number: 38661  Size: SH

    Notice: Support the transmission case properly while removing the bearing race. the transmission case will be permanently distorted if it is not supported properly.

  1. Remove the front countershaft bearing race and the O-ring from the transmission case, using the J 37358-1/J 37358-2 and a hydraulic press. (Only if the bearing race is worn or damaged.)

  2. Object Number: 38664  Size: SH
  3. Remove the countershaft front bearing, using the J 35359 , the J 22912-01 , the J 8092 , and a hydraulic press.