GM Service Manual Online
For 1990-2009 cars only
Makes
🢒
Chevrolet
🢒
2000
🢒
Camaro
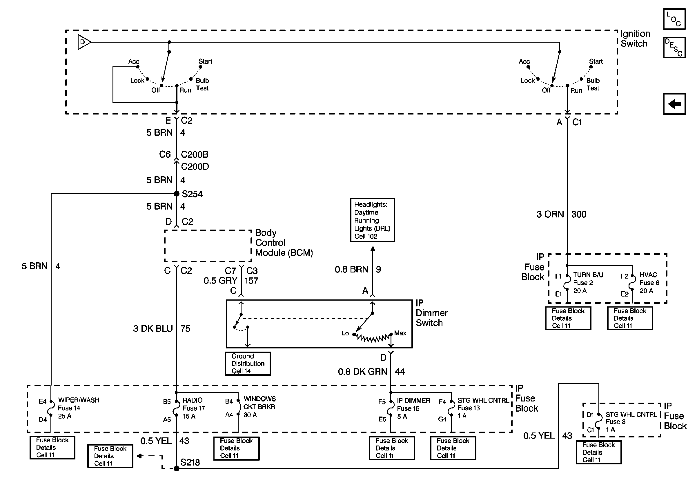
🢒 Ignition Switch and IP Fuse Block
Ignition Switch and IP Fuse Block
Ignition Switch and IP Fuse Block
Power and Grounding Components
Ignition Switch and Underhood Electrical Center 2
Ignition Switch and Underhood Electrical Center 2
I/P Fuses 3, 14, 17 and Circuit Breaker 15
I/P Fuses 1, 2, 5 and 6
I/P Fuses 1, 2, 5 and 6
I/P Fuses 3, 14, 17 and Circuit Breaker 15
I/P Fuses 3, 14, 17 and Circuit Breaker 15
I/P Fuses 13 and 16
I/P Fuses 13 and 16
I/P Fuses 3, 14, 17 and Circuit Breaker 15