GM Service Manual Online
For 1990-2009 cars only
Makes
🢒
Chevrolet
🢒
2000
🢒
Camaro
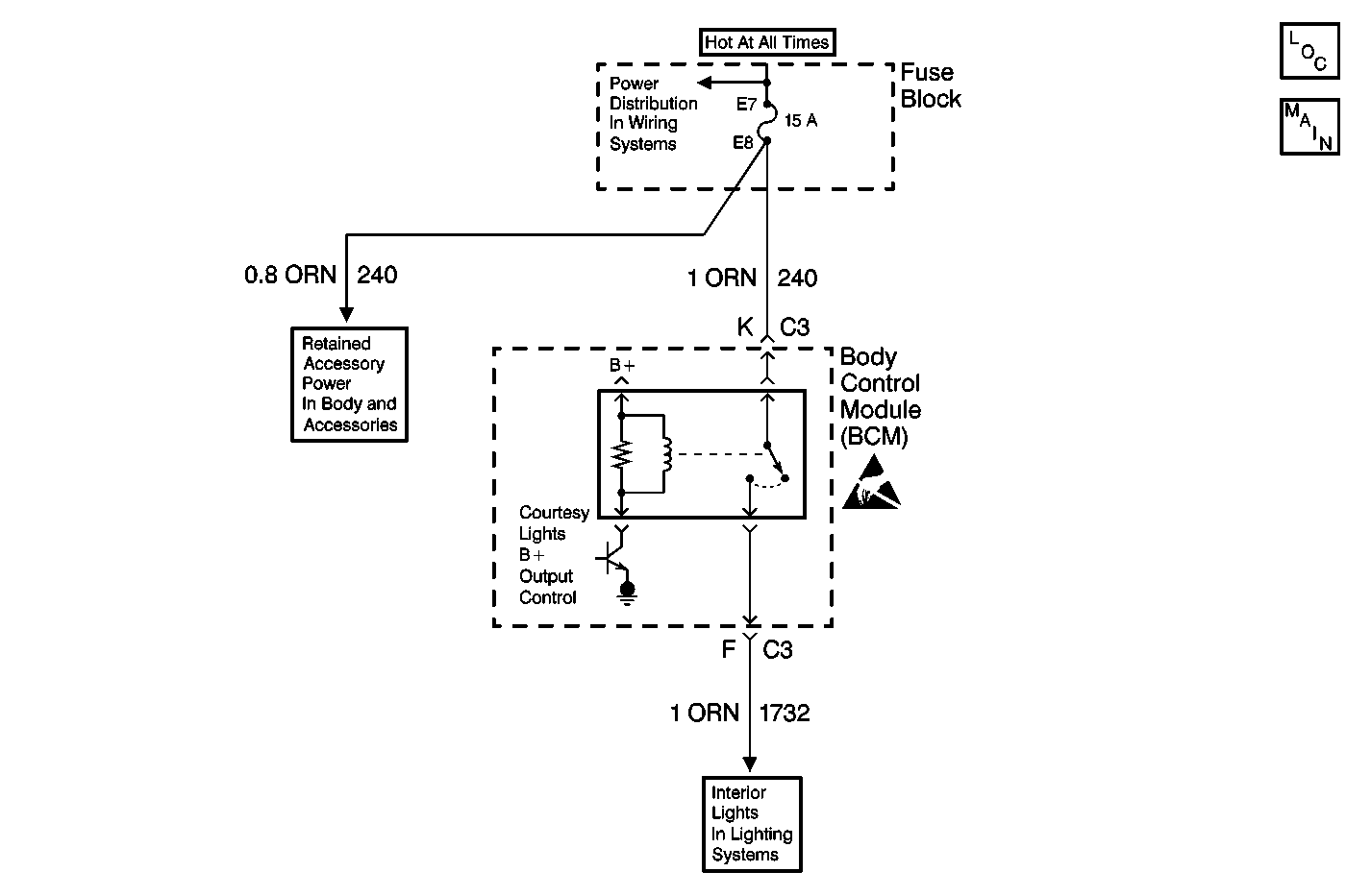
🢒 99 wb china bcm thumbnail courtesy lights feed
99 wb china bcm thumbnail courtesy lights feed