GM Service Manual Online
For 1990-2009 cars only

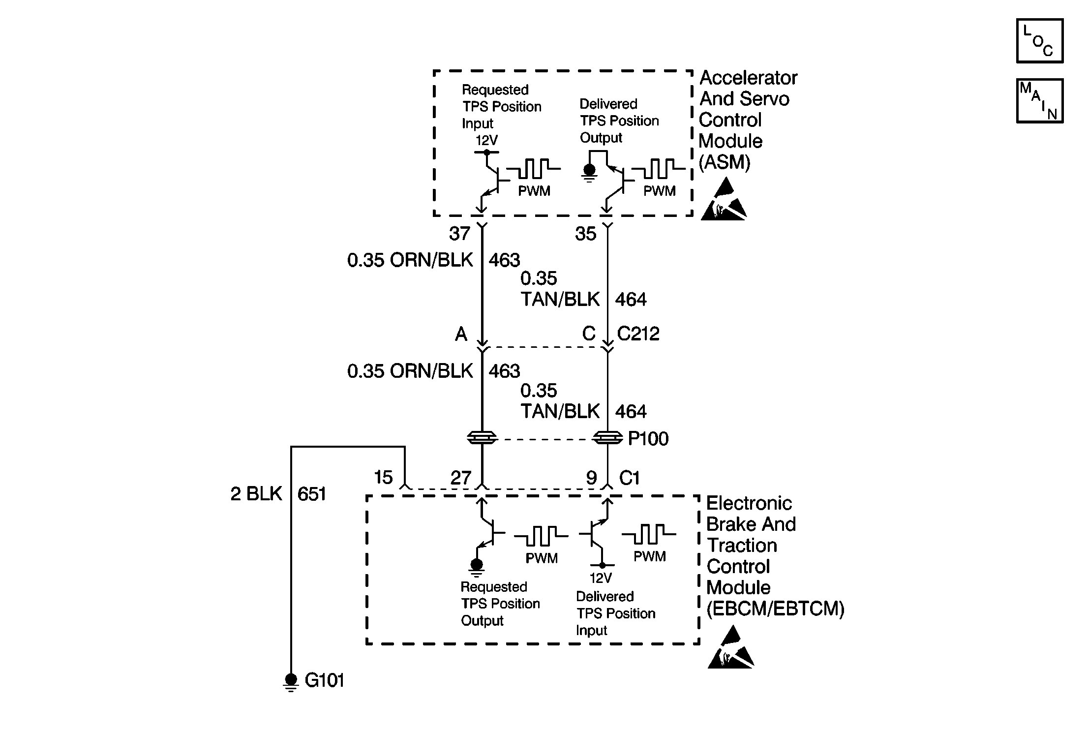
Object Number: 213300  Size: MF
ABS Components
Antilock Brake System Schematics
Handling ESD Sensitive Parts Notice
Handling ESD Sensitive Parts Notice

Circuit Description

This circuit monitors the Delivered Trottle Position Input for proper operation.

Conditions for Setting the DTC

DTC C0266 can set anytime the ignition is in the RUN position and the EBCM does not recieve a Delivered Throttle Position Input.

Action Taken When the DTC Sets

    • The TCS is disabled
    • The traction control indicator is turned on

Conditions for Clearing the DTC

    • The condition for the DTC is no longer present and the scan tool clear DTC function is used
    • 100 ignition cycles have passed with no DTCs detected

Diagnostic Aids

    • Thoroughly inspect the wiring and the connectors. Failure to carefully and fully inspect the wiring and the connectors can result in misdiagnosis. Misdiagnosis may cause replacement of parts without repairing the malfunction.
    • If an intermittent malfunction exists, refer to Inducing Intermittent Fault Conditions in Electrical Diagnosis.

Test Description

The numbers below refer to the step numbers on the diagnostic table.

  1. This step checks for a good ground.

  2. This step checks for proper voltage.

DTC C0266 ADS Controller Malfunction

Step

Action

Value(s)

Yes

No

1

Was the Diagnostic System Check performed?

--

Go to Step 2

Go to Diagnostic System Check - ABS

2

  1. Turn the ignition switch to the OFF position.
  2. Disconnect the ASM harness connector.
  3. Inspect the ASM harness connector and the connector for damage or corrosion.

Is there any evidence of damage or corrosion?

--

Go to Step 7

Go to Step 3

3

Using the J 39200 DMM, measure the resistance between the ASM harness connector terminal 28 and a good ground.

Is the resistance within specifications?

0-5 ohms

Go to Step 4

Go to Step 8

4

Using the J 39200 DMM, measure the resistance between the ASM harness connector terminal 55 and a good ground.

s the resistance within specifications?

0-5 ohms

Go to Step 5

Go to Step 8

5

  1. Turn the ignition switch to the RUN position with the engine off.
  2. Measure the voltage between the ASM harness connector terminals 1 and 28.

Is the voltage within specifications?

B+

Go to Step 10

Go to Step 6

6

Repair CKT 739 for an open or high resistance. Refer to Wiring Repairs .

Is the circuit repair complete?

--

Go to Diagnostic System Check - ABS

--

7

Repair as necessary.

Are the repairs complete?

--

Go to Diagnostic System Check - ABS

--

8

Repair the open or high resistance in CKT 151. Refer to Wiring Repairs .

Is the circuit repair complete?

--

Go to Diagnostic System Check - ABS

--

9

Replace the ASM. Refer to Accelerator and Servo Control Module Replacement .

Is the replacement complete?

--

Go to Diagnostic System Check - ABS

--

10

  1. Turn the ignition switch to the OFF position.
  2. Disconnect the EBCM connector C1.
  3. Install the J 39700 Universal Pinout Box using the J39700-530 cable adapter to the EBCM harness connector C1 only.
  4. Using J 39200 DMM, measure the resistance between terminals 9 and 15 of J 39700 .

Is the resistance within the range specified in the value(s) column?

OL (infinite)

Go to Step 12

Go to Step 11

11

Repair CKT 464 for a short to ground. Refer to Wiring Repairs .

Is the circuit repair complete?

--

Go to Diagnostic System Check - ABS

--

12

Using J 39200 DMM, measure the resistance between terminal 9 of J 39700 and terminal 35 of the ASM harness connector.

Is the resistance within the range specified in the value(s) column?

0-5ohms

Go to Step 14

Go to Step 13

13

Repair the open or high resistance in CKT 464. Refer to Wiring Repairs .

Is the circuit repair complete?

--

Go to Diagnostic System Check - ABS

--

14

  1. Turn the ignition switch to the RUN position, engine off.
  2. Using J 39200 DMM, measure the voltage at terminal 9 of J 39700 .

Is the voltage within the range specified in the value(s) column?

Above 1V

Go to Step 15

Go to Step 9

15

Repair CKT 464 for a short to voltage Wiring Repairs .

Is the circuit repair complete?

--

Go to Diagnostic System Check - ABS

--